LEMON Manuals: Even more car manuals for everyone: 1960-2025
Home >> Mitsubishi >> 1992 >> Expo SP, AWD, Automatic >> Repair and Diagnosis >> Engine Performance >> System >> Engine Controls - Tests W/Codes >> Code Charts >> Dr-7A: Code 21, Testing Engine Coolant Temp Sensor
April 5, 2026: LEMON Manuals is launched! Read the announcement.

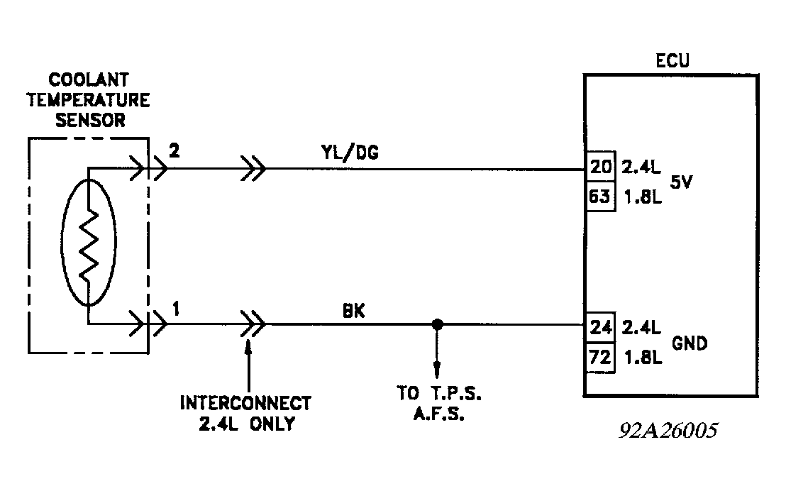
Dr-7A: Code 21, Testing Engine Coolant Temp Sensor

Fig 1: Test DR-7A Schematic - Code 21 Testing Engine Coolant Temperature Sensor
G92A26005
Fig 2: Test DR-7A Flow Chart - Code 21 (1 Of 2) Testing Engine Coolant Temperature Sensor
G92B26006
Fig 3: Test DR-7A Flow Chart - Code 21 (2 Of 2) Testing Engine Coolant Temperature Sensor
G92C26007