LEMON Manuals: Even more car manuals for everyone: 1960-2025
Home >> Mitsubishi >> 1992 >> Mirage Base, 2D Hatchback, Automatic >> Repair and Diagnosis >> Engine Performance >> System >> Engine Controls - Tests W/Codes >> Code Charts >> Dr-12: Testing Injector Circuit
April 5, 2026: LEMON Manuals is launched! Read the announcement.

Dr-12: Testing Injector Circuit

Fig 1: DR-12 Test Schematic - 1.5L Testing Injector Circuit
G90G15384
Fig 2: DR-12 Test Flow Chart - 1.5L (1 Of 2) Testing Injector Circuit
G91A17251
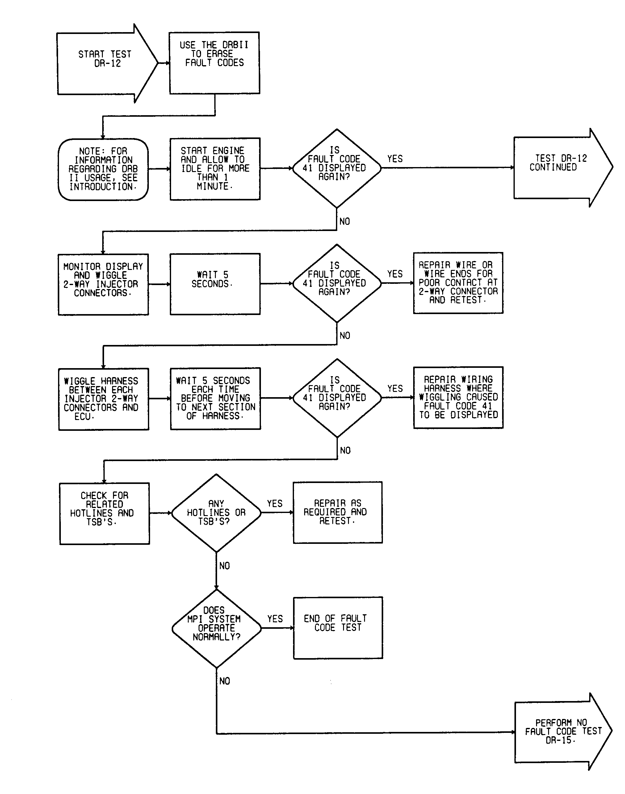
Fig 3: DR-12 Test Flow Chart - 1.5L (2 Of 2) Testing Injector Circuit
G91B17252