LEMON Manuals: Even more car manuals for everyone: 1960-2025
Home >> Mitsubishi >> 1992 >> Montero Base, Standard >> Repair and Diagnosis >> Engine Performance >> System >> Engine Controls - Tests W/Codes >> Code Charts - 2.4L >> NS-4: Checking Control Relay Circuit
April 5, 2026: LEMON Manuals is launched! Read the announcement.

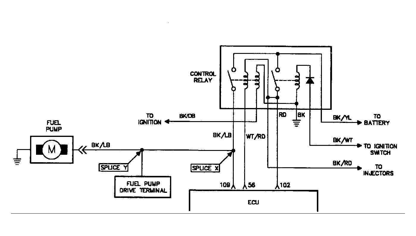
NS-4: Checking Control Relay Circuit

Fig 1: Test NS-4 Test Schematic - 2.4L Checking Control Relay Circuit
G90H19981
Fig 2: Test NS-4 Test Flow Chart - 2.4L Checking Control Relay Circuit
G90A20016