LEMON Manuals: Even more car manuals for everyone: 1960-2025
Home >> Mitsubishi >> 1992 >> Montero Base, Standard >> Repair and Diagnosis >> Engine Performance >> System >> Engine Controls - Tests W/Codes >> Code Charts - 3.0L >> NS-6: Testing Control Relay Circuit
April 5, 2026: LEMON Manuals is launched! Read the announcement.

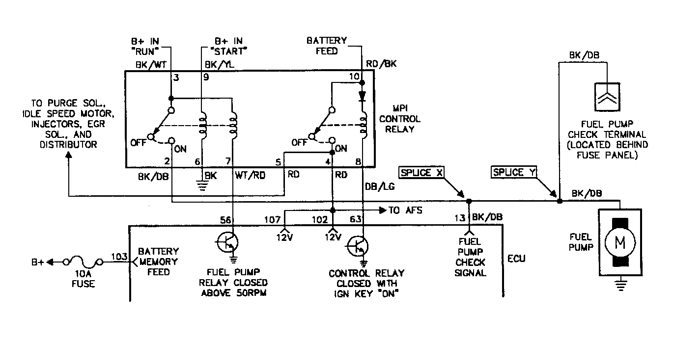
NS-6: Testing Control Relay Circuit

Fig 1: NS-6 Test Schematic - 3.0L Testing Control Relay Circuit
G90H20070
Fig 2: NS-6 Test Flow Chart - 3.0L (1 of 2) Testing Control Relay Circuit
G90E20101
Fig 3: NS-6 Test Flow Chart - 3.0L (2 of 2) Testing Control Relay Circuit
G90F20102