LEMON Manuals: Even more car manuals for everyone: 1960-2025
Home >> Mitsubishi >> 1996 >> Eclipse Base, Standard >> Repair and Diagnosis >> External Pages >> Different car >> Section 28 (Cruise Control System) >> Connector Identification
April 5, 2026: LEMON Manuals is launched! Read the announcement.

Connector Identification

WARNING: This page is about a different car, the 1995 Eagle Vision, 1995 Dodge Intrepid, and 1995 Chrysler Concorde. However, it is still accessible from the selected car via links, so may be relevant.
CONNECTOR IDENTIFICATION

Connector See Fig.
Brakelight Switch Fig 1
Clockspring Fig 2
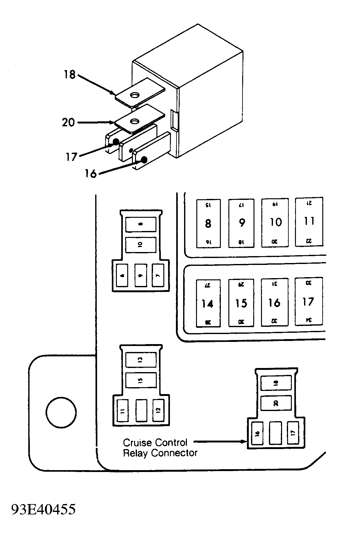
Cruise Control Relay Fig 3
Cruise Control Servo Fig 4
Cruise Control Switches Fig 5
Data Link Connector Fig 6
Manual Valve Lever Position Switch (MVLPS) Fig 7
Powertrain Control Module (PCM) Fig 8
Fig 1: Identifying Brakelight Switch Connector Terminals
G95H14487Courtesy of CHRYSLER CORP.
Fig 2: Identifying Clockspring Connector Terminals
G93D40454Courtesy of CHRYSLER CORP.
Fig 3: Identifying Cruise Control Relay Connector Terminals
G93E40455Courtesy of CHRYSLER CORP.
Fig 4: Identifying Cruise Control Servo Connector Terminals
G93F40456Courtesy of CHRYSLER CORP.
Fig 5: Identifying Cruise Control Switches Connector Terminals
G93G40457Courtesy of CHRYSLER CORP.
Fig 6: Identifying Data Link Connector Terminals
G93H40458Courtesy of CHRYSLER CORP.
Fig 7: Manual Valve Lever Position Sw. (MVLPS) Connector Terminal ID
G93I40459Courtesy of CHRYSLER CORP.
Fig 8: Powertrain Control Module (PCM) Connector Terminal ID
G93B40460Courtesy of CHRYSLER CORP.