LEMON Manuals: Even more car manuals for everyone: 1960-2025
Home >> Mitsubishi >> 2000 >> FG639 L4-3.9L DSL Turbo >> Repair and Diagnosis >> Powertrain Management >> Computers and Control Systems >> Accelerator Pedal Position Sensor >> Service and Repair
April 5, 2026: LEMON Manuals is launched! Read the announcement.

Accelerator Pedal Position Sensor: Service and Repair

Service procedure







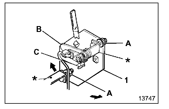
[1] Installation of accelerator sensor
- Install accelerator sensor 1 onto support assembly * and fasten temporarily with nut A.
- Adjust accelerator sensor 1 by moving it so lever B comes into contact with idling stopper C during idling operation.
- Tighten nut A after adjustment.







[11] Installation of accelerator switch
- Screw in accelerator switch 11 and fasten with nut 12 in such a way that the clearance between the accelerator switch and support assembly * is set to the standard value.
- Inspect and adjust the exhaust brake system.