LEMON Manuals: Even more car manuals for everyone: 1960-2025
Home >> Mitsubishi >> 2001 >> Eclipse RS, Standard >> Repair and Diagnosis >> Transmission >> Manual Trans >> Overhaul >> Control Housing >> Disassembly And Assembly >> Assembly Service Points >> >> F << Lock Pin Installation
April 5, 2026: LEMON Manuals is launched! Read the announcement.

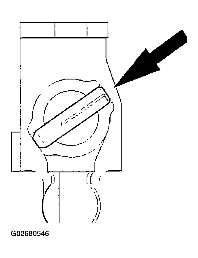
>> F << Lock Pin Installation

Drive the lock pin in from the direction shown in the figure.

Fig 1: Installing Lock Pin
G02680546