LEMON Manuals: Even more car manuals for everyone: 1960-2025
Home >> Mitsubishi >> 2002 >> Eclipse GT, Automatic >> Repair and Diagnosis >> Engine Performance >> System >> Engine Controls - System & Component Testing >> Emission Systems & Sub-Systems >> Exhaust Gas RECIRCULATION (EGR) >> EGR Solenoid
April 5, 2026: LEMON Manuals is launched! Read the announcement.

EGR Solenoid

  1. Disconnect EGR solenoid electrical connector. Check resistance between EGR solenoid terminals. See EGR SOLENOID RESISTANCE  table. If resistance is not as specified, replace EGR solenoid. If resistance is as specified, go to next step.
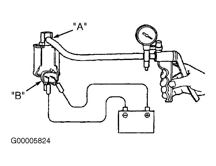
  2. Label and disconnect vacuum hoses from EGR solenoid. Connect hand vacuum pump to EGR solenoid port "A". See Fig 1. Apply vacuum. Vacuum should leak. Using battery voltage and ground, energize EGR solenoid. Apply vacuum. Vacuum should hold.
EGR SOLENOID RESISTANCE

Application (1) Ohms
Diamante & Mirage 36-44
Eclipse, Galant & Lancer 29-35
Montero & Montero Sport 30-34
(1) Measure resistance at 68°F (20°C).
Fig 1: Testing EGR Solenoid (Typical)
G00005824Courtesy of MITSUBISHI MOTOR SALES OF AMERICA.