LEMON Manuals: Even more car manuals for everyone: 1960-2025
Home >> Mitsubishi >> 2002 >> Lancer ES, Automatic >> Repair and Diagnosis >> Engine Performance >> System >> Engine Controls - Self-Diagnostics >> Verifying Repairs >> OBD-II Drive Cycles >> EVAP System Leak Monitor
April 5, 2026: LEMON Manuals is launched! Read the announcement.

EVAP System Leak Monitor

This monitor applies to DTCs P0441, P0442, P0451, P0452, P0455 and P0456. Following conditions must be met during the test:

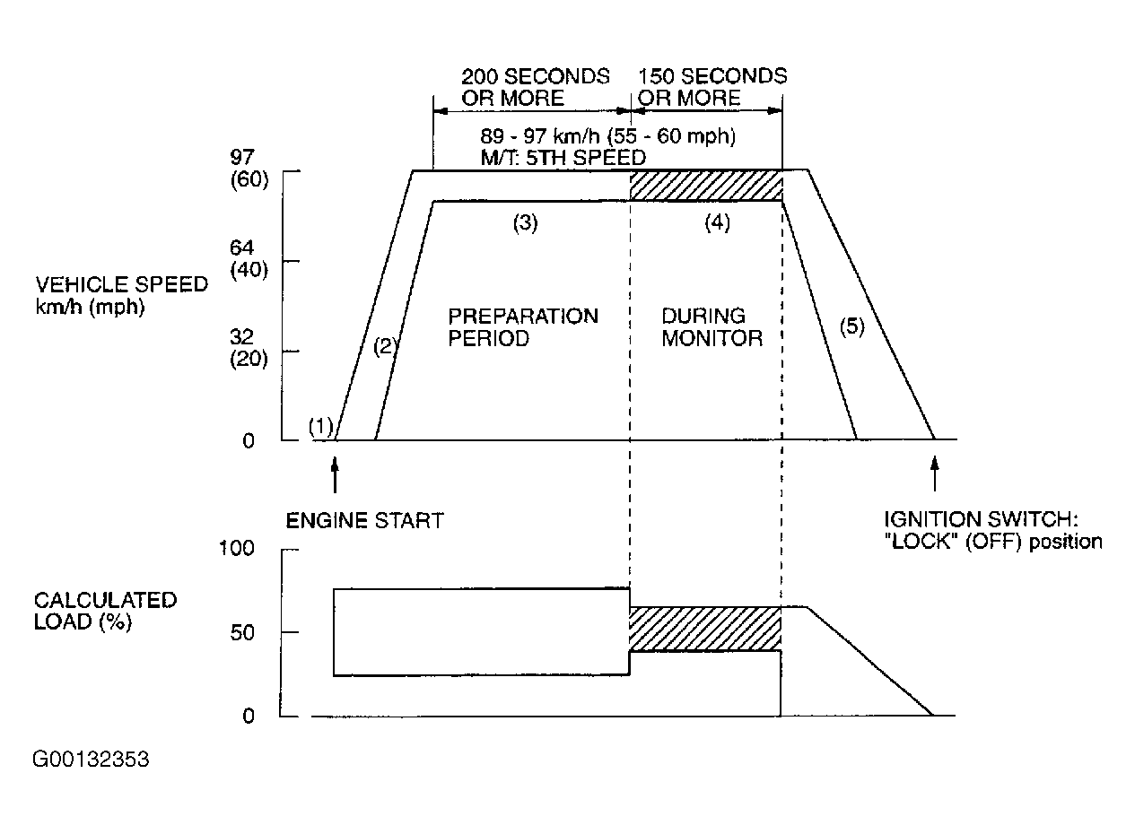
Monitor takes about 8 minutes to complete. To run monitor, use illustration. See Fig 1 . Perform steps as follows:

  1. Remove all test equipment from vehicle and install all components and connectors that were removed or disconnected during testing.
  2. Start engine.
  3. Accelerate vehicle to 55-60 MPH.
  4. Travel for 200 seconds or more while keeping speed at 55-60 MPH. Use 5th gear on M/T.
  5. While keeping accelerator pedal position constant, keep vehicle speed at 55-60 MPH for 150 seconds or more (this is when monitor runs).
  6. Return vehicle to shop and turn ignition off.
  7. Recheck for DTC(s). If any DTC(s) is set, diagnose affected DTC(s). See DIAGNOSTIC TROUBLE CODE DEFINITIONS  .

Fig 1: Running EVAP System Leak Monitor
G00132353Courtesy of MITSUBISHI MOTOR SALES OF AMERICA.