LEMON Manuals: Even more car manuals for everyone: 1960-2025
Home >> Mitsubishi >> 2002 >> Lancer ES, Standard >> Repair and Diagnosis >> Engine Performance >> System >> Engine Controls - Self-Diagnostics >> Verifying Repairs >> OBD-II Drive Cycles >> Fuel Trim Monitor
April 5, 2026: LEMON Manuals is launched! Read the announcement.

Fuel Trim Monitor

This monitor applies to DTCs P0171 and P0172. Following conditions must be met during the test:

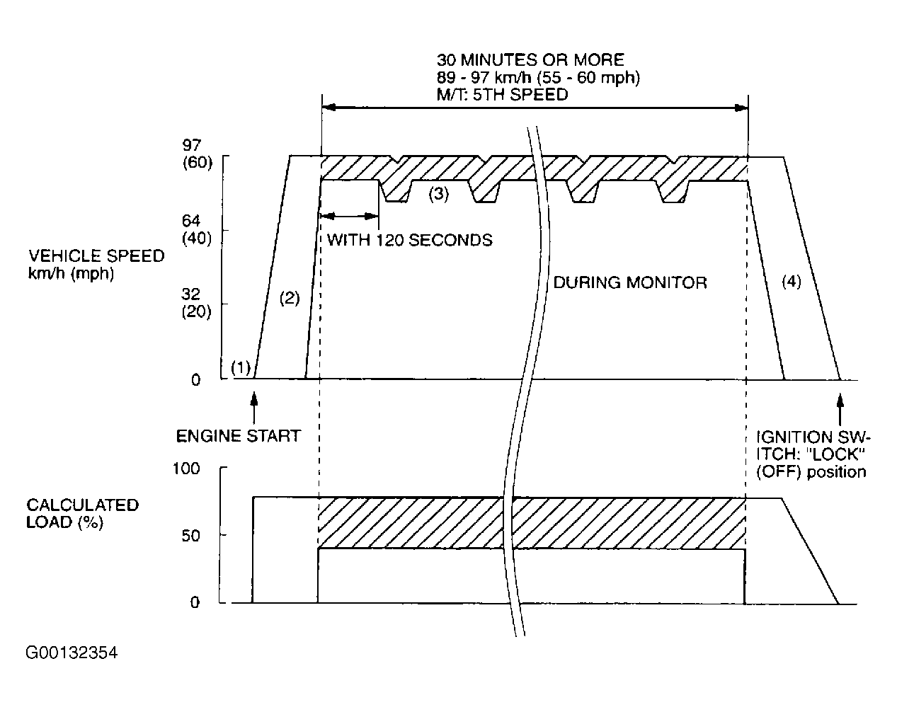
Monitor takes about 35 minutes to complete. To run monitor, use illustration. See Fig 1 . Perform steps as follows:

  1. Remove all test equipment from vehicle and install all components and connectors that were removed or disconnected during testing.
  2. Warm engine to normal operating temperature. Turn ignition off.
  3. Start engine and accelerate vehicle to 55-60 MPH. Use 5th gear on M/T.
  4. Drive at 55-60 MPH for 30 minutes or more. During this period DO NOT drive at constant speed for more than 120 seconds. Carry out gradual deceleration and acceleration within every 120 second time frame. Depressing brake pedal is okay, but avoid abrupt braking.
  5. Return vehicle to shop and turn ignition off. Recheck for DTC(s). If any DTC(s) is set, diagnose affected DTC(s). See DIAGNOSTIC TROUBLE CODE DEFINITIONS  .

Fig 1: Running Fuel Trim Monitor
G00132354Courtesy of MITSUBISHI MOTOR SALES OF AMERICA.