LEMON Manuals: Even more car manuals for everyone: 1960-2025
Home >> Mitsubishi >> 2002 >> Lancer ES, Standard >> Repair and Diagnosis >> Engine Performance >> System >> Engine Controls - Self-Diagnostics >> Verifying Repairs >> OBD-II Drive Cycles >> Other Monitor
April 5, 2026: LEMON Manuals is launched! Read the announcement.

Other Monitor

This monitor applies to DTCs not covered by the rest of the monitors. Following conditions must be met during the test:

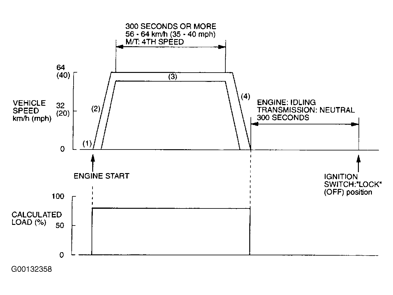
Monitor takes about 10 minutes to complete. To run monitor, use illustration. See Fig 1 . Perform steps as follows:

  1. Remove all test equipment from vehicle and install all components and connectors that were removed or disconnected during testing.
  2. After engine is completely warmed up, turn ignition off.
  3. Start engine and quickly accelerate vehicle to 35-40 MPH and travel for 300 seconds or more. Use 4th gear on M/T.
  4. Return vehicle to shop and let idle. While engine is idling, A/C switch must be in OFF position, lights and accessories must be off, steering wheel must be in straight-ahead position, and transmission in Neutral. After idling for 5 minutes, turn ignition off.
  5. Recheck for DTC(s). If any DTC(s) is set, diagnose affected DTC(s). See DIAGNOSTIC TROUBLE CODE DEFINITIONS  .

Fig 1: Running Other Monitor
G00132358Courtesy of MITSUBISHI MOTOR SALES OF AMERICA.