LEMON Manuals: Even more car manuals for everyone: 1960-2025
Home >> Mitsubishi >> 2003 >> Lancer ES, Automatic >> Repair and Diagnosis >> Transmission >> Automatic Trans >> Diagnostic Trouble Code Procedures - Except Evolution >> DTC >> DTC 23: Output Shaft Speed Sensor System >> Diagnosis
April 5, 2026: LEMON Manuals is launched! Read the announcement.

DTC 23: Output Shaft Speed Sensor System: Diagnosis

Required Special Tool: 

  1. MB991502: Scan Tool (MUT-II)
  1. STEP 1. Using scan tool MB991502, check data list item 23: Output Shaft Speed Sensor. 
    CAUTION: To prevent damage to scan tool MB991502, always turn the ignition switch to the "LOCK" (OFF) position before connecting or disconnecting scan tool MB991502.
    1. Connect scan tool MB991502 to the data link connector.
    2. Fig 1: Connecting Scan Tool To Data Link Connector
      G01876351Courtesy of MITSUBISHI MOTOR SALES OF AMERICA.
    3. Start the engine.
    4. Set scan tool MB991502 to the data reading mode for item 23, Output Shaft Speed Sensor.
      • When driving at a constant speed of 50km/h (31mph), the display should be "1,600 - 1,900 r/min." (Gear range: 3rd gear)
    5. Turn the ignition switch to the "LOCK" (OFF) position.

    Q: Is the sensor within the specified range? 

    1. YES:  It can be assumed that this malfunction is intermittent.
    2. NO:  Go to Step 2.
  2. STEP 2. Measure the power supply voltage at the output shaft speed sensor connector B-109. 
    1. Disconnect connector B-109 and measure at the harness side.
      Fig 2: Disconnecting Connector B-109
      G01876352Courtesy of MITSUBISHI MOTOR SALES OF AMERICA.
    2. Turn the ignition switch to the "ON" position.
    3. Measure the voltage between terminal 3 and ground.
      • The voltage should measure battery positive voltage.
      Fig 3: Measuring Voltage Between Terminal 3 & Ground
      G01876353Courtesy of MITSUBISHI MOTOR SALES OF AMERICA.
    4. Turn the ignition switch to the "LOCK" (OFF) position.

    Q: Is the measured voltage battery positive voltage? 

    1. YES:  Go to  Step 5 .
    2. NO:  Go to Step 3.
  3. STEP 3. Check intermediate connector C-123 and junction block connector C-210 for loose, corroded or damaged terminals, or terminals pushed back in the connector. 
    Fig 4: Checking Intermediate Connector C-123
    G01876354Courtesy of MITSUBISHI MOTOR SALES OF AMERICA.
    Fig 5: Checking Junction block Connector C-210
    G01876355Courtesy of MITSUBISHI MOTOR SALES OF AMERICA.

    Q: Are the connectors and terminals in good condition? 

    1. YES:  Go to Step 4.
    2. NO:  Repair or replace the damaged components.
  4. STEP 4. Check the harness for open circuit or short circuit to ground between the output shaft speed sensor connector B-109 terminal 3 and the junction block connector C-210 terminal 12. 
    Fig 6: Checking Output Shaft Speed Sensor Connector B-109 For Open Or Short Circuit To Ground
    G01876356Courtesy of MITSUBISHI MOTOR SALES OF AMERICA.
    Fig 7: Checking Junction Block Connector C-210 For Open Or Short Circuit To Ground
    G01876357Courtesy of MITSUBISHI MOTOR SALES OF AMERICA.

    Q: Is the harness wire in good condition? 

    1. YES:  Go to Step 5.
    2. NO:  Repair or replace the harness wire.
  5. STEP 5. Measure the PCM to speed sensor output voltage at the output shaft speed sensor connector B-109. 
    1. Disconnect connector B-109 from the speed sensor and measure voltage at the harness side.
    2. Fig 8: Disconnecting B-109 From Speed Sensor
      G01876358Courtesy of MITSUBISHI MOTOR SALES OF AMERICA.
    3. Turn the ignition switch to the "ON" position.
    4. Measure the voltage between terminal 2 and ground.
      • The voltage should measure between 4.5 and 4.9 volts.
      Fig 9: Measuring Voltage Between Terminal & Ground
      G01876359Courtesy of MITSUBISHI MOTOR SALES OF AMERICA.
    5. Turn the ignition switch to the "LOCK" (OFF) position.

    Q: Is the measured voltage between 4.5 and 4.9 volts? 

    1. YES:  Go to  Step 11 .
    2. NO:  Go to Step 6.
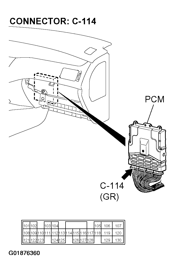
  6. STEP 6. Measure the PCM output voltage to the speed sensor at the PCM connector C-114 by backprobing. 
    Fig 10: Measuring PCM Output Voltage To Speed Sensor At PCM Connector C-114
    G01876360Courtesy of MITSUBISHI MOTOR SALES OF AMERICA.
    1. Do not disconnect connector C-114.
    2. Disconnect connector B-109 at the output shaft speed sensor.
    3. Turn the ignition switch to the "ON" position.
    4. Measure the voltage between PCM terminal 104 and ground by backprobing.
      • The voltage should measure between 4.5 and 4.9 volts.
      Fig 11: Measuring Voltage Between PCM Terminal 104 & Ground
      G01876361Courtesy of MITSUBISHI MOTOR SALES OF AMERICA.
    5. Turn the ignition switch to the "LOCK" (OFF) position.

    Q: Is the measured voltage between 4.5 and 4.9 volts? 

    1. YES:  Go to Step 7.
    2. NO:  Go to  Step 9 .
  7. STEP 7. Check output shaft speed sensor connector B-109 and PCM connector C-114 for loose, corroded or damaged terminals, or terminals pushed back in the connector. 
    Fig 12: Checking Output Shaft Speed Sensor Connector B-109
    G01876362Courtesy of MITSUBISHI MOTOR SALES OF AMERICA.
    Fig 13: Checking PCM Connector C-114
    G01876363Courtesy of MITSUBISHI MOTOR SALES OF AMERICA.

    Q: Are the connectors in good condition? 

    1. YES:  Go to Step 8.
    2. NO:  Repair or replace the damaged components.
  8. STEP 8. Check the harness for open circuit or damage between output shaft speed sensor connector B-109 terminal 2 and PCM connector C-114 terminal 104. 
    Fig 14: Checking Output Shaft Speed Sensor Connector B-109 For Open Circuit Or Damage
    G01876364Courtesy of MITSUBISHI MOTOR SALES OF AMERICA.
    Fig 15: Checking PCM Connector C-114 For Open Circuit Or Damage
    G01876365Courtesy of MITSUBISHI MOTOR SALES OF AMERICA.

    Q: Is the harness wire in good condition? 

    1. YES:  Go to  Step 19 .
    2. NO:  Repair or replace the harness wire.
  9. STEP 9. Check output shaft speed sensor connector B-109 and PCM connector C-114 for loose, corroded or damaged terminals, or terminals pushed back in the connector. 
    Fig 16: Checking Output Shaft Speed Sensor Connector B-109
    G01876366Courtesy of MITSUBISHI MOTOR SALES OF AMERICA.
    Fig 17: Checking PCM Connector C-114
    G01876367Courtesy of MITSUBISHI MOTOR SALES OF AMERICA.

    Q: Are the connectors and terminals in good condition? 

    1. YES:  Go to Step 10.
    2. NO:  Repair or replace the damages components.
  10. STEP 10. Check the harness for short circuit to ground between output shaft speed sensor connector B-109 terminal 2 and PCM connector C-114 terminal 104. 
    Fig 18: Checking Output Shaft Speed Sensor Connector B-109 For Short Circuit To Ground
    G01876368Courtesy of MITSUBISHI MOTOR SALES OF AMERICA.
    Fig 19: Checking PCM Connector C-114 For Short Circuit To Ground
    G01876369Courtesy of MITSUBISHI MOTOR SALES OF AMERICA.

    Q: Is the harness wire in good condition? 

    1. YES:  Go to Step 11.
    2. NO:  Repair or replace the harness wire.
  11. STEP 11. Measure the ground circuit for resistance at the output shaft speed sensor connector B-109. 
    1. Disconnect connector B-109 from the speed sensor and measure at the harness side.
      Fig 20: Disconnecting Connector B-109 From Speed Sensor
      G01876370Courtesy of MITSUBISHI MOTOR SALES OF AMERICA.
    2. Measure the resistance between terminal 1 and ground.
      • The resistance should measure less than 2 ohms.
      Fig 21: Measuring Resistance Between Terminal 1 & Ground
      G01876371Courtesy of MITSUBISHI MOTOR SALES OF AMERICA.

    Q: Is the measured resistance less than 2 ohms? 

    1. YES:  Go to  Step 16 .
    2. NO:  Go to Step 12.
  12. STEP 12. Measure the resistance at the PCM connector C-120 by backprobing. 
    Fig 22: Measuring Resistance At PCM Connector C-120
    G01876372Courtesy of MITSUBISHI MOTOR SALES OF AMERICA.
    1. Do not disconnect connector C-120.
    2. Turn the ignition switch to the "ON" position.
    3. Measure the resistance between terminal 16 and ground by backprobing.
      • The resistance should measure less than 2 ohms.
      Fig 23: Measuring Resistance Between Terminal 16 & Ground
      G01876373Courtesy of MITSUBISHI MOTOR SALES OF AMERICA.
    4. Turn the ignition switch to the "LOCK" (OFF) position.

    Q: Is the measured resistance less than 2 ohms? 

    1. YES:  Go to Step 13.
    2. NO:  Go to  Step 15 .
  13. STEP 13. Check output shaft speed sensor connector B-109 and PCM connector C-120 for loose, corroded or damaged terminals, or terminals pushed back in the connector. 
    Fig 24: Checking Output Shaft Speed Sensor Connector B-109
    G01876374Courtesy of MITSUBISHI MOTOR SALES OF AMERICA.
    Fig 25: Checking PCM Connector C-120
    G01876375Courtesy of MITSUBISHI MOTOR SALES OF AMERICA.

    Q: Are the connectors and terminals in good condition? 

    1. YES:  Go to Step 14.
    2. NO:  Repair or replace the damaged components.
  14. STEP 14. Check the harness for open circuit or damage between output shaft speed sensor harness side connector B-109 terminal 1 and PCM connector C-120 terminal 16. 
    Fig 26: Checking Output Shaft Speed Sensor Harness Side Connector B-109 For Open Circuit Or Damage
    G01876376Courtesy of MITSUBISHI MOTOR SALES OF AMERICA.
    Fig 27: Checking PCM Connector C-120 For Open Circuit Or Damage
    G01876377Courtesy of MITSUBISHI MOTOR SALES OF AMERICA.

    Q: Is the harness wire in good condition? 

    1. YES:  Go to  Step 16 .
    2. NO:  Repair or replace the harness wire.
  15. STEP 15. Check PCM connector C-120 for loose, corroded or damaged terminals, or terminals pushed back in the connector. 
    Fig 28: Checking PCM Connector C-120
    G01876378Courtesy of MITSUBISHI MOTOR SALES OF AMERICA.

    Q: Are the connector and terminals in good condition? 

    1. YES:  Replace the PCM.
    2. NO:  Repair or replace the damaged components.
  16. STEP 16. Using the oscilloscope, check the output shaft speed sensor waveform at PCM connectors C-120 and C-114 by backprobing. 
    1. Do not disconnect connectors C-120 and C-114.
      Fig 29: Identifying Connectors C-120 & C-114
      G01876379Courtesy of MITSUBISHI MOTOR SALES OF AMERICA.
    2. Connect an oscilloscope probe to PCM connector C-120 terminal 16 and to PCM connector C-114 terminal 104 by backprobing.
      Fig 30: Connecting Oscilloscope Probe to PCM Connector C-120 & C-114
      G01876380Courtesy of MITSUBISHI MOTOR SALES OF AMERICA.
    3. Start the engine and drive the vehicle at constant speed of 50 km/h (31 mph). (Gear range: 3rd gear)
    4. Check the output shaft speed sensor waveform.
      • The output shaft speed sensor waveform should show a pattern similar to the illustration. The maximum value should be 4.8 volts and more and the minimum value 0.8 volt and less. The output waveform should not contain electrical noise.
      Fig 31: Checking Output Shaft Speed Sensor Waveform
      G01876381Courtesy of MITSUBISHI MOTOR SALES OF AMERICA.
    5. Turn the ignition switch to the "LOCK" (OFF) position.

    Q: Is the waveform normal? 

    1. YES:  Go to  Step 19 .
    2. NO:  Go to Step 17.
  17. STEP 17. Replace the output shaft speed sensor. 
    1. Replace the output shaft speed sensor. Refer to TRANSAXLE .
      Fig 32: Replacing Output Shaft Speed Sensor
      G01876382Courtesy of MITSUBISHI MOTOR SALES OF AMERICA.
    2. Test drive the vehicle.
    3. Check for A/T DTC.

    Q: Is A/T DTC 23 set? 

    1. YES:  Go to Step 18.
    2. NO:  The procedure is complete.
  18. STEP 18. Replace the transfer drive gear or driven gear. 
    1. Replace the transfer drive gear or driven gear. Refer toTRANSAXLE .
      Fig 33: Replacing Transfer Drive Gear Or Driven Gear
      G01876383Courtesy of MITSUBISHI MOTOR SALES OF AMERICA.
    2. Test drive the vehicle.
    3. Check for A/T DTC.

    Q: Is A/T DTC 23 set? 

    1. YES:  An A/T DTC may have set due to external radio frequency (RFI) possibility caused by cellular phone activity, or aftermarket components installed on the vehicle.
    2. NO:  The procedure is complete.
  19. STEP 19. Using scan tool MB991502, check data list item 23: Output Shaft Speed Sensor. 
    CAUTION: To prevent damage to scan tool MB991502, always turn the ignition switch to the "LOCK" (OFF) position before connecting or disconnecting scan tool MB991502.
    1. Connect scan tool MB991502 to the data link connector.
      Fig 34: Connecting Scan Tool To Data Link Connector
      G01876384Courtesy of MITSUBISHI MOTOR SALES OF AMERICA.
    2. Start the engine.
    3. Set scan tool MB991502 to data reading mode for item 23, Output Shaft Speed Sensor.
      • When driving at constant speed of 50 km/h (31 mph), the display should be "1,600 - 1,900 r/min." (Gear range: 3rd gear)
    4. Turn the ignition switch to the "LOCK" (OFF) position.

    Q: Is the sensor operating properly? 

    1. YES:  It can be assumed that this malfunction is intermittent.
    2. NO:  Replace the PCM.