LEMON Manuals: Even more car manuals for everyone: 1960-2025
Home >> Mitsubishi >> 2003 >> Lancer ES, Automatic >> Repair and Diagnosis >> Transmission >> Automatic Trans >> Diagnostic Trouble Code Procedures - Except Evolution >> DTC >> DTC 26: Stoplight Switch System >> Diagnosis
April 5, 2026: LEMON Manuals is launched! Read the announcement.

DTC 26: Stoplight Switch System: Diagnosis

Required Special Tool: 

  1. MB991502: Scan Tool (MUT-II)
  1. STEP 1. Check the brake pedal height. 

    Refer to GROUP 35A, On-vehicle Service - BRAKE PEDAL HEIGHT .

    Q: Is the height adjusted properly? 

    1. YES:  Go to Step 2.
    2. NO:  Adjust the brake pedal to the proper height.
  2. STEP 2. Using scan tool MB991502, check data list item 26: Stoplight Switch. 
    CAUTION: To prevent damage to scan tool MB991502, always turn the ignition switch to the "LOCK" (OFF) position before connecting or disconnecting scan tool MB991502.
    1. Connect scan tool MB991502 to the data link connector.
      Fig 1: Connecting Scan Tool To Data Link Connector
      G01876387Courtesy of MITSUBISHI MOTOR SALES OF AMERICA.
    2. Turn the ignition switch to the "ON" position.
    3. Set scan tool MB991502 to data reading mode for item 26, Stoplight Switch.
      • When the brake pedal is depressed, the display on scan tool MB991502 should be "ON."
      • When the brake pedal is not depressed, the display on scan tool MB991502 should be "OFF."
    4. Turn the ignition switch to the "LOCK" (OFF) position.

    Q: Is the switch operating properly? 

    1. YES:  If can be assumed that this malfunction may be intermittent.
    2. NO:  Go to Step 3.
  3. STEP 3. Measure the stoplight switch power supply voltage at connector C-102 by backprobing. 
    Fig 2: Measuring Stoplight Switch Power Voltage At Connector C-102
    G01876388Courtesy of MITSUBISHI MOTOR SALES OF AMERICA.
    1. Remove the stoplight switch from the mounting bracket.
    2. Do not disconnect connector C-102.
    3. Measure the voltage between terminal 2 and ground by backprobing.
      • The voltage should measure battery positive voltage.
      Fig 3: Measuring Voltage Between Terminal 2 & Ground
      G01876389Courtesy of MITSUBISHI MOTOR SALES OF AMERICA.

    Q: Is the measured voltage battery positive voltage? 

    1. YES:  Go to  Step 6 .
    2. NO:  Go to Step 4.
  4. STEP 4. Check stoplight switch connector C-102 for loose, corroded or damaged terminals, or terminals pushed back in the connector. 
    Fig 4: Checking Stoplight Switch Connector C-102
    G01876390Courtesy of MITSUBISHI MOTOR SALES OF AMERICA.

    Q: Are the connector and terminals in good condition? 

    1. YES:  Go to Step 5.
    2. NO:  Repair or replace the damaged components.
  5. STEP 5. Check the harness for damage between stoplight switch connector C-102 terminal 2 and the power supply fuse. 
    Fig 5: Checking Stoplight Switch Connector C-102 For Damage
    G01876391Courtesy of MITSUBISHI MOTOR SALES OF AMERICA.

    Q: Is the harness wire in good condition? 

    1. YES:  Go to Step 6.
    2. NO:  Repair or replace the harness wire.
  6. STEP 6. Measure the stoplight switch output voltage to the PCM at connector C-102 by backprobing. 
    Fig 6: Measuring Stoplight Switch Output Voltage To PCM Connector C-102
    G01876392Courtesy of MITSUBISHI MOTOR SALES OF AMERICA.
    1. Remove the stoplight switch from the mounting bracket.
    2. Do not disconnect connector C-102.
    3. Measure the voltage between terminal 1 and ground by backprobing.
      • When the switch button is out (closed circuit), voltage should equal battery positive voltage.
      • When the switch button is depressed (open circuit), voltage should measure less than 1.0 volt.
      Fig 7: Measuring Voltage Between Terminal 1 & Ground
      G01876393Courtesy of MITSUBISHI MOTOR SALES OF AMERICA.

    Q: Is the measured voltage battery positive voltage with the switch button released (closed circuit), and less than 1.0 volt with the switch button depressed (open circuit)? 

    1. YES:  Go to  Step 8 .
    2. NO:  Go to Step 7.
  7. STEP 7. Check the stoplight switch. 

    Connect an ohmmeter between the stoplight switch connector terminals. There should be no continuity between the terminals when the plunger is pushed in. There should be continuity when it is released.

    .

    Fig 8: Checking Stoplight Switch
    G01876394Courtesy of MITSUBISHI MOTOR SALES OF AMERICA.

    Q: Does the stoplight switch pass the checks? 

    1. YES:  Go to Step 8.
    2. NO:  Replace the stoplight switch. Refer to ADJUSTMENTS .
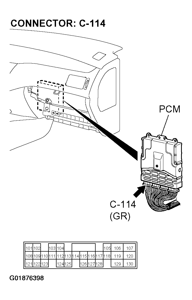
  8. STEP 8. Measure the stoplight switch output voltage at the PCM connector C-114 by backprobing. 
    Fig 9: Measuring Stoplight Switch Output Voltage At PCM Connector C-114
    G01876395Courtesy of MITSUBISHI MOTOR SALES OF AMERICA.
    1. Install the stoplight switch into the mounting bracket if it was removed.
    2. Do not disconnect connector C-114.
    3. Measure the voltage between terminal 123 and ground by backprobing.
      • When the brake pedal is depressed, voltage should measure battery positive voltage.
      • When the brake pedal is not depressed, voltage should measure less than 1.0 volt.
    Fig 10: Measuring Voltage Between Terminal 123 & Ground
    G01876396Courtesy of MITSUBISHI MOTOR SALES OF AMERICA.

    Q: Is the measured voltage battery positive voltage with the brake pedal depressed (closed circuit), and less than 1.0 volt with the brake pedal released (open circuit)? 

    1. YES:  Go to  Step 11 .
    2. NO:  Go to Step 9.
  9. STEP 9. Check PCM connector C-114, joint connector C-105 and intermediate connector C-124 and C-129 for loose, corroded or damaged terminals, or terminals pushed back in the connector. 
    Fig 11: Checking Joint Connector C-105 And Intermediate Connectors C-124 & C-129
    G01876397Courtesy of MITSUBISHI MOTOR SALES OF AMERICA.
    Fig 12: Checking PCM Connector C-114
    G01876398Courtesy of MITSUBISHI MOTOR SALES OF AMERICA.

    Q: Are the connectors and terminals in good condition? 

    1. YES:  Go to Step 10.
    2. NO:  Repair or replace the damaged components.
  10. STEP 10. Check the harness for damage between stoplight switch connector C-102 terminal 1 and PCM connector C-114 terminal 123. 
    Fig 13: Checking Stoplight Switch Connector For Damage
    G01876399Courtesy of MITSUBISHI MOTOR SALES OF AMERICA.
    Fig 14: Checking PCM Connector C-114 For Damage
    G01876400Courtesy of MITSUBISHI MOTOR SALES OF AMERICA.

    Q: Is the harness wire in good condition? 

    1. YES:  Go to Step 11.
    2. NO:  Repair or replace the harness wire.
  11. STEP 11. Using scan tool MB991502, check data list item 26: Stoplight Switch. 
    CAUTION: To prevent damage to scan tool MB991502, always turn the ignition switch to the "LOCK" (OFF) position before connecting or disconnecting scan tool MB991502.
    1. Connect scan tool MB991502 to the data link connector.
      Fig 15: Connecting Scan Tool To Data Link Connector
      G01876401Courtesy of MITSUBISHI MOTOR SALES OF AMERICA.
    2. Turn the ignition switch to the "ON" position.
    3. Set scan tool MB991502 to data reading mode for item 26, Stoplight Switch.
      • When the brake pedal is depressed, the display on scan tool MB991502 should be "ON."
      • When the brake pedal is not depressed, the display on scan tool MB991502 should be "OFF."
    4. Turn the ignition switch to the "LOCK" (OFF) position.

    Q: Is the switch operating properly? 

    1. YES:  If can be assumed that this malfunction may be intermittent.
    2. NO:  Replace the PCM.