LEMON Manuals: Even more car manuals for everyone: 1960-2025
Home >> Mitsubishi >> 2003 >> Lancer ES, Automatic >> Repair and Diagnosis >> Transmission >> Automatic Trans >> Diagnostic Trouble Code Procedures - Except Evolution >> DTC >> DTC 27: Park/Neutral Position Switch System (Open Circuit) >> Diagnosis
April 5, 2026: LEMON Manuals is launched! Read the announcement.

DTC 27: Park/Neutral Position Switch System (Open Circuit): Diagnosis

Required Special Tool: 

  1. MB991502: Scan Tool (MUT-II)
  1. STEP 1. Using scan tool MB991502, check data list item 61: Park/Neutral Position Switch. 
    CAUTION: To prevent damage to scan tool MB991502, always turn the ignition switch to the "LOCK" (OFF) position before connecting or disconnecting scan tool MB991502.
    1. Connect scan tool MB991502 to the data link connector.
      Fig 1: Connecting Scan Tool To Data Link Connector
      G01876404Courtesy of MITSUBISHI MOTOR SALES OF AMERICA.
    2. Turn the ignition switch to "ON" position.
    3. Set scan tool MB991502 to data reading mode for item 61, Park/Neutral Position Switch.
      • Move the selector lever to "P," "R," "N," "D," "3," "2," "L" positions and confirm that the selected selector lever positions match the positions shown on scan tool MB991502.
    4. Turn the ignition switch to the "LOCK" (OFF) position.

    Q: Is the switch operating properly? 

    1. YES:  It can be assumed that this malfunction is intermittent.
    2. NO:  When the selector lever position does not match any of the positions shown on scan tool MB991502: Go to Step 2. When the selector lever position does not match the "P" position on scan tool MB991502: Go to  Step 6 . When the selector lever position does not match the "R" position on scan tool MB991502: Go to  Step 12 . When the selector lever position does not match the "N" position on scan tool MB991502: Go to  Step 17 . When the selector lever position does not match the "D" position on scan tool MB991502: Go to  Step 22 . When the selector lever position does not match the "3" position on scan tool MB991502: Go to  Step 27 . When the selector lever position does not match the "2" position on scan tool MB991502: Go to  Step 32 . When the selector lever position does not match the "L" position on scan tool MB991502: Go to  Step 37 .
  2. STEP 2. Check the Park/Neutral position switch. 

    Measure the resistance between the terminals for each selector position as indicated in the table.

    Fig 2: Identifying Park/Neutral Position Switch
    G01876406Courtesy of MITSUBISHI MOTOR SALES OF AMERICA.
    Fig 3: Measuring Resistance Between Terminals
    G01876407Courtesy of MITSUBISHI MOTOR SALES OF AMERICA.
    Fig 4: Park/Neutral Position Switch Resistance Table
    G01876405Courtesy of MITSUBISHI MOTOR SALES OF AMERICA.

    Q: Does the resistance measure less than 2 ohms for each selector position? 

    1. YES:  Go to Step 3.
    2. NO:  Replace the Park/Neutral position switch. Refer to TRANSAXLE .
  1. STEP 3. Check Park/Neutral position switch connector B-16, intermediate connector C-123 and junction block connector C-210 for loose, corroded or damaged terminals, or terminals pushed back in the connector. 
    Fig 5: Checking Park/Neutral Position Switch Connector B-16
    G01876408Courtesy of MITSUBISHI MOTOR SALES OF AMERICA.
    Fig 6: Checking Intermediate Connector C-123
    G01876409Courtesy of MITSUBISHI MOTOR SALES OF AMERICA.
    Fig 7: Checking Junction Block Connector C-210
    G01876410Courtesy of MITSUBISHI MOTOR SALES OF AMERICA.

    Q: Are the connectors and terminals in good condition? 

    1. YES:  Go to Step 4.
    2. NO:  Repair or replace the damaged components.
  2. STEP 4. Check harness for open or short circuit to ground between Park/Neutral position switch connector B-16 terminal 8 and junction block connector C-210 terminal 12. 
    Fig 8: Checking Park/Neutral Position Switch Connector B-16 For Open Or Short Circuit To Ground
    G01876411Courtesy of MITSUBISHI MOTOR SALES OF AMERICA.
    Fig 9: Checking Junction Block Connector C-210 For Open Or Short Circuit To Ground
    G01876412Courtesy of MITSUBISHI MOTOR SALES OF AMERICA.

    Q: Is the harness wire in good condition? 

    1. YES:  Go to Step 5.
    2. NO:  Repair or replace the harness wire.
  3. STEP 5. Using scan tool MB991502, check data list item 61: Park/Neutral Position Switch. 
    CAUTION: To prevent damage to scan tool MB991502, always turn the ignition switch to the "LOCK" (OFF) position before connecting or disconnecting scan tool MB991502.
    1. Connect scan tool MB991502 to the data link connector.
      Fig 10: Connecting Scan Tool To Data Link Connector
      G01876413Courtesy of MITSUBISHI MOTOR SALES OF AMERICA.
    2. Turn the ignition switch to "ON" position.
    3. Set scan tool MB991502 to data reading mode for item 61, Park/Neutral Position Switch.
      • Move the selector lever to "P," "R," "N," "D," "3," "2," "L" positions and confirm that the selected selector lever positions match the positions shown on scan tool MB991502.
    4. Turn the ignition switch to the "LOCK" (OFF) position.

    Q: Is the switch operating properly? 

    1. YES:  It can be assumed that this malfunction is intermittent.
    2. NO:  Replace the PCM.
  4. STEP 6. Check the Park/Neutral position switch. 

    Measure the resistance between the terminals for each selector position as indicated in the table.

    Fig 11: Identifying Park/Neutral Position Switch
    G01876415Courtesy of MITSUBISHI MOTOR SALES OF AMERICA.
    Fig 12: Measuring Resistance Between Terminals
    G01876416Courtesy of MITSUBISHI MOTOR SALES OF AMERICA.
    Fig 13: Park/Neutral Position Switch Resistance Table
    G01876414Courtesy of MITSUBISHI MOTOR SALES OF AMERICA.

    Q: Does the resistance measure less than 2 ohms for each selector position? 

    1. YES:  Go to Step 7.
    2. NO:  Replace the Park/Neutral position switch. Refer to TRANSAXLE .
  5. STEP 7. Check Park/Neutral position switch connector B-16 for loose, corroded or damaged terminals, or terminals pushed back in the connector. 
    Fig 14: Checking Park/Neutral Position Switch
    G01876417Courtesy of MITSUBISHI MOTOR SALES OF AMERICA.

    Q: Are the connector and terminals in good condition? 

    1. YES:  Go to Step 8.
    2. NO:  Repair or replace the damaged components.
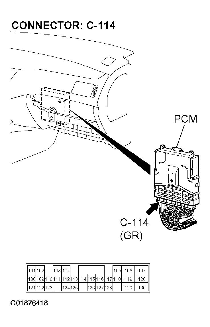
  6. STEP 8. Measure the Park/Neutral position switch output voltage at PCM connector C-114 by backprobing. 
    Fig 15: Measuring Park/Neutral Position Switch Output Voltage At PCM Connector C-114
    G01876418Courtesy of MITSUBISHI MOTOR SALES OF AMERICA.
    1. Do not disconnect connector C-114.
    2. Turn the ignition switch to the "ON" position.
    3. Move the selector lever to the "P" position.
    4. Measure the voltage between terminal 101 and ground by backprobing.
      • The voltage should measure battery positive voltage.
      Fig 16: Measuring Voltage Between Terminal 101 & Ground
      G01876419Courtesy of MITSUBISHI MOTOR SALES OF AMERICA.
    5. Turn the ignition switch to the "LOCK" (OFF) position.

    Q: Does the voltage measure battery positive voltage? 

    1. YES:  Go to  Step 11 .
    2. NO:  Go to Step 9.
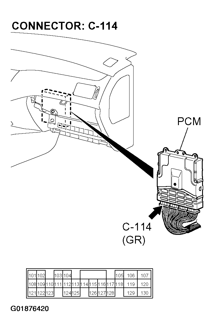
  7. STEP 9. Check PCM connector C-114 for loose, corroded or damaged terminals, or terminals pushed back in the connector. 
    Fig 17: Checking PCM Connector C-114
    G01876420Courtesy of MITSUBISHI MOTOR SALES OF AMERICA.

    Q: Are the connector and terminals in good condition? 

    1. YES:  Go to Step 10.
    2. NO:  Repair or replace the damaged components.
  8. STEP 10. Check harness for open circuit or short circuit to ground between Park/Neutral position switch connector B-16 terminal 3 and PCM connector C-114 terminal 101. 
    Fig 18: Checking Park/Neutral Position Switch For Open Or Short Circuit To Ground
    G01876421Courtesy of MITSUBISHI MOTOR SALES OF AMERICA.
    Fig 19: Checking PCM Connector C-114 For Open Or Short Circuit To Ground
    G01876422Courtesy of MITSUBISHI MOTOR SALES OF AMERICA.

    Q: Is the harness wire in good condition? 

    1. YES:  Go to  Step 5 .
    2. NO:  Repair or replace the harness wire.
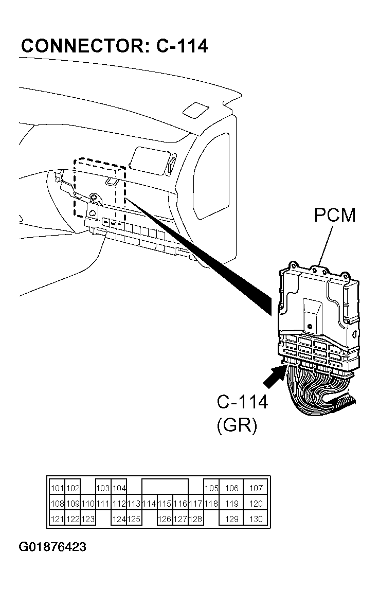
  9. STEP 11. Check PCM connector C-114 for loose, corroded or damaged terminals, or terminals pushed back in the connector. 
    Fig 20: Checking PCM Connector C-114
    G01876423Courtesy of MITSUBISHI MOTOR SALES OF AMERICA.

    Q: Are the connector and terminals in good condition? 

    1. YES:  Go to  Step 5 .
    2. NO:  Repair or replace the damaged components.
  10. STEP 12. Check the Park/Neutral position switch. 

    Measure the resistance between the terminals for each selector position as indicated in the table.

    Fig 21: Identifying Park/Neutral Position Switch
    G01876425Courtesy of MITSUBISHI MOTOR SALES OF AMERICA.
    Fig 22: Measuring Resistance Between Terminals
    G01876426Courtesy of MITSUBISHI MOTOR SALES OF AMERICA.
    Fig 23: Park/Neutral Position Switch Resistance Table
    G01876424Courtesy of MITSUBISHI MOTOR SALES OF AMERICA.

    Q: Is the measured resistance less than 2 ohms for each selector position? 

    1. YES:  Go to Step 13.
    2. NO:  Replace the Park/Neutral position switch. Refer to TRANSAXLE .
  11. STEP 13. Check Park/Neutral position switch connector B-16 for loose, corroded or damaged terminals, or terminals pushed back in the connector. 
    Fig 24: Checking Park/Neutral Position Switch
    G01876427Courtesy of MITSUBISHI MOTOR SALES OF AMERICA.

    Q: Are the connector and terminals in good condition? 

    1. YES:  Go to Step 14.
    2. NO:  Repair or replace the damaged components. s
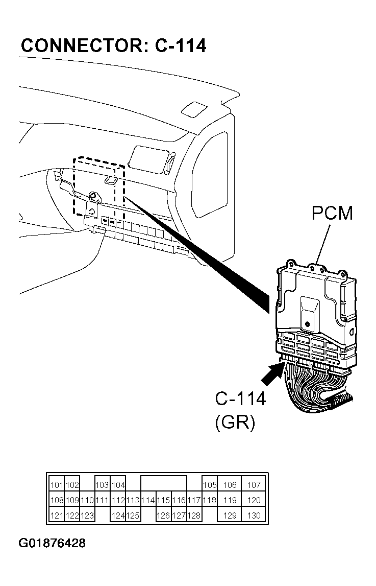
  12. STEP 14. Measure the Park/Neutral position switch output voltage at PCM connector C-114 by backprobing. 
    Fig 25: Measuring Park/Neutral Position Switch Output Voltage At PCM C-114
    G01876428Courtesy of MITSUBISHI MOTOR SALES OF AMERICA.
    1. Do not disconnect connector C-114.
    2. Turn the ignition switch to the "ON" position.
    3. Move the selector lever to the "R" position.
    4. Measure the voltage between terminal 108 and ground by backprobing.
      • The voltage should measure battery positive voltage.
      Fig 26: Measuring Voltage Between Terminal 108 & Ground
      G01876429Courtesy of MITSUBISHI MOTOR SALES OF AMERICA.
    5. Turn the ignition switch to the "LOCK" (OFF) position.

    Q: Does the voltage measure battery positive voltage? 

    1. YES:  Go to  Step 11 .
    2. NO:  Go to Step 15.
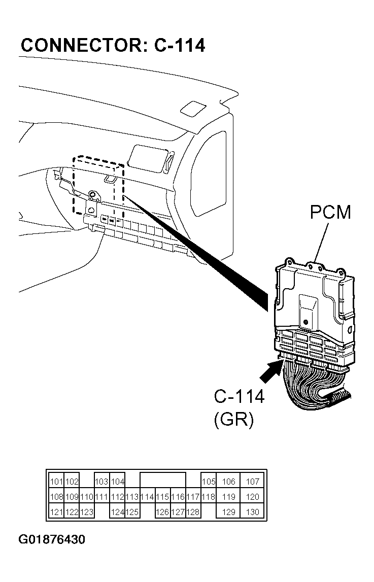
  13. STEP 15. Check PCM connector C-114 for loose, corroded or damaged terminals, or terminals pushed back in the connector. 
    Fig 27: Checking PCM Connector C-114
    G01876430Courtesy of MITSUBISHI MOTOR SALES OF AMERICA.

    Q: Are the connector and terminals in good condition? 

    1. YES:  Go to Step 16.
    2. NO:  Repair or replace the damaged components.
  14. STEP 16. Check harness for open circuit or short circuit to ground between Park/Neutral position switch connector B-16 terminal 7 and PCM connector C-114 terminal 108. 
    Fig 28: Checking Park/Neutral Position Switch For Open Or Short Circuit To Ground
    G01876431Courtesy of MITSUBISHI MOTOR SALES OF AMERICA.
    Fig 29: Checking PCM Connector C-114 For Open Or Short Circuit To Ground
    G01876432Courtesy of MITSUBISHI MOTOR SALES OF AMERICA.

    Q: Is the harness wire in good condition? 

    1. YES:  Go to  Step 5 .
    2. NO:  Repair or replace the harness wire.
  15. STEP 17. Check the Park/Neutral position switch. 

    Measure the resistance between the terminals for each selector position as indicated in the table.

    Fig 30: Identifying Park/Neutral Position Switch
    G01876434Courtesy of MITSUBISHI MOTOR SALES OF AMERICA.
    Fig 31: Measuring Resistance Between Terminals
    G01876435Courtesy of MITSUBISHI MOTOR SALES OF AMERICA.
    Fig 32: Park/Neutral Position Switch Resistance Table
    G01876433Courtesy of MITSUBISHI MOTOR SALES OF AMERICA.

    Q: Is the measured resistance less than 2 ohms for each selector position? 

    1. YES:  Go to Step 18.
    2. NO:  Replace the Park/Neutral position switch. Refer to TRANSAXLE .
  16. STEP 18. Check Park/Neutral position switch connector B-16 for loose, corroded or damaged terminals, or terminals pushed back in the connector. 
    Fig 33: Checking Park/Neutral Position Switch
    G01876436Courtesy of MITSUBISHI MOTOR SALES OF AMERICA.

    Q: Are the connector and terminals in good condition? 

    1. YES:  Go to Step 19.
    2. NO:  Repair or replace the damaged components.
  17. STEP 19. Measure the Park/Neutral position switch output voltage at PCM connector C-114 by backprobing. 
    Fig 34: Measuring Park/Neutral Position Switch Output Voltage At PCM Connector C-114
    G01876437Courtesy of MITSUBISHI MOTOR SALES OF AMERICA.
    1. Do not disconnect connector C-114.
    2. Turn the ignition switch to the "ON" position.
    3. Move the selector lever to the "N" position.
    4. Measure the voltage between terminal 121 and ground by backprobing.
      • The voltage should measure battery positive voltage.
      Fig 35: Measuring Voltage Between Terminal 121 & Ground
      G01876438Courtesy of MITSUBISHI MOTOR SALES OF AMERICA.
    5. Turn the ignition switch to the "LOCK" (OFF) position.

    Q: Does the voltage measure battery positive voltage? 

    1. YES:  Go to  Step 11 .
    2. NO:  Go to Step 20.
  18. STEP 20. Check PCM connector C-114 for loose, corroded or damaged terminals, or terminals pushed back in the connector. 
    Fig 36: Checking PCM Connector C-114
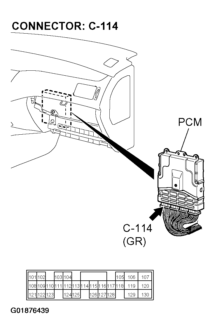
    G01876439Courtesy of MITSUBISHI MOTOR SALES OF AMERICA.

    Q: Are the connector and terminals in good condition? 

    1. YES:  Go to Step 21.
    2. NO:  Repair or replace the damaged components.
  19. STEP 21. Check harness for open circuit or short circuit to ground between Park/Neutral position switch connector B-16 terminal 4 and PCM connector C-114 terminal 121. 
    Fig 37: Checking Park/Neutral Position Switch For Open Or Short Circuit To Ground
    G01876440Courtesy of MITSUBISHI MOTOR SALES OF AMERICA.
    Fig 38: Checking PCM Connector C-114 For Open Or Short Circuit To Ground
    G01876441Courtesy of MITSUBISHI MOTOR SALES OF AMERICA.

    Q: Is the harness wire in good condition? 

    1. YES:  Go to  Step 5 .
    2. NO:  Repair or replace the harness wire.
  20. STEP 22. Check the Park/Neutral position switch. 

    Measure the resistance between the terminals for each selector position as indicated in the table.

    Fig 39: Identifying Park/Neutral Position Switch
    G01876443Courtesy of MITSUBISHI MOTOR SALES OF AMERICA.
    Fig 40: Measuring Resistance Between Terminals
    G01876444Courtesy of MITSUBISHI MOTOR SALES OF AMERICA.
    Fig 41: Park/Neutral Position Switch Resistance Table
    G01876442Courtesy of MITSUBISHI MOTOR SALES OF AMERICA.

    Q: Is the measured resistance less than 2 ohms for each selector position? 

    1. YES:  Go to Step 23.
    2. NO:  Replace the Park/Neutral position switch. Refer to TRANSAXLE .
  21. STEP 23. Check Park/Neutral position switch connector B-16 for loose, corroded or damaged terminals, or terminals pushed back in the connector. 
    Fig 42: Checking Park/Neutral Position Switch
    G01876445Courtesy of MITSUBISHI MOTOR SALES OF AMERICA.

    Q: Are the connector and terminals in good condition? 

    1. YES:  Go to Step 24.
    2. NO:  Repair or replace the damaged components.
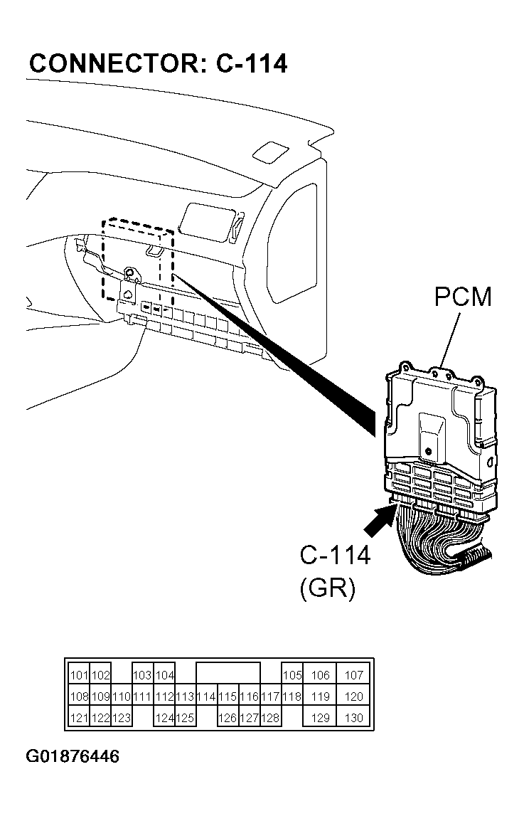
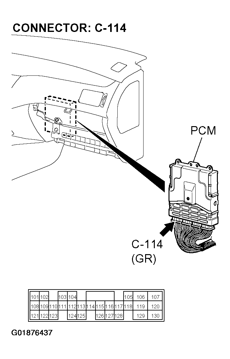
  22. STEP 24. Measure the Park/Neutral position switch output voltage at PCM connector C-114 by backprobing. 
    Fig 43: Measuring Park/Neutral Position Switch Output Voltage At PCM Connector C-114
    G01876446Courtesy of MITSUBISHI MOTOR SALES OF AMERICA.
    1. Do not disconnect connector C-114.
    2. Turn the ignition switch to the "ON" position.
    3. Move the selector lever to the "D" position.
    4. Measure the voltage between terminal 102 and ground by backprobing.
      • The voltage should equal battery voltage (approximately 12 volts).
      Fig 44: Measuring Voltage Between Terminal 102 & Ground
      G01876447Courtesy of MITSUBISHI MOTOR SALES OF AMERICA.
    5. Turn the ignition switch to the "LOCK" (OFF) position.

    Q: Does the voltage measure battery positive voltage? 

    1. YES:  Go to  Step 11 .
    2. NO:  Go to Step 25.
  23. STEP 25. Check PCM connector C-114 for loose, corroded or damaged terminals, or terminals pushed back in the connector. 
    Fig 45: Checking PCM Connector C-114
    G01876448Courtesy of MITSUBISHI MOTOR SALES OF AMERICA.

    Q: Are the connector and terminals in good condition? 

    1. YES:  Go to Step 26.
    2. NO:  Repair or replace the damaged components.
  24. STEP 26. Check harness for open circuit or short circuit to ground between Park/Neutral position switch connector B-16 terminal 1 and PCM connector C-114 terminal 102. 
    Fig 46: Checking Park/Neutral Position Switch For Open Or Short Circuit To Ground
    G01876449Courtesy of MITSUBISHI MOTOR SALES OF AMERICA.
    Fig 47: Checking PCM Connector C-114 For Open Or Short Circuit To Ground
    G01876450Courtesy of MITSUBISHI MOTOR SALES OF AMERICA.

    Q: Is the harness wire in good condition? 

    1. YES:  Go to  Step 5 .
    2. NO:  Repair or replace the harness wire.
  25. STEP 27. Check the Park/Neutral position switch. 

    Measure the resistance between the terminals for each selector position as indicated in the table.

    Fig 48: Identifying Park/Neutral Position Switch
    G01876452Courtesy of MITSUBISHI MOTOR SALES OF AMERICA.
    Fig 49: Measuring Resistance Between Terminals
    G01876453Courtesy of MITSUBISHI MOTOR SALES OF AMERICA.
    Fig 50: Park/Neutral Position Switch Resistance Table
    G01876451Courtesy of MITSUBISHI MOTOR SALES OF AMERICA.

    Q: Is the measured resistance less than 2 ohms for each selector position? 

    1. YES:  Go to Step 28.
    2. NO:  Replace the Park/Neutral position switch. Refer to TRANSAXLE .
  26. STEP 28. Check Park/Neutral position switch connector B-16 for loose, corroded or damaged terminals, or terminals pushed back in the connector. 
    Fig 51: Checking Park/Neutral Position Switch
    G01876454Courtesy of MITSUBISHI MOTOR SALES OF AMERICA.

    Q: Are the connector and terminals in good condition? 

    1. YES:  Go to Step 29.
    2. NO:  Repair or replace the damaged components.
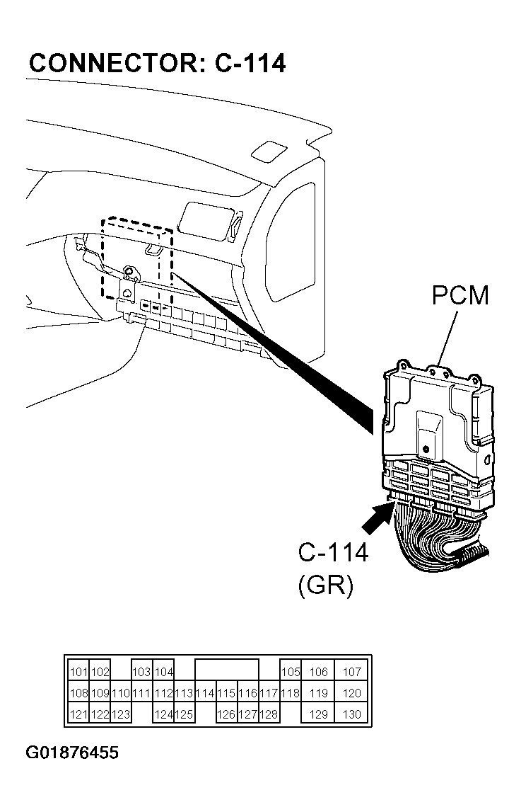
  27. STEP 29. Measure the Park/Neutral position switch output voltage at PCM connector C-114 by backprobing. 
    Fig 52: Measuring Park/Neutral Position Switch Output Voltage At PCM Connector C-114
    G01876455Courtesy of MITSUBISHI MOTOR SALES OF AMERICA.
    1. Do not disconnect connector C-114.
    2. Turn the ignition switch to the "ON" position.
    3. Move the selector lever to the "3" position.
    4. Measure the voltage between terminal 109 and ground by backprobing.
      • The voltage should measure battery positive voltage.
      Fig 53: Measuring Voltage Between Terminal 109 & Ground
      G01876456Courtesy of MITSUBISHI MOTOR SALES OF AMERICA.
    5. Turn the ignition switch to the "LOCK" (OFF) position.

    Q: Does the voltage measure battery positive voltage? 

    1. YES:  Go to  Step 11 .
    2. NO:  Go to Step 30.
  28. STEP 30. Check PCM connector C-114 for loose, corroded or damaged terminals, or terminals pushed back in the connector. 
    Fig 54: Checking PCM Connector C-114
    G01876457Courtesy of MITSUBISHI MOTOR SALES OF AMERICA.

    Q: Are the connector and terminals in good condition? 

    1. YES:  Go to Step 31.
    2. NO:  Repair or replace the damaged components.
  29. STEP 31. Check harness for open circuit or short circuit to ground between Park/Neutral position switch connector B-16 terminal 5 and PCM connector C-114 terminal 109. 
    Fig 55: Checking Park/Neutral Position Switch Connector B-16 For Open Or Short Circuit To Ground
    G01876458Courtesy of MITSUBISHI MOTOR SALES OF AMERICA.
    Fig 56: Checking PCM Connector C-114 For Open Or Short Circuit To Ground
    G01876459Courtesy of MITSUBISHI MOTOR SALES OF AMERICA.

    Q: Is the harness wire in good condition? 

    1. YES:  Go to  Step 5 .
    2. NO:  Repair or replace the harness wire.
  30. STEP 32. Check the Park/Neutral position switch. 

    Measure the resistance between the terminals for each selector position as indicated in the table.

    Fig 57: Identifying Park/Neutral Position Switch
    G01876461Courtesy of MITSUBISHI MOTOR SALES OF AMERICA.
    Fig 58: Measuring Resistance Between Terminals
    G01876462Courtesy of MITSUBISHI MOTOR SALES OF AMERICA.
    Fig 59: Park/Neutral Position Switch Resistance Table
    G01876460Courtesy of MITSUBISHI MOTOR SALES OF AMERICA.

    Q: Is the measured resistance less than 2 ohms for each selector position? 

    1. YES:  Go to Step 33.
    2. NO:  Replace the Park/Neutral position switch. Refer to TRANSAXLE .
  31. STEP 33. Check Park/Neutral position switch connector B-16 for loose, corroded or damaged terminals, or terminals pushed back in the connector. 
    Fig 60: Checking Park/Neutral Position Switch
    G01876463Courtesy of MITSUBISHI MOTOR SALES OF AMERICA.

    Q: Are the connector and terminals in good condition? 

    1. YES:  Go to Step 34.
    2. NO:  Repair or replace the damaged components.
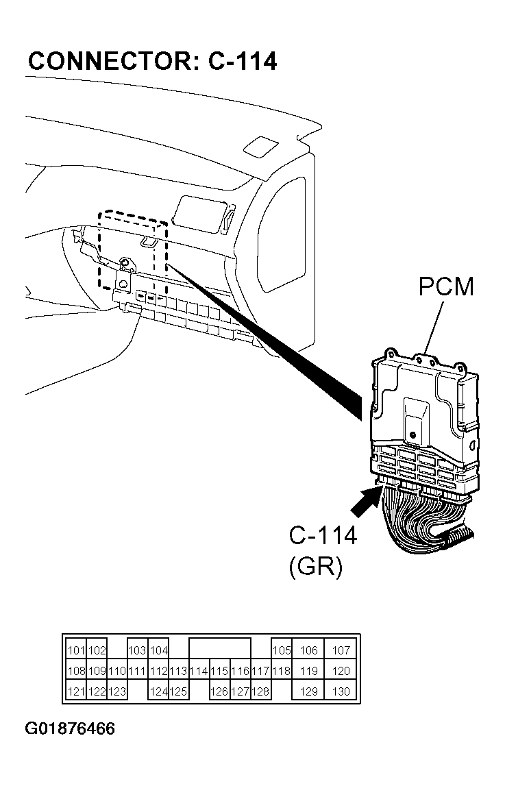
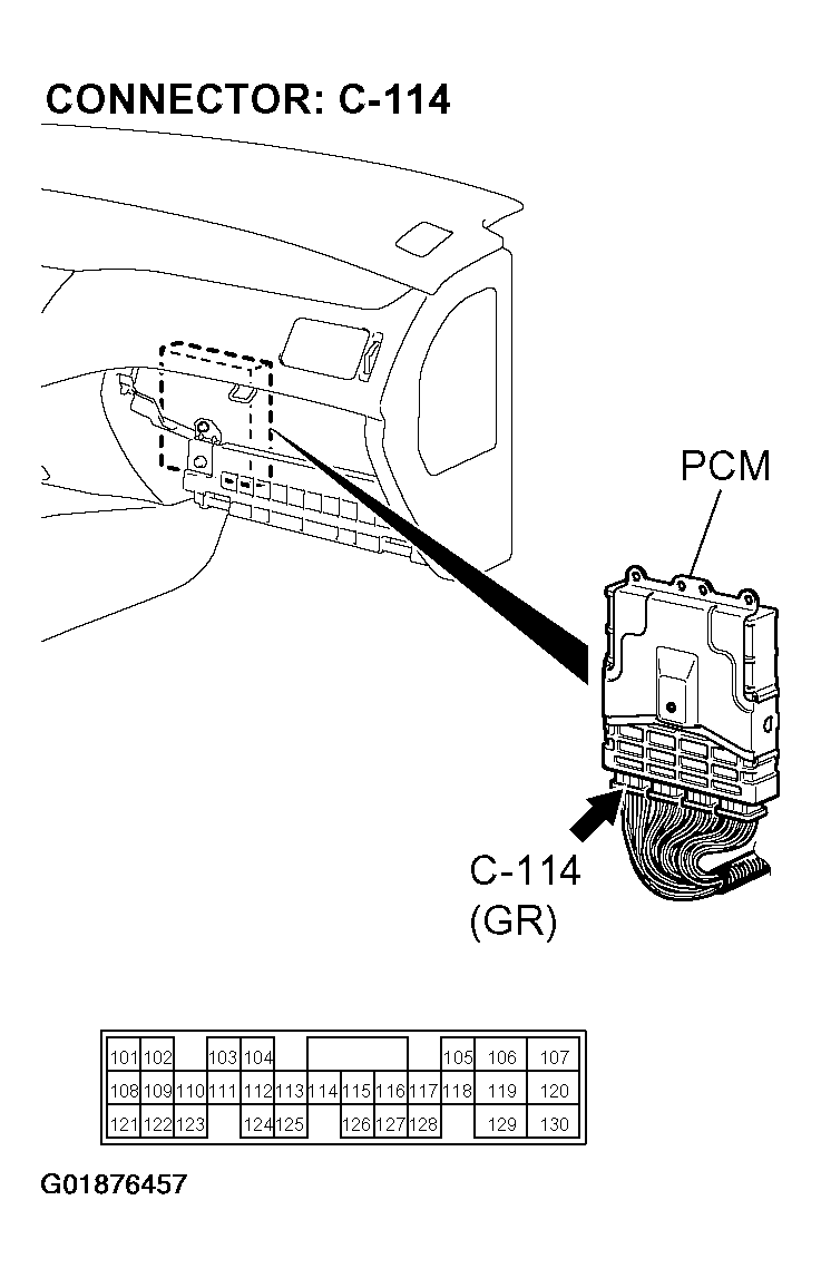
  32. STEP 34. Measure the Park/Neutral position switch output voltage at PCM connector C-114 by backprobing. 
    Fig 61: Measuring Park/Neutral Position Switch Output Voltage At PCM Connector C-114
    G01876464Courtesy of MITSUBISHI MOTOR SALES OF AMERICA.
    1. Do not disconnect connector C-114.
    2. Turn the ignition switch to the "ON" position.
    3. Move the selector lever to the "2" position.
    4. Measure the voltage between terminal 122 and ground by backprobing.
      • The voltage should measure battery positive voltage.
      Fig 62: Measuring Voltage Between Terminal 122 & Ground
      G01876465Courtesy of MITSUBISHI MOTOR SALES OF AMERICA.
    5. Turn the ignition switch to the "LOCK" (OFF) position.

    Q: Does the voltage measure battery positive voltage? 

    1. YES:  Go to  Step 11 .
    2. NO:  Go to Step 35.
  33. STEP 35. Check PCM connector C-114 for loose, corroded or damaged terminals, or terminals pushed back in the connector. 
    Fig 63: Checking PCM Connector C-114
    G01876466Courtesy of MITSUBISHI MOTOR SALES OF AMERICA.

    Q: Are the connector and terminals in good condition? 

    1. YES:  Go to Step 36.
    2. NO:  Repair or replace the damaged components.
  34. STEP 36. Check harness for open circuit or short circuit to ground between Park/Neutral position switch connector B-16 terminal 2 and PCM connector C-114 terminal 122. 
    Fig 64: Checking Park/Neutral Position Switch For Open Or Short Circuit To Ground
    G01876467Courtesy of MITSUBISHI MOTOR SALES OF AMERICA.
    Fig 65: Checking PCM Connector C-114 For Open Or Short Circuit To Ground
    G01876468Courtesy of MITSUBISHI MOTOR SALES OF AMERICA.

    Q: Is the harness wire in good condition? 

    1. YES:  Go to  Step 5 .
    2. NO:  Repair or replace the harness wire.
  35. STEP 37. Check the Park/Neutral position switch. 

    Measure the resistance between the terminals for each selector position as indicated in the table.

    Fig 66: Identifying Park/Neutral Position Switch
    G01876470Courtesy of MITSUBISHI MOTOR SALES OF AMERICA.
    Fig 67: Measuring Resistance Between Terminals
    G01876471Courtesy of MITSUBISHI MOTOR SALES OF AMERICA.
    Fig 68: Park/Neutral Position Switch Resistance Table
    G01876469Courtesy of MITSUBISHI MOTOR SALES OF AMERICA.

    Q: Is the measured resistance less than 2 ohms for each selector position? 

    1. YES:  Go to Step 38.
    2. NO:  Replace the Park/Neutral position switch. Refer to TRANSAXLE .
  36. STEP 38. Check Park/Neutral position switch connector B-16 for loose, corroded or damaged terminals, or terminals pushed back in the connector. 
    Fig 69: Checking Park/Neutral Position Switch
    G01876472Courtesy of MITSUBISHI MOTOR SALES OF AMERICA.

    Q: Are the connector and terminals in good condition? 

    1. YES:  Go to Step 39.
    2. NO:  Repair or replace the damaged components.
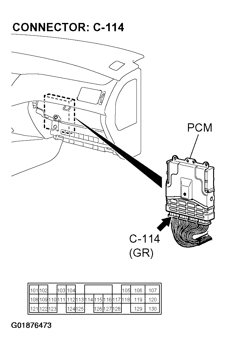
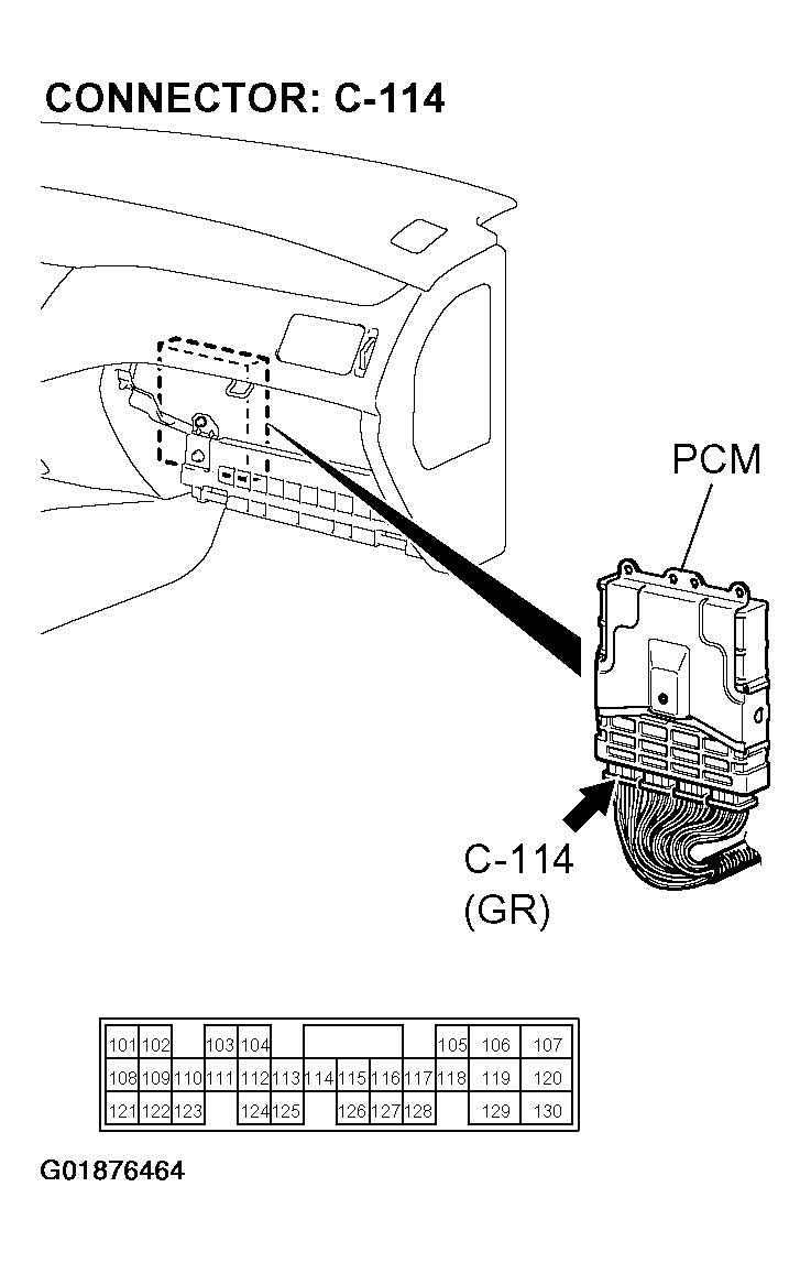
  37. STEP 39. Measure the Park/Neutral position switch output voltage at PCM connector C-114 by backprobing. 
    Fig 70: Measuring Park/Neutral Position Switch Output Voltage At PCM Connector C-114
    G01876473Courtesy of MITSUBISHI MOTOR SALES OF AMERICA.
    1. Do not disconnect connector C-114.
    2. Turn the ignition switch to the "ON" position.
    3. Move the selector lever to the "L" position.
    4. Measure the voltage between terminal 110 and ground by backprobing.
      • The voltage should measure battery positive voltage.
      Fig 71: Measuring Voltage Between Terminal 110 & Ground
      G01876474Courtesy of MITSUBISHI MOTOR SALES OF AMERICA.
    5. Turn the ignition switch to the "LOCK" (OFF) position.

    Q: Does the voltage measure battery positive voltage? 

    1. YES:  Go to  Step 11 .
    2. NO:  Go to Step 40.
  38. STEP 40. Check PCM connector C-114 for loose, corroded or damaged terminals, or terminals pushed back in the connector. 
    Fig 72: Checking PCM Connector C-114
    G01876475Courtesy of MITSUBISHI MOTOR SALES OF AMERICA.

    Q: Are the connector and terminals in good condition? 

    1. YES:  Go to Step 41.
    2. NO:  Repair or replace the damaged components.
  39. STEP 41. Check harness for open circuit or short circuit to ground between Park/Neutral position switch connector B-16 terminal 6 and PCM connector C-114 terminal 110. 
    Fig 73: Checking Park/Neutral Position Switch Connector B-16 For Open Or Short Circuit To Ground
    G01876476Courtesy of MITSUBISHI MOTOR SALES OF AMERICA.
    Fig 74: Checking PCM Connector C-114 For Open Or Short Circuit To Ground
    G01876477Courtesy of MITSUBISHI MOTOR SALES OF AMERICA.

    Q: Is the harness wire in good condition? 

    1. YES:  Go to  Step 5 .
    2. NO:  Repair or replace the harness wire.