LEMON Manuals: Even more car manuals for everyone: 1960-2025
Home >> Mitsubishi >> 2003 >> Lancer LS >> Repair and Diagnosis (Single Page) >> Transmission >> Automatic Trans >> Diagnostic Trouble Code Procedures - Except Evolution >> DTC >> DTC 15: A/T Fluid Temperature Sensor System (Open Circuit) >> Diagnosis
April 5, 2026: LEMON Manuals is launched! Read the announcement.

DTC 15: A/T Fluid Temperature Sensor System (Open Circuit): Diagnosis

Required Special Tool: 

  1. MB991502: Scan Tool (MUT-II)
  1. STEP 1. Using scan tool MB991502, check data list item 15: A/T Fluid Temperature Sensor. 
    CAUTION: To prevent damage to scan tool MB991502, always turn the ignition switch to the "LOCK" (OFF) position before connecting or disconnecting scan tool MB991502.
    1. Connect scan tool MB991502 to the data link connector.
      Fig 1: Connecting Scan Tool To Data Link Connector
      G01876232Courtesy of MITSUBISHI MOTOR SALES OF AMERICA.
    2. Start the engine.
    3. Set scan tool MB991502 to the data reading mode for item 15, A/T Fluid Temperature Sensor.
      • When the engine is cool: Almost equal to the ambient temperature (atmospheric temperature)
        NOTE: Set scan tool MB991502 to data reading mode for item number 13, Intake Air Temperature (IAT) Sensor and note the temperature measurement. When the engine is cool, the temperature should be almost equal to the ambient temperature (atmospheric temperature), and the IAT sensor measurement should be approximately the same as the A/T Fluid Temperature Sensor.
      • When the engine is warm: 70 to 80°C (158 to 176°F)
    4. Turn the ignition switch to the "LOCK" (OFF) position.

    Q: Is the sensor operating properly? 

    1. YES:  It can be assumed that this malfunction is intermittent.
    2. NO:  Go to Step 2.
  2. STEP 2. Measure the sensor output voltage at the A/T control solenoid valve assembly connector B-15 by backprobing. 
    Fig 2: Measuring Sensor Output Voltage At A/T Control Solenoid Valve Assembly Connector B-15
    G01876233Courtesy of MITSUBISHI MOTOR SALES OF AMERICA.
    1. Do not disconnect connector B-15.
    2. Turn the ignition switch to the "ON" position.
    3. Measure the voltage between terminal 1 and ground by backprobing.
      • When A/T fluid temperature is 20°C (68°F), voltage should measure between 3.8 and 4.0 volts.
      • When A/T fluid temperature is 40°C (104°F), voltage should measure between 3.2 and 3.4 volts.
      • When A/T fluid temperature is 80°C (176°F), voltage should measure between 1.7 and 1.9 volts.
      Fig 3: Measuring Voltage Between Terminal 1 & Ground
      G01876234Courtesy of MITSUBISHI MOTOR SALES OF AMERICA.
    4. Turn the ignition switch to the "LOCK" (OFF) position.

    Q: Is the measured voltage within the specified range? 

    1. YES:  Go to  Step 6 .
    2. NO:  Go to Step 3.
  3. STEP 3. Measure the ground voltage at the A/T control solenoid valve assembly connector B-15 by backprobing. 
    Fig 4: Measuring Ground Voltage At A/T Control Solenoid Valve Assembly Connector B-15
    G01876235Courtesy of MITSUBISHI MOTOR SALES OF AMERICA.
    1. Do not disconnect connector B-15.
    2. Turn the ignition switch to the "ON" position.
    3. Measure the voltage between terminal 2 and ground by backprobing.
      • The voltage should measure 0.5 volt or less.
      Fig 5: Measuring Voltage Between Terminal 2 & Ground
      G01876236Courtesy of MITSUBISHI MOTOR SALES OF AMERICA.
    4. Turn the ignition switch to the "LOCK" (OFF) position.

    Q: Is the measured voltage 0.5 volt or less? 

    1. YES:  Go to Step 4.
    2. NO:  Go to  Step 7 .
  4. STEP 4. Check the sensor output voltage at A/T control solenoid valve assembly connector B-15. 
    Fig 6: Checking Sensor Output Voltage At A/T Control Solenoid Valve Assembly Connector B-15
    G01876237Courtesy of MITSUBISHI MOTOR SALES OF AMERICA.
    1. Disconnect connector B-15 and measure at the harness side.
    2. Turn the ignition switch to the "ON" position.
    3. Measure the voltage between terminal 1 and ground.
      • The voltage should measure between 4.5 and 4.9 volts.
      Fig 7: Measuring Voltage Between Terminal 1 & Ground
      G01876238Courtesy of MITSUBISHI MOTOR SALES OF AMERICA.
    4. Turn the ignition switch to the "LOCK" (OFF) position.

    Q: Is the measured voltage between 4.5 and 4.9 volts? 

    1. YES:  Go to Step 5.
    2. NO:  Go to  Step 9 .
  5. STEP 5. Check the A/T fluid temperature sensor at A/T control solenoid valve assembly connector B-15. 
    1. Disconnect connector B-15 and measure at the sensor side.
      Fig 8: Disconnecting Connector B-15 & Measuring Sensor Side
      G01876239Courtesy of MITSUBISHI MOTOR SALES OF AMERICA.
    2. Measure the resistance between terminal 1 and 2.
      • When A/T fluid temperature is 0°C (32°F), resistance should be between 16.7 and 20.5 kohm.
      • When A/T fluid temperature is 20°C (68°F), resistance should be between 7.3 and 8.9 kohm.
      • When A/T fluid temperature is 40°C (104°F), resistance should be between 3.4 and 4.2 kohm.
      • When A/T fluid temperature is 60°C (140°F), resistance should be between 1.9 and 2.2 kohm.
      • When A/T fluid temperature is 80°C (176°F), resistance should be between 1.0 and 1.2 kohm.
      • When A/T fluid temperature is 100°C (212°F), resistance should be between 0.57 and 0.69 kiloohm.
    Fig 9: Measuring Resistance Between Terminal 1 & 2
    G01876240Courtesy of MITSUBISHI MOTOR SALES OF AMERICA.

    Q: Is the measured resistance within the specified range? 

    1. YES:  Go to Step 6.
    2. NO:  Replace the A/T fluid temperature sensor.TRANSAXLE .
  6. STEP 6. Using scan tool MB991502, check data list item 15: A/T Fluid Temperature Sensor. 
    CAUTION: To prevent damage to scan tool MB991502, always turn the ignition switch to the "LOCK" (OFF) position before connecting or disconnecting scan tool MB991502.
    1. Connect scan tool MB991502 to the data link connector.
      Fig 10: Connecting Scan Tool To Data Link Connector
      G01876241Courtesy of MITSUBISHI MOTOR SALES OF AMERICA.
    2. Start the engine.
    3. Set scan tool MB991502 to data reading mode for item 15, A/T Fluid Temperature Sensor.
      • When the engine is cool: Almost equal to the ambient temperature (atmospheric temperature)
        NOTE: Set scan tool MB991502 to data reading mode for item number 13, Intake Air Temperature (IAT) Sensor and note the temperature measurement. When the engine is cool, the temperature should be almost equal to the ambient temperature (atmospheric temperature), and the IAT sensor measurement should be approximately the same as the A/T Fluid Temperature Sensor.
      • When the engine is warm: 70 to 80°C (158 to 176°F)
    4. Turn the ignition switch to the "LOCK" (OFF) position.

    Q: Is the sensor operating properly? 

    1. YES:  It can be assumed that this malfunction is intermittent.
    2. NO:  Replace the PCM.
  7. STEP 7. Check A/T control solenoid valve assembly connector B-15 for loose, corroded or damaged terminals, or terminals pushed back in the connector. 
    Fig 11: Checking A/T Control Solenoid Valve Assembly Connector B-15
    G01876242Courtesy of MITSUBISHI MOTOR SALES OF AMERICA.

    Q: Are the connector and terminals in good condition? 

    1. YES:  Go to Step 8.
    2. NO:  Repair or replace the damaged components.
  8. STEP 8. Measure the resistance of the ground circuit at A/T control solenoid valve assembly connector B-15. 
    1. Disconnect connector B-15 and measure at the harness side.
      Fig 12: Disconnecting Connector B-15 & Measuring Harness Side
      G01876243Courtesy of MITSUBISHI MOTOR SALES OF AMERICA.
    2. Measure the resistance between terminal 2 and ground.
      • The resistance should measure less than 2 ohms.
      Fig 13: Measuring Resistance Between Terminal 2 & Ground
      G01876244Courtesy of MITSUBISHI MOTOR SALES OF AMERICA.

    Q: Is the resistance less than 2 ohms? 

    1. YES:  Go to  Step 5 .
    2. NO:  Go to  Step 12 .
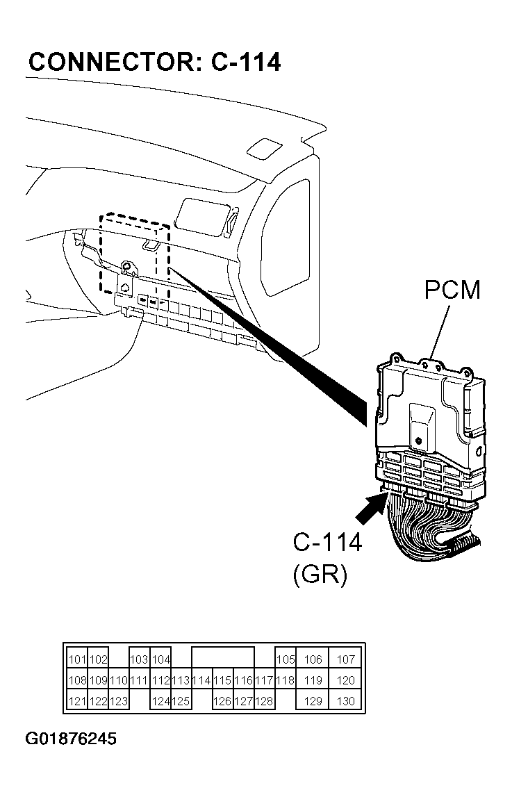
  9. STEP 9. Measure the sensor output voltage at PCM connector C-114 by backprobing. 
    1. Do not disconnect connector C-114.
    2. Turn the ignition switch to the "ON" position.
      Fig 14: Identifying Connector C-114
      G01876245Courtesy of MITSUBISHI MOTOR SALES OF AMERICA.
    3. Measure the voltage between terminal 124 and ground by backprobing.
      • When A/T fluid temperature is 20°C (68°F), voltage should measure between 3.8 and 4.0 volts.
      • When A/T fluid temperature is 40°C (104°F), voltage should measure between 3.2 and 3.4 volts.
      • When A/T fluid temperature is 80°C (176°F), voltage should measure between 1.7 and 1.9 volts.
      Fig 15: Measuring Voltage Between Terminal 124 & Ground
      G01876246Courtesy of MITSUBISHI MOTOR SALES OF AMERICA.
    4. Turn the ignition switch to the "LOCK" (OFF) position.

    Q: Is the measured voltage within the specified range? 

    1. YES:  Go to  Step 6 .
    2. NO:  Go to Step 10.
  10. STEP 10. Check PCM connector C-114 for loose, corroded or damaged terminals, or terminals pushed back in the connector. 
    Fig 16: Checking PCM Connector C-114
    G01876247Courtesy of MITSUBISHI MOTOR SALES OF AMERICA.

    Q: Are the connector and terminals in good condition? 

    1. YES:  Go to Step 11.
    2. NO:  Repair or replace the damaged components.
  11. STEP 11. Check the harness for open circuit or short circuit to ground between A/T control solenoid valve connector B-15 terminal 1 and PCM connector C-114 terminal 124. 
    Fig 17: Checking For Open Circuit Or Short Circuit To Ground A/T Control Solenoid Valve Connector B-15
    G01876248Courtesy of MITSUBISHI MOTOR SALES OF AMERICA.
    Fig 18: Checking For Open Circuit Or Short Circuit To Ground PCM Connector C-114
    G01876249Courtesy of MITSUBISHI MOTOR SALES OF AMERICA.

    Q: Is the harness wire in good condition? 

    1. YES:  Go to  Step 6 .
    2. NO:  Repair or replace the harness wire.
  12. STEP 12. Measure the ground voltage at PCM connector C-118 by backprobing. 
    Fig 19: Measuring Ground Voltage At PCM Connector C-118
    G01876250Courtesy of MITSUBISHI MOTOR SALES OF AMERICA.
    1. Do not disconnect connector C-118.
    2. Turn the ignition switch to the "ON" position.
    3. Measure the voltage between terminal 57 and ground by backprobing.
      • Voltage should measure 0.5 volt or less.
      Fig 20: Measuring Voltage Between Terminal 57 & Ground
      G01876251Courtesy of MITSUBISHI MOTOR SALES OF AMERICA.
    4. Turn the ignition switch to the "LOCK" (OFF) position.

    Q: Is the measured voltage within the specified range? 

    1. YES:  Go to Step 13.
    2. NO:  Go to  Step 14 .
  13. STEP 13. Check the harness for open circuit or damage between A/T control solenoid valve connector B-15 terminal 2 and PCM connector C-118 terminal 57. 
    Fig 21: Checking For Open Circuit Or Damage Of A/T Control Solenoid Valve Connector B-15
    G01876252Courtesy of MITSUBISHI MOTOR SALES OF AMERICA.
    Fig 22: Checking For Open Circuit Or Damage Of PCM Connector C-118
    G01876253Courtesy of MITSUBISHI MOTOR SALES OF AMERICA.

    Q: Is the harness wire in good condition? 

    1. YES:  Go to  Step 6 .
    2. NO:  Repair or replace the harness wire.
  14. STEP 14. Check PCM connector C-118 for loose, corroded or damaged terminals, or terminals pushed back in the connector. 
    Fig 23: Checking PCM Connector C-118
    G01876254Courtesy of MITSUBISHI MOTOR SALES OF AMERICA.

    Q: Are the connector and terminals in good condition? 

    1. YES:  Go to  Step 6 .
    2. NO:  Repair or replace the damaged components.