LEMON Manuals: Even more car manuals for everyone: 1960-2025
Home >> Mitsubishi >> 2004 >> Eclipse RS, Automatic >> Repair and Diagnosis (Single Page) >> Transmission >> Automatic Trans >> Automatic Transaxle On-Vehicle Service >> Automatic Transaxle Diagnosis >> Diagnostic Trouble Code Procedures >> DTC 54 (P1751): A/T Control Relay System >> LOGIC FLOW CHARTS (Monitor Sequence)
April 5, 2026: LEMON Manuals is launched! Read the announcement.

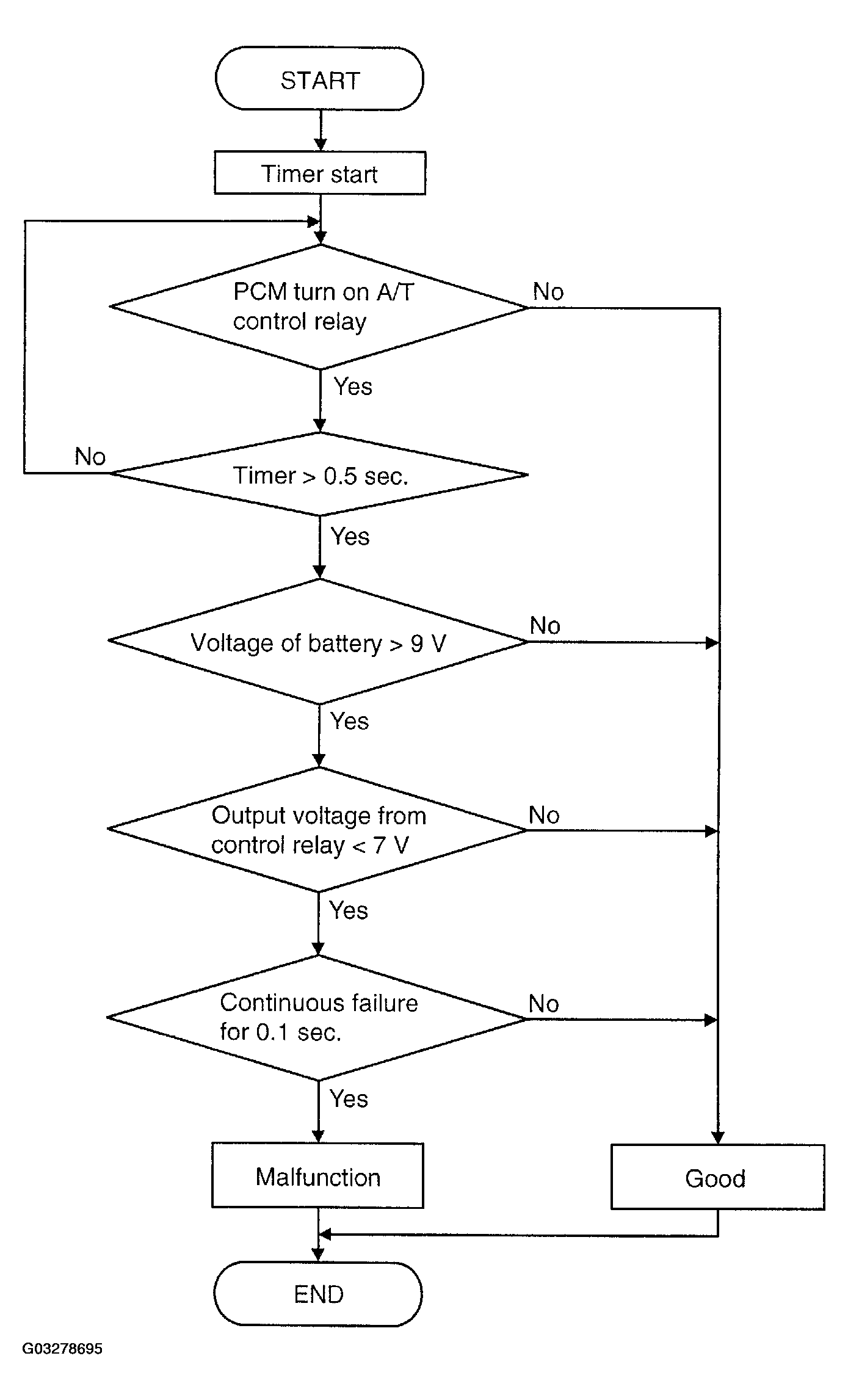
LOGIC FLOW CHARTS (Monitor Sequence)

Fig 1: Logic Flow Charts (Monitor Sequence)
G03278695Courtesy of MITSUBISHI MOTOR SALES OF AMERICA.