LEMON Manuals: Even more car manuals for everyone: 1960-2025
Home >> Mitsubishi >> 2004 >> Eclipse RS, Standard >> Repair and Diagnosis (Single Page) >> Accessories & Equipment >> Communication Devices >> Simplified Wiring System (SWS) >> Input Signal Procedures >> Inspection Procedure O-7: Column Switch: ETACS-Ecu Does Not Receive Any Signal From The Taillight Switch, The Headlight Switch, The Passing Light Switch, The Dimmer Switch, The Turn-Signal Light Switch Or Switch. >> Turn-Signal Light And Lighting Switch Input Circuit
April 5, 2026: LEMON Manuals is launched! Read the announcement.

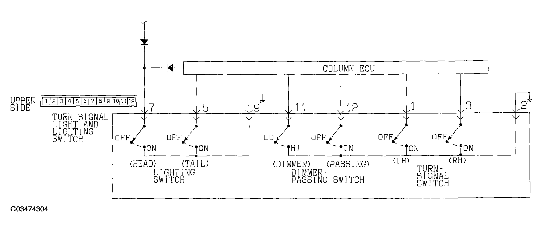
Turn-Signal Light And Lighting Switch Input Circuit

Fig 1: View Of Turn-Signal Light And Lighting Switch Input Circuit Diagram
G03474304Courtesy of MITSUBISHI MOTOR SALES OF AMERICA.