LEMON Manuals: Even more car manuals for everyone: 1960-2025
Home >> Mitsubishi >> 2004 >> Endeavor LS, AWD >> Repair and Diagnosis (Single Page) >> Accessories & Equipment >> Communication Devices >> Simplified Wiring System (SWS) >> Input Signal Procedures >> Inspection Procedure O-5: Column Switch: ETACS-Ecu Does Not Receive Any Signal From The Taillight Switch, The Headlight Switch, The Passing Switch, The Dimmer Switch Or The Turn-Signal Light Switch >> Turn-Signal Light And Lighting Switch Input Circuit
April 5, 2026: LEMON Manuals is launched! Read the announcement.

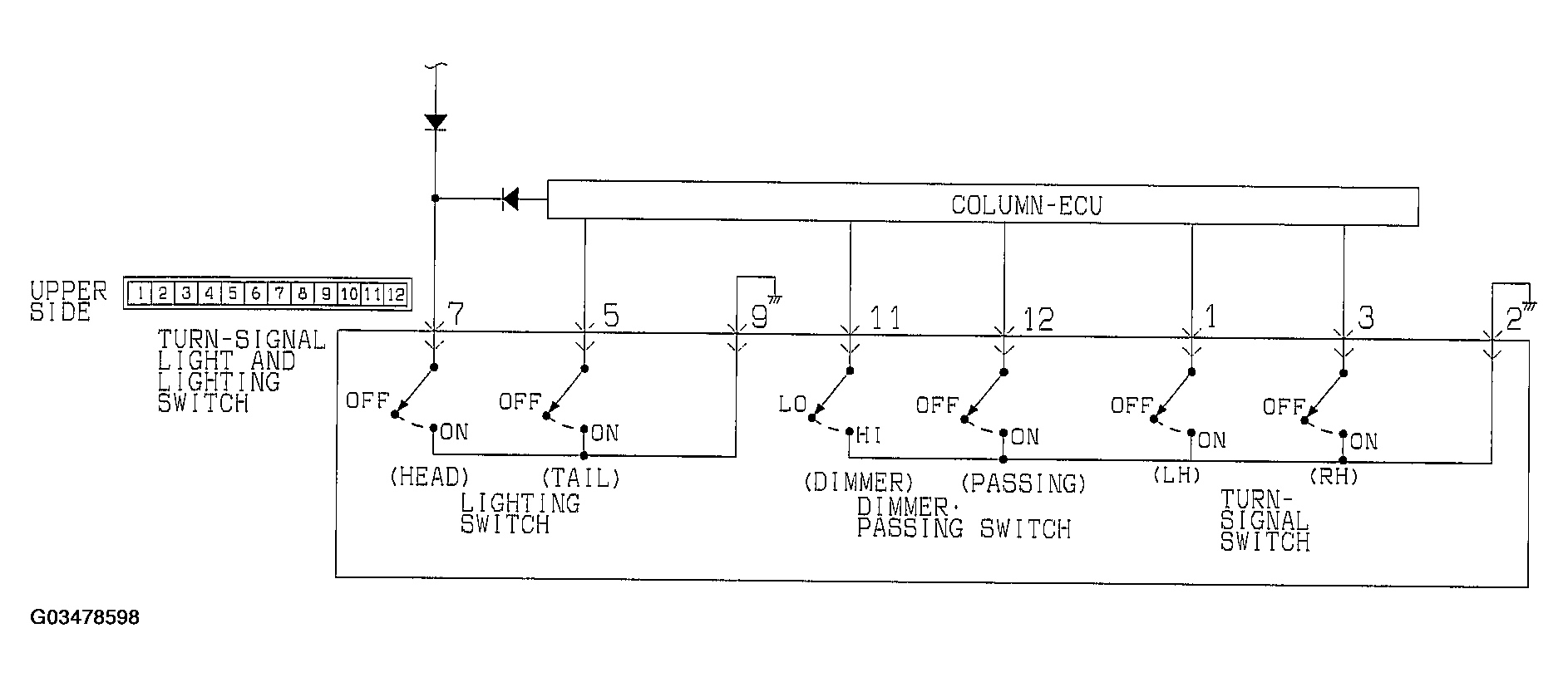
Turn-Signal Light And Lighting Switch Input Circuit

Fig 1: View Of Turn-Signal Light And Lighting Switch Input Circuit Diagram
G03478598Courtesy of MITSUBISHI MOTOR SALES OF AMERICA.