LEMON Manuals: Even more car manuals for everyone: 1960-2025
Home >> Mitsubishi >> 2004 >> Lancer Evolution >> Repair and Diagnosis (Single Page) >> Transmission >> Automatic Trans >> Diagnosis - 2.0L >> Automatic Transaxle Diagnosis >> Diagnostic Trouble Code Procedures >> DTC 54 (P1751): A/T Control Relay System >> LOGIC FLOW CHART (Monitor Sequence)
April 5, 2026: LEMON Manuals is launched! Read the announcement.

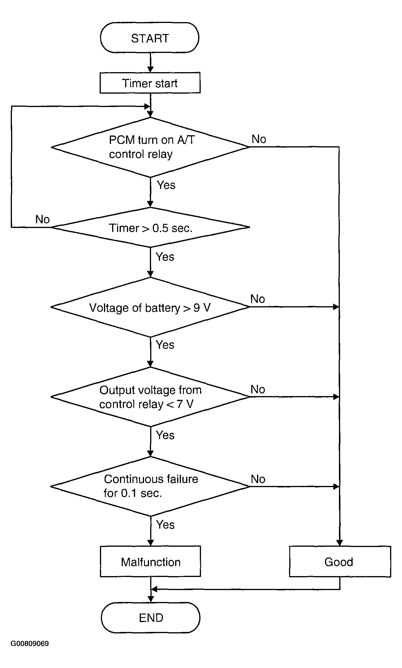
LOGIC FLOW CHART (Monitor Sequence)

Fig 1: Logic Flow Chart
G00809069Courtesy of MITSUBISHI MOTOR SALES OF AMERICA.