LEMON Manuals: Even more car manuals for everyone: 1960-2025
Home >> Mitsubishi >> 2004 >> Lancer Evolution >> Repair and Diagnosis (Single Page) >> Transmission >> Automatic Trans >> Diagnosis - 2.0L >> Transaxle Assembly >> Removal Service Points >> << E >> Engine Assembly Supporting
April 5, 2026: LEMON Manuals is launched! Read the announcement.

<< E >> Engine Assembly Supporting

  1. < Engine hanger (special tool MB991895) is used >
    1. Set special tool MB991895 (engine hanger) to the front fender assembling bolts (A and B) and radiator support upper insulator attaching bolts (C and D) as shown in illustration.
      Fig 1: Setting Special Tool To Front Fender Assembling Bolts And Radiator Support Upper Insulator Attaching Bolts
      G00809266Courtesy of MITSUBISHI MOTOR SALES OF AMERICA.
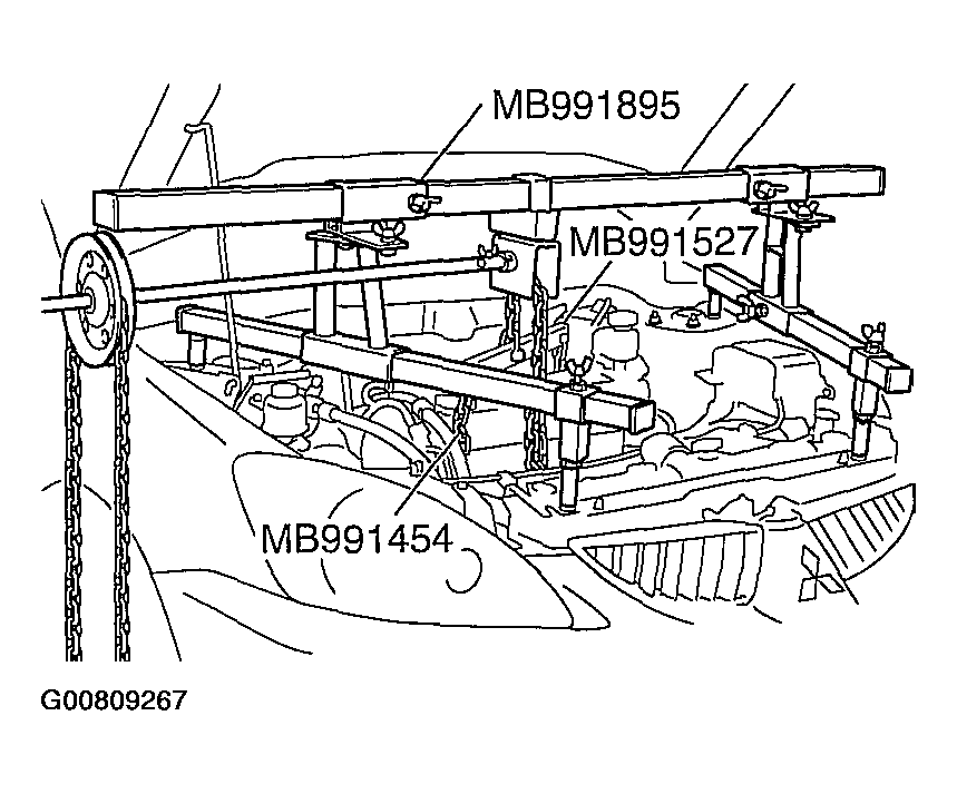
    2. Set special tool MB991527 (hanger) and MB991454 (chain) to hold the engine/transaxle assembly.
      Fig 2: Setting Special Tools To Hold Engine/Transaxle Assembly
      G00809267Courtesy of MITSUBISHI MOTOR SALES OF AMERICA.
  2. < Engine hanger (special tool MB991928) is used >
    1. Assemble the engine hanger (special tool MB991928). Attach following parts to the base hanger.)
      • SLIDE BRACKET (HI)
      • JOINT (140) (MB991931) < FRONT SIDE >
      • FOOT (STANDARD) (MB991932) < FRONT SIDE >
      • JOINT (90) (MB991930) < REAR SIDE >
      • FOOT (SHORT) (MB991933) < REAR SIDE >
      Fig 3: Assembling Engine Hanger
      G00809268Courtesy of MITSUBISHI MOTOR SALES OF AMERICA.
    2. Set special tool MB991928 (engine hanger) to the front fender assembling bolts (A and B) and radiator support upper insulator attaching bolts (C and D) as shown.
      Fig 4: Setting Special Tool To Front Fender Assembling Bolts And Radiator Support Upper Insulator Attaching Bolts
      G00809269Courtesy of MITSUBISHI MOTOR SALES OF AMERICA.
    3. Position special tool MB991527 (hanger) and MB991454 (chain) to hold the engine/transaxle assembly.
      NOTE: Adjust the engine hanger balance by sliding the slide bracket (HI).
      Fig 5: Positioning Special Tool To Hold Engine/Transaxle Assembly
      G00809270Courtesy of MITSUBISHI MOTOR SALES OF AMERICA.