LEMON Manuals: Even more car manuals for everyone: 1960-2025
Home >> Mitsubishi >> 2004 >> Lancer Evolution >> Repair and Diagnosis >> External Pages >> Different variant/trim >> Section 3 (Electrical Component Locator - Except Evolution) >> Component Location Graphics
April 5, 2026: LEMON Manuals is launched! Read the announcement.

Component Location Graphics

WARNING: This page is about a different variant/trim than selected.
NOTE: Figures may show multiple component locations. Refer to appropriate table for proper figure references.
Fig 1: Control Units (1 Of 9)
G00270013Courtesy of MITSUBISHI MOTOR SALES OF AMERICA.
Fig 2: Control Units (2 Of 9)
G00270014Courtesy of MITSUBISHI MOTOR SALES OF AMERICA.
Fig 3: Control Units (3 Of 9)
G00270015Courtesy of MITSUBISHI MOTOR SALES OF AMERICA.
Fig 4: Control Units (4 Of 9)
G00270016Courtesy of MITSUBISHI MOTOR SALES OF AMERICA.
Fig 5: Control Units (5 Of 9)
G00270017Courtesy of MITSUBISHI MOTOR SALES OF AMERICA.
Fig 6: Control Units (6 Of 9)
G00270018Courtesy of MITSUBISHI MOTOR SALES OF AMERICA.
Fig 7: Control Units (7 Of 9)
G00270019Courtesy of MITSUBISHI MOTOR SALES OF AMERICA.
Fig 8: Control Units (8 Of 9)
G00270020Courtesy of MITSUBISHI MOTOR SALES OF AMERICA.
Fig 9: Control Units (9 Of 9)
G00270021Courtesy of MITSUBISHI MOTOR SALES OF AMERICA.
Fig 10: Fuse & Fusible Link (1 Of 2)
G00270022Courtesy of MITSUBISHI MOTOR SALES OF AMERICA.
Fig 11: Fuse & Fusible Link (2 Of 2)
G00270024Courtesy of MITSUBISHI MOTOR SALES OF AMERICA.
Fig 12: Grounds (1 Of 17)
G00270026Courtesy of MITSUBISHI MOTOR SALES OF AMERICA.
Fig 13: Grounds (2 Of 17)
G00270027Courtesy of MITSUBISHI MOTOR SALES OF AMERICA.
Fig 14: Grounds (3 Of 17)
G00270028Courtesy of MITSUBISHI MOTOR SALES OF AMERICA.
Fig 15: Grounds (4 Of 17)
G00270029Courtesy of MITSUBISHI MOTOR SALES OF AMERICA.
Fig 16: Grounds (5 Of 17)
G00270030Courtesy of MITSUBISHI MOTOR SALES OF AMERICA.
Fig 17: Grounds (6 Of 17)
G00270031Courtesy of MITSUBISHI MOTOR SALES OF AMERICA.
Fig 18: Grounds (7 Of 17)
G00270032Courtesy of MITSUBISHI MOTOR SALES OF AMERICA.
Fig 19: Grounds (8 Of 17)
G00270033Courtesy of MITSUBISHI MOTOR SALES OF AMERICA.
Fig 20: Grounds (9 Of 17)
G00270034Courtesy of MITSUBISHI MOTOR SALES OF AMERICA.
Fig 21: Grounds (10 Of 17)
G00270035Courtesy of MITSUBISHI MOTOR SALES OF AMERICA.
Fig 22: Grounds (11 Of 17)
G00270036Courtesy of MITSUBISHI MOTOR SALES OF AMERICA.
Fig 23: Grounds (12 Of 17)
G00270037Courtesy of MITSUBISHI MOTOR SALES OF AMERICA.
Fig 24: Grounds (13 Of 17)
G00270039Courtesy of MITSUBISHI MOTOR SALES OF AMERICA.
Fig 25: Grounds (14 Of 17)
G00270038Courtesy of MITSUBISHI MOTOR SALES OF AMERICA.
Fig 26: Grounds (15 Of 17)
G00270040Courtesy of MITSUBISHI MOTOR SALES OF AMERICA.
Fig 27: Grounds (16 Of 17)
G00270041Courtesy of MITSUBISHI MOTOR SALES OF AMERICA.
Fig 28: Grounds (17 Of 17)
G00270042Courtesy of MITSUBISHI MOTOR SALES OF AMERICA.
Fig 29: Grounding Cable (2.0L)
G00270043Courtesy of MITSUBISHI MOTOR SALES OF AMERICA.
Fig 30: Grounding Cable (2.4L)
G00270044Courtesy of MITSUBISHI MOTOR SALES OF AMERICA.
Fig 31: Inspection Terminal (1 Of 2)
G00270045Courtesy of MITSUBISHI MOTOR SALES OF AMERICA.
Fig 32: Inspection Terminal (2 Of 2)
G00270046Courtesy of MITSUBISHI MOTOR SALES OF AMERICA.
Fig 33: Other Devices (1 Of 6)
G00270047Courtesy of MITSUBISHI MOTOR SALES OF AMERICA.
Fig 34: Other Devices (2 Of 6)
G00270048Courtesy of MITSUBISHI MOTOR SALES OF AMERICA.
Fig 35: Other Devices (3 Of 6)
G00270049Courtesy of MITSUBISHI MOTOR SALES OF AMERICA.
Fig 36: Other Devices (4 Of 6)
G00270050Courtesy of MITSUBISHI MOTOR SALES OF AMERICA.
Fig 37: Other Devices (5 Of 6)
G00270051Courtesy of MITSUBISHI MOTOR SALES OF AMERICA.
Fig 38: Other Devices (6 Of 6)
G00270052Courtesy of MITSUBISHI MOTOR SALES OF AMERICA.
Fig 39: Relays (1 Of 2)
G00270053Courtesy of MITSUBISHI MOTOR SALES OF AMERICA.
Fig 40: Relays (2 Of 2)
G00270054Courtesy of MITSUBISHI MOTOR SALES OF AMERICA.
Fig 41: Sensors (1 Of 25)
G00270055Courtesy of MITSUBISHI MOTOR SALES OF AMERICA.
Fig 42: Sensors (2 Of 25)
G00270056Courtesy of MITSUBISHI MOTOR SALES OF AMERICA.
Fig 43: Sensors (3 Of 25)
G00270057Courtesy of MITSUBISHI MOTOR SALES OF AMERICA.
Fig 44: Sensors (4 Of 25)
G00270058Courtesy of MITSUBISHI MOTOR SALES OF AMERICA.
Fig 45: Sensors (5 Of 25)
G00270059Courtesy of MITSUBISHI MOTOR SALES OF AMERICA.
Fig 46: Sensors (6 Of 25)
G00270060Courtesy of MITSUBISHI MOTOR SALES OF AMERICA.
Fig 47: Sensors (7 Of 25)
G00270061Courtesy of MITSUBISHI MOTOR SALES OF AMERICA.
Fig 48: Sensors (8 Of 25)
G00270062Courtesy of MITSUBISHI MOTOR SALES OF AMERICA.
Fig 49: Sensors (9 Of 25)
G00270063Courtesy of MITSUBISHI MOTOR SALES OF AMERICA.
Fig 50: Sensors (10 Of 25)
G00270064Courtesy of MITSUBISHI MOTOR SALES OF AMERICA.
Fig 51: Sensors (11 Of 25)
G00270065Courtesy of MITSUBISHI MOTOR SALES OF AMERICA.
Fig 52: Sensors (12 Of 25)
G00270066Courtesy of MITSUBISHI MOTOR SALES OF AMERICA.
Fig 53: Sensors (13 Of 25)
G00270067Courtesy of MITSUBISHI MOTOR SALES OF AMERICA.
Fig 54: Sensors (14 Of 25)
G00270068Courtesy of MITSUBISHI MOTOR SALES OF AMERICA.
Fig 55: Sensors (15 Of 25)
G00270069Courtesy of MITSUBISHI MOTOR SALES OF AMERICA.
Fig 56: Sensors (16 Of 25)
G00270070Courtesy of MITSUBISHI MOTOR SALES OF AMERICA.
Fig 57: Sensors (17 Of 25)
G00270071Courtesy of MITSUBISHI MOTOR SALES OF AMERICA.
Fig 58: Sensors (18 Of 25)
G00270072Courtesy of MITSUBISHI MOTOR SALES OF AMERICA.
Fig 59: Sensors (19 Of 25)
G00270073Courtesy of MITSUBISHI MOTOR SALES OF AMERICA.
Fig 60: Sensors (20 Of 25)
G00270074Courtesy of MITSUBISHI MOTOR SALES OF AMERICA.
Fig 61: Sensors (21 Of 25)
G00270075Courtesy of MITSUBISHI MOTOR SALES OF AMERICA.
Fig 62: Sensors (22 Of 25)
G00270076Courtesy of MITSUBISHI MOTOR SALES OF AMERICA.
Fig 63: Sensors (23 Of 25)
G00270077Courtesy of MITSUBISHI MOTOR SALES OF AMERICA.
Fig 64: Sensors (24 Of 25)
G00270078Courtesy of MITSUBISHI MOTOR SALES OF AMERICA.
Fig 65: Sensors (25 Of 25)
G00270079Courtesy of MITSUBISHI MOTOR SALES OF AMERICA.
Fig 66: Solenoids & Solenoid Valves (1 Of 7)
G00270080Courtesy of MITSUBISHI MOTOR SALES OF AMERICA.
Fig 67: Solenoids & Solenoid Valves (2 Of 7)
G00270081Courtesy of MITSUBISHI MOTOR SALES OF AMERICA.
Fig 68: Solenoids & Solenoid Valves (3 Of 7)
G00270082Courtesy of MITSUBISHI MOTOR SALES OF AMERICA.
Fig 69: Solenoids & Solenoid Valves (4 Of 7)
G00270083Courtesy of MITSUBISHI MOTOR SALES OF AMERICA.
Fig 70: Solenoids & Solenoid Valves (5 Of 7)
G00270084Courtesy of MITSUBISHI MOTOR SALES OF AMERICA.
Fig 71: Solenoids & Solenoid Valves (6 Of 7)
G00270085Courtesy of MITSUBISHI MOTOR SALES OF AMERICA.
Fig 72: Solenoids & Solenoid Valves (7 Of 7)
G00270086Courtesy of MITSUBISHI MOTOR SALES OF AMERICA.
Fig 73: Dash Panel
G00270087Courtesy of MITSUBISHI MOTOR SALES OF AMERICA.
Fig 74: Dash Panel
G00270088Courtesy of MITSUBISHI MOTOR SALES OF AMERICA.
Fig 75: Dash Panel
G00270089Courtesy of MITSUBISHI MOTOR SALES OF AMERICA.
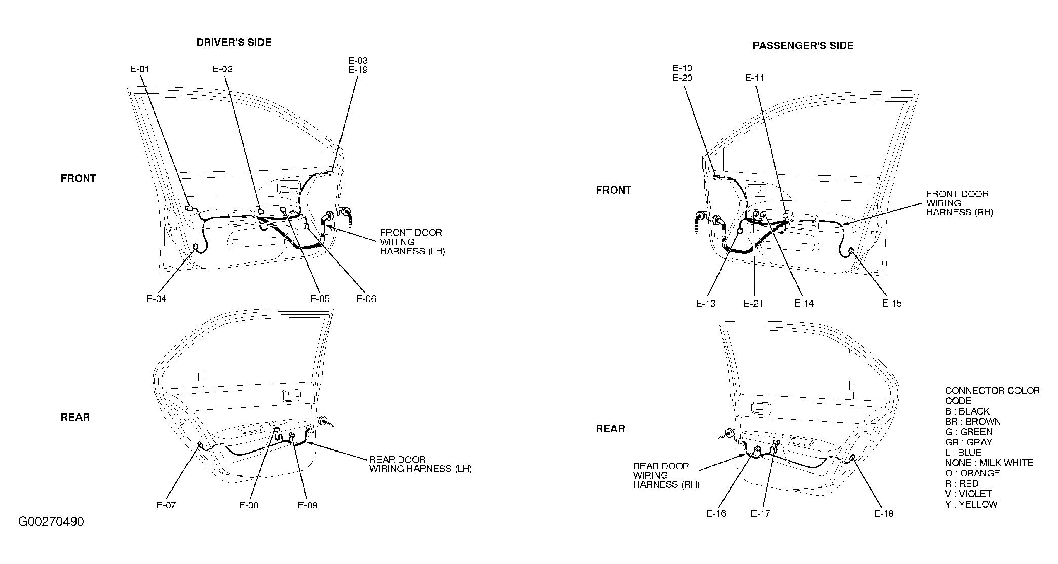
Fig 76: Door
G00270490Courtesy of MITSUBISHI MOTOR SALES OF AMERICA.
Fig 77: Engine & Transaxle (2.0L)
G00270491Courtesy of MITSUBISHI MOTOR SALES OF AMERICA.
Fig 78: Engine & Transaxle (2.0L)
G00270492Courtesy of MITSUBISHI MOTOR SALES OF AMERICA.
Fig 79: Engine & Transaxle (2.4L)
G00270493Courtesy of MITSUBISHI MOTOR SALES OF AMERICA.
Fig 80: Engine & Transaxle (2.4L)
G00270494Courtesy of MITSUBISHI MOTOR SALES OF AMERICA.
Fig 81: Engine Compartment
G00270495Courtesy of MITSUBISHI MOTOR SALES OF AMERICA.
Fig 82: Floor & Roof
G00270496Courtesy of MITSUBISHI MOTOR SALES OF AMERICA.
Fig 83: Luggage Compartment
G00270497Courtesy of MITSUBISHI MOTOR SALES OF AMERICA.
Fig 84: Dash Panel
G00270498Courtesy of MITSUBISHI MOTOR SALES OF AMERICA.
Fig 85: Dash Panel
G00270499Courtesy of MITSUBISHI MOTOR SALES OF AMERICA.
Fig 86: Dash Panel
G00270500Courtesy of MITSUBISHI MOTOR SALES OF AMERICA.
Fig 87: Front Doors
G00270501Courtesy of MITSUBISHI MOTOR SALES OF AMERICA.
Fig 88: Engine & Transaxle (2.0L)
G00270502Courtesy of MITSUBISHI MOTOR SALES OF AMERICA.
Fig 89: Engine & Transaxle (2.4L)
G00270503Courtesy of MITSUBISHI MOTOR SALES OF AMERICA.
Fig 90: Engine Compartment
G00270504Courtesy of MITSUBISHI MOTOR SALES OF AMERICA.
Fig 91: Floor & Roof
G00270505Courtesy of MITSUBISHI MOTOR SALES OF AMERICA.
Fig 92: Luggage Compartment
G00270506Courtesy of MITSUBISHI MOTOR SALES OF AMERICA.