LEMON Manuals: Even more car manuals for everyone: 1960-2025
Home >> Mitsubishi >> 2004 >> Lancer LS >> Repair and Diagnosis (Single Page) >> Drivelines & Axles >> Wheel Hubs >> Front Axle Hub Assembly & Drive Shafts - Except Evolution & SPORTBACK >> Front Axle Hub Assembly >> Disassembly And Assembly >> Reassembly Service Points >> << A >> Wheel Bearing Installation
April 5, 2026: LEMON Manuals is launched! Read the announcement.

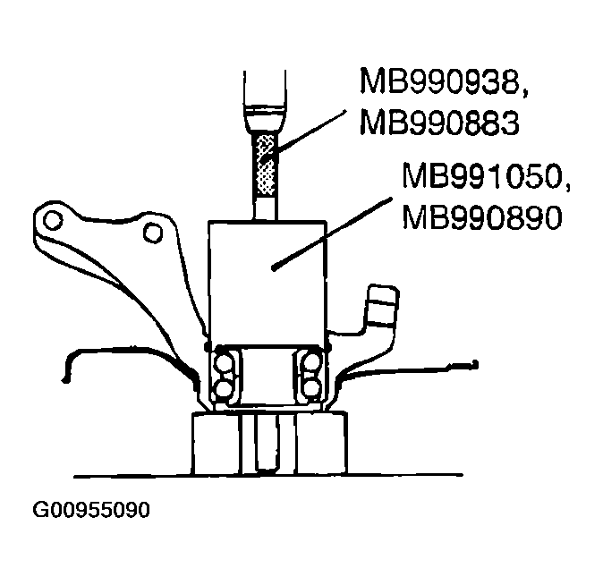
<< A >> Wheel Bearing Installation

  1. Fill the wheel bearing with multipurpose grease.
  2. Apply a thin coating of multipurpose grease to the knuckle. and bearing contact surfaces.
    CAUTION: Press the outer race when pressing-in wheel bearing. Otherwise the wheel bearing will be damaged.
  3. Press-in the bearing by using special tools MB990938, MB991050 < Vehicles without center bearing: LL, L>, MB990883, MB990890 < Vehicles without center bearing: M, SPORT, Vehicles with center bearing<.
    Fig 1: Pressing Bearing By Using Special Tools
    G00955090Courtesy of MITSUBISHI MOTOR SALES OF AMERICA.