LEMON Manuals: Even more car manuals for everyone: 1960-2025
Home >> Mitsubishi >> 2005 >> Endeavor LS, AWD >> Repair and Diagnosis (Single Page) >> Accessories & Equipment >> Communication Devices >> Simplified Wiring System (SWS) >> Symptom Procedures >> Flasher Timer >> INSPECTION PROCEDURE J-1: Flasher Timer: Turn-Signal Lights Do Not Flash When The Turn-Signal Light Switch Is Turned On. >> Notes
April 5, 2026: LEMON Manuals is launched! Read the announcement.

INSPECTION PROCEDURE J-1: Flasher Timer: Turn-Signal Lights Do Not Flash When The Turn-Signal Light Switch Is Turned On.: Notes

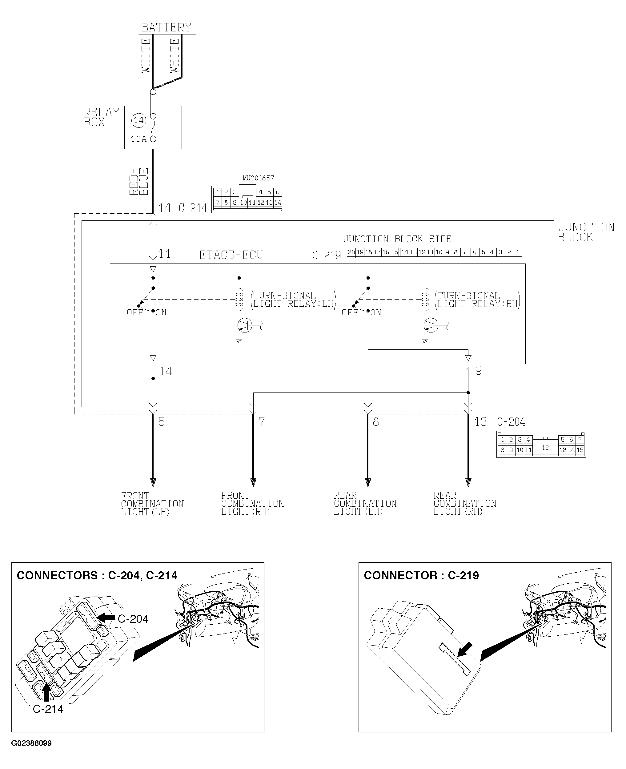
NOTE: This troubleshooting procedure requires the use of scan tool MB991958 and SWS monitor kit MB991813. For details on how to use the SWS monitor, refer to "HOW TO USE SWS MONITOR ".
Fig 1: Turn-Signal Light Power Supply Circuit Diagram
G02388099Courtesy of MITSUBISHI MOTOR SALES OF AMERICA.