LEMON Manuals: Even more car manuals for everyone: 1960-2025
Home >> Mitsubishi >> 2005 >> Lancer ES, Automatic >> Repair and Diagnosis >> Restraints >> Restraints Control Systems >> Supplemental Restraints System -- Except Evolution >> SRS Air Bag Diagnosis >> Diagnostic Trouble Code Procedures >> DTC 71: Side-Airbag Module (RH) (Squib) System Fault 1 (Short Circuit between Terminals of the Squib Circuit) >> Notes
April 5, 2026: LEMON Manuals is launched! Read the announcement.

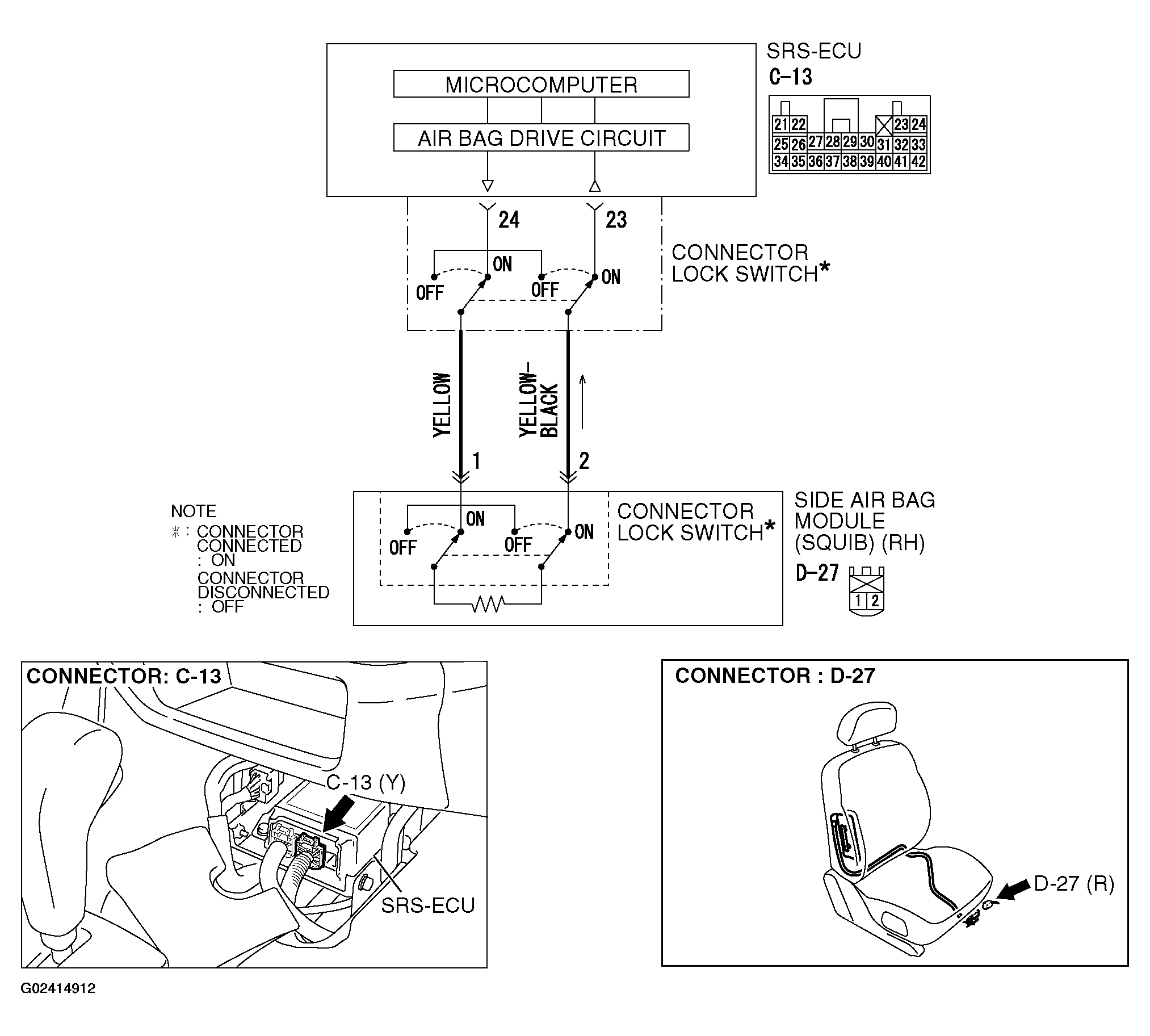
DTC 71: Side-Airbag Module (RH) (Squib) System Fault 1 (Short Circuit between Terminals of the Squib Circuit): Notes

Fig 1: Side-Airbag Module (RH) (Squib) Circuit
G02414912Courtesy of MITSUBISHI MOTOR SALES OF AMERICA.