LEMON Manuals: Even more car manuals for everyone: 1960-2025
Home >> Mitsubishi >> 2005 >> Lancer Evolution >> Repair and Diagnosis >> External Pages >> Different variant/trim >> Section 30 (Front Axle -- Except Evolution) >> Drive Shaft Assembly >> Disassembly And Assembly >> Assembly Service Points >> >> A << Dynamic Damper/Damper Band/ETJ Boot Installation
April 5, 2026: LEMON Manuals is launched! Read the announcement.

>> A << Dynamic Damper/Damper Band/ETJ Boot Installation

WARNING: This page is about a different variant/trim than selected.
CAUTION: There should be no grease adhered to the rubber part of the dynamic damper.
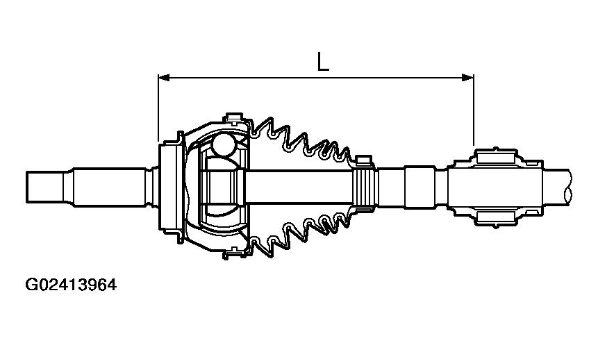
  1. Install the dynamic damper in the position (L) shown in the illustration.
    • L: 230 +/- 3 mm (9.1 +/- 0.12 inches) 
  2. Secure the damper bands.
  3. Wrap plastic tape around the shaft spline, and then install the ETJ boot band (small) and ETJ boot.
    Fig 1: Installing ETJ Boot Band (Small) And ETJ Boot
    G02413964Courtesy of MITSUBISHI MOTOR SALES OF AMERICA.