LEMON Manuals: Even more car manuals for everyone: 1960-2025
Home >> Mitsubishi >> 2005 >> Montero >> Repair and Diagnosis >> External Pages >> Different car >> Section 34 (Traction Control/Active Skid Control System) >> M-ASTC Diagnosis >> Diagnostic Trouble Code Procedures >> DTC 17: Defective active skid control switch >> Diagnosis
April 5, 2026: LEMON Manuals is launched! Read the announcement.

DTC 17: Defective active skid control switch: Diagnosis

WARNING: This page is about a different car, the 2006 Mitsubishi Montero. However, it is still accessible from the selected car via links, so may be relevant.

Required Special Tools: 

  1. STEP 1. Check active skid control switch connector E-125. 

    Q: Is active skid control switch connector E-125 in good condition? 

    YES  : Go to  Step 2.

    NO  : Repair or replace the connector.

    Fig 1: Identifying Active Skid Control Switch Connector E-125
    G04712117Courtesy of MITSUBISHI MOTOR SALES OF AMERICA.
  2. STEP 2. Check the active skid control switch continuity. 
    1. Remove the active skid control switch (Refer to BRAKE PEDAL ).
    2. Connect an ohmmeter between to active skid control switch connector terminals.
    TESTER CONNECTION AND SPECIFIED CONDITION CHART

    ACTIVE SKID CONTROL SWITCH CONDITION TESTER CONNECTION SPECIFIED CONDITION
    ON 3 - 6 Less than 2 ohms
    2 - 3, 2 - 6 Open circuit
    Neutral 2 - 3, 2 - 6, 3 - 6 Open circuit
    OFF 2 - 3 Less than 2 ohms
    2 - 6, 3 - 6 Open circuit
    Fig 2: Checking Active Skid Control Switch Continuity
    G04712118Courtesy of MITSUBISHI MOTOR SALES OF AMERICA.

    Q:Is the active skid control switch in good condition? 

    YES  : Go to  Step 3.

    NO  : Replace the active skid control switch, and then go to  Step 9.

  3. STEP 3. Check the ground to the active skid control switch. Measure the resistance at active skid control switch connector E-125. 
    1. Disconnect active skid control switch connector E-125, and measure the resistance at the harness-side connector.
      Fig 3: Identifying Active Skid Control Switch Connector E-125
      G04712119Courtesy of MITSUBISHI MOTOR SALES OF AMERICA.
    2. Measure the resistance between active skid control switch connector E-125 terminal 3 and body ground.
      • The resistance should measure 2 ohms or less.

    Q: Does the resistance measure 2 ohms or less? 

    YES  : Go to  Step 5.

    NO  : Go to  Step 4.

    Fig 4: Measuring Resistance Between Active Skid Control Switch Connector E-125 Terminal 3 And Body Ground
    G04712120Courtesy of MITSUBISHI MOTOR SALES OF AMERICA.
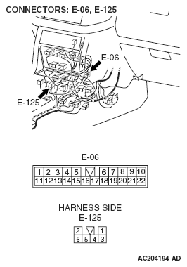
  4. STEP 4. Check the wiring harness between active skid control switch connector E-125 terminal 3 and the body ground. 
    NOTE: Also check intermediate connector E-06 for loose, corroded, or damaged terminals, or terminals pushed back in the connector. If intermediate connector E-06 is damaged, repair or replace the damaged component(s) as described in HARNESS CONNECTOR INSPECTION . If the connector has been repaired or replaced, go to  STEP 9.

    Q:Is the wiring harness between active skid control switch connector E-125 terminal 3 and the body ground in good condition? 

    YES  : Go to  Step 9.

    NO  : Repair the wiring harness, and then go to  Step 9.

    Fig 5: Identifying Active Skid Control Switch Connectors E-06 And E-125
    G04712121Courtesy of MITSUBISHI MOTOR SALES OF AMERICA.
  5. STEP 5. Check the wiring harness between M-ASTC-ECU connector E-121 terminal 78 and the body ground. 
    NOTE: Also check intermediate connector E-06 and E-122 for loose, corroded, or damaged terminals, or terminals pushed back in connectors. If intermediate connector E-06 or E-122 is damaged, repair or replace the damaged component(s) as described in HARNESS CONNECTOR INSPECTION . If the connector has been repaired or replaced, go to  STEP 9.

    Q:Is the wiring harness between M-ASTC-ECU connector E-121 terminal 78 and the body ground in good condition? 

    YES  : Go to  Step 6.

    NO  : Go to  Step 7.

    Fig 6: Identifying Active Skid Control Switch Connectors E-06, E-121, E-122 And E-125
    G04712122Courtesy of MITSUBISHI MOTOR SALES OF AMERICA.
  6. STEP 6. Check the wiring harness between active skid control switch connector E-125 terminal 6 and M-ASTC-ECU connector E-121 terminal 78. 
    NOTE: Also check intermediate connector E-06 and E-122 for loose, corroded, or damaged terminals, or terminals pushed back in connectors. If intermediate connector E-06 or E-122 is damaged, repair or replace the damaged component(s) as described in HARNESS CONNECTOR INSPECTION . If the connector has been repaired or replaced, go to  STEP 9.

    Q:Is the wiring harness between active skid control switch connector E-125 terminal 6 and M-ASTC-ECU connector E-121 terminal 78 in good condition? 

    YES  : Go to  Step 7.

    NO  : Repair the wiring harness, and then go to  Step 9.

    Fig 7: Identifying Active Skid Control Switch Connectors E-06, E-121, E-122 And E-125
    G04712123Courtesy of MITSUBISHI MOTOR SALES OF AMERICA.
  7. STEP 7. Check the wiring harness between M-ASTC-ECU connector E-121 terminal 85 and the body ground. 
    NOTE: Also check intermediate connector E-06 and E-122 for loose, corroded, or damaged terminals, or terminals pushed back in connectors. If intermediate connector E-06 or E-122 is damaged, repair or replace the damaged component(s) as described in HARNESS CONNECTOR INSPECTION . If the connector has been repaired or replaced, go to  STEP 9.

    Q:Is the wiring harness between M-ASTC-ECU connector E-121 terminal 85 and the body ground in good condition? 

    YES  : Go to  Step 9.

    NO  : Go to  Step 8.

    Fig 8: Identifying Active Skid Control Switch Connectors E-06, E-121, E-122 And E-125
    G04712124Courtesy of MITSUBISHI MOTOR SALES OF AMERICA.
  8. STEP 8. Check the wiring harness between active skid control switch connector E-125 terminal 2 and M-ASTC-ECU connector E-121 terminal 85. 
    NOTE: Also check intermediate connector E-06 and E-122 for loose, corroded, or damaged terminals, or terminals pushed back in connectors. If intermediate connector E-06 or E-122 is damaged, repair or replace the damaged component(s) as described in HARNESS CONNECTOR INSPECTION . If the connector has been repaired or replaced, go to  STEP 9.

    Q:Is the wiring harness between active skid control switch connector E-125 terminal 2 and M-ASTC-ECU connector E-121 terminal 85 in good condition? 

    YES  : Replace the M-ASTC-ECU, and then go to  Step 9.

    NO  : Repair the wiring harness, and then go to  Step 9.

    Fig 9: Identifying Active Skid Control Switch Connectors E-06, E-121, E-122 And E-125
    G04712125Courtesy of MITSUBISHI MOTOR SALES OF AMERICA.
  9. STEP 9. Recheck for diagnostic trouble code. 

    Q:Does DTC 17 reset? 

    YES  : Return to  Step 1.

    NO  : The procedure is complete.