LEMON Manuals: Even more car manuals for everyone: 1960-2025
Home >> Mitsubishi >> 2006 >> Eclipse GT, Standard >> Repair and Diagnosis (Single Page) >> Accessories & Equipment >> Communication Devices >> Simplified Wiring System >> Symptom Procedures >> Power Windows >> INSPECTION PROCEDURE D-4: Power Window: Power window (RH) does not work normally by operating the power window sub switch. >> Notes
April 5, 2026: LEMON Manuals is launched! Read the announcement.

INSPECTION PROCEDURE D-4: Power Window: Power window (RH) does not work normally by operating the power window sub switch.: Notes

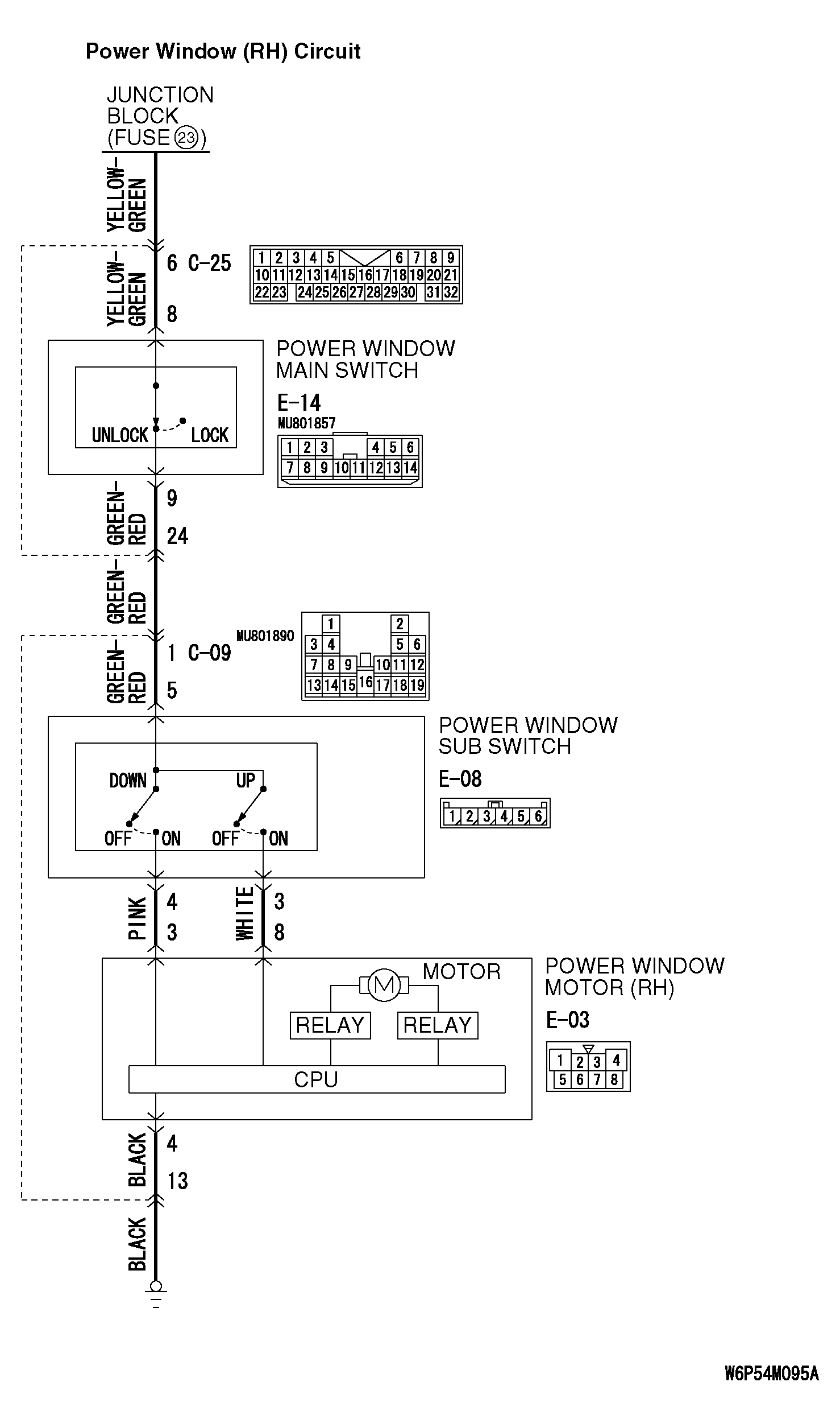
Fig 1: Power Window (RH) Circuit Diagram (1 Of 2)
G04239405Courtesy of MITSUBISHI MOTOR SALES OF AMERICA.
Fig 2: Power Window (RH) Circuit Diagram (2 Of 2)
G04239406Courtesy of MITSUBISHI MOTOR SALES OF AMERICA.