LEMON Manuals: Even more car manuals for everyone: 1960-2025
Home >> Mitsubishi >> 2006 >> Endeavor LS, AWD >> Repair and Diagnosis >> Restraints >> Restraints Control Systems >> Supplemental Restraint System >> SRS Air Bag Diagnosis >> Diagnostic Trouble Code Procedures >> DTC B1488: Passenger's Air Bag OFF Indicator Light Drive Circuit System Fault 2. >> Notes
April 5, 2026: LEMON Manuals is launched! Read the announcement.

DTC B1488: Passenger's Air Bag OFF Indicator Light Drive Circuit System Fault 2.: Notes

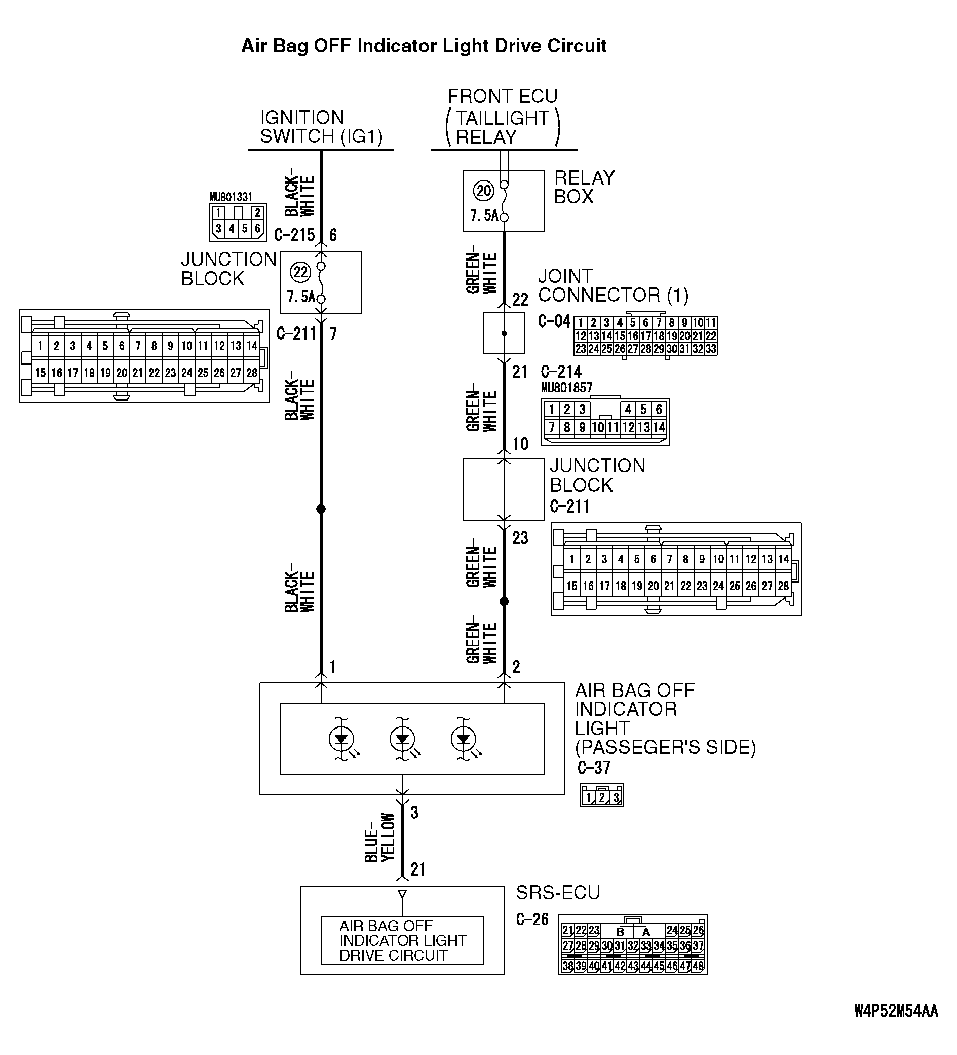
Fig 1: Air Bag OFF Indicator Light Drive - Circuit Diagram
G04289091Courtesy of MITSUBISHI MOTOR SALES OF AMERICA.
CAUTION: If DTC B1488 is set in the SRS-ECU, always diagnose the CAN main bus line.