LEMON Manuals: Even more car manuals for everyone: 1960-2025
Home >> Mitsubishi >> 2006 >> Lancer Evolution >> Repair and Diagnosis >> Steering >> Steering Column >> Power Steering - Lancer Evolution >> Power Steering Gear Box And Linkage >> Disassembly And Assembly >> Assembly Service Points >> >> K << Total Pinion Torque Adjustment
April 5, 2026: LEMON Manuals is launched! Read the announcement.

>> K << Total Pinion Torque Adjustment

CAUTION:
  • Be sure there is no ratcheting or catching when operating the rack towards the shaft. 
  • Measure the total pinion torque through the whole stroke of the rack. 
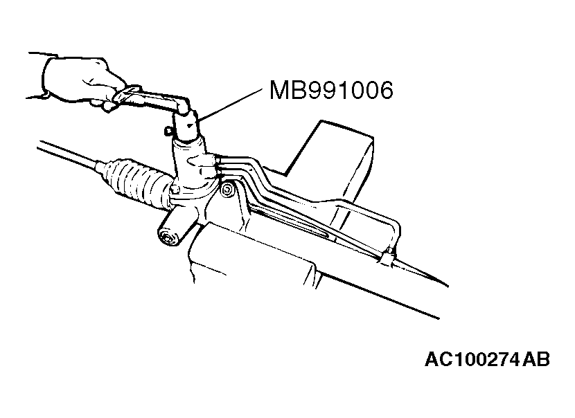
  1. Using special tool MB991006, rotate the pinion shaft at the rate of one rotation in four to six seconds to check the total pinion torque and the change in torque.

    Standard value: 0.8 - 1.8 N. m (7.1 - 15.9 in-lb) 

    [Change in torque: 0.49 N. m (4.3 in-lb) or less] 

    CAUTION: When adjusting, set at the highest value of the standard value range.
  2. If the total pinion torque or the change in torque is outside the standard value, move the rack support cover 0 -30 degrees, and adjust the pinion torque again.
    NOTE: If the total pinion toque cannot be adjusted to the standard value within the specified return angle, check the rack support cover components and replace any parts if necessary.
    Fig 1: Rotating Pinion Shaft Using Special Tool
    G04297634Courtesy of MITSUBISHI MOTOR SALES OF AMERICA.