LEMON Manuals: Even more car manuals for everyone: 1960-2025
Home >> Mitsubishi >> 2006 >> Raider XLS, 4WD >> Repair and Diagnosis >> Engine Performance >> Engine Control Systems >> Electronic Control Modules >> Diagnosis And Testing >> *No Response From Abs (Antilock Brake Module) >> Diagnostic Test
April 5, 2026: LEMON Manuals is launched! Read the announcement.

Diagnostic Test

  1. TEST FOR INTERMITTENT CONDITION 
    1. Turn the ignition on.
      NOTE: Ensure the IOD fuse is installed and battery voltage is between 10.0 and 16.0 volts.
    2. With the scan tool, select ECU view.
      NOTE: A red X will be next to the module that is not communicating, indicating that the module is not active on the Bus network. A green check indicates that the module is active on the Bus network.
      NOTE: Check the FCM for any active CAN C hardware DTCs, perform DTC before proceeding.

    Q: Does the scan tool display a red X next to the module? 

    Yes  :

    • Go To 2

    No  :

    • The no response condition is not present at this time. Using the wiring diagram/schematic as a guide, inspect the wiring for chafed, pierced, pinched, and partially broken wires and the wiring harness connectors for broken, bent, pushed out, and corroded terminals.
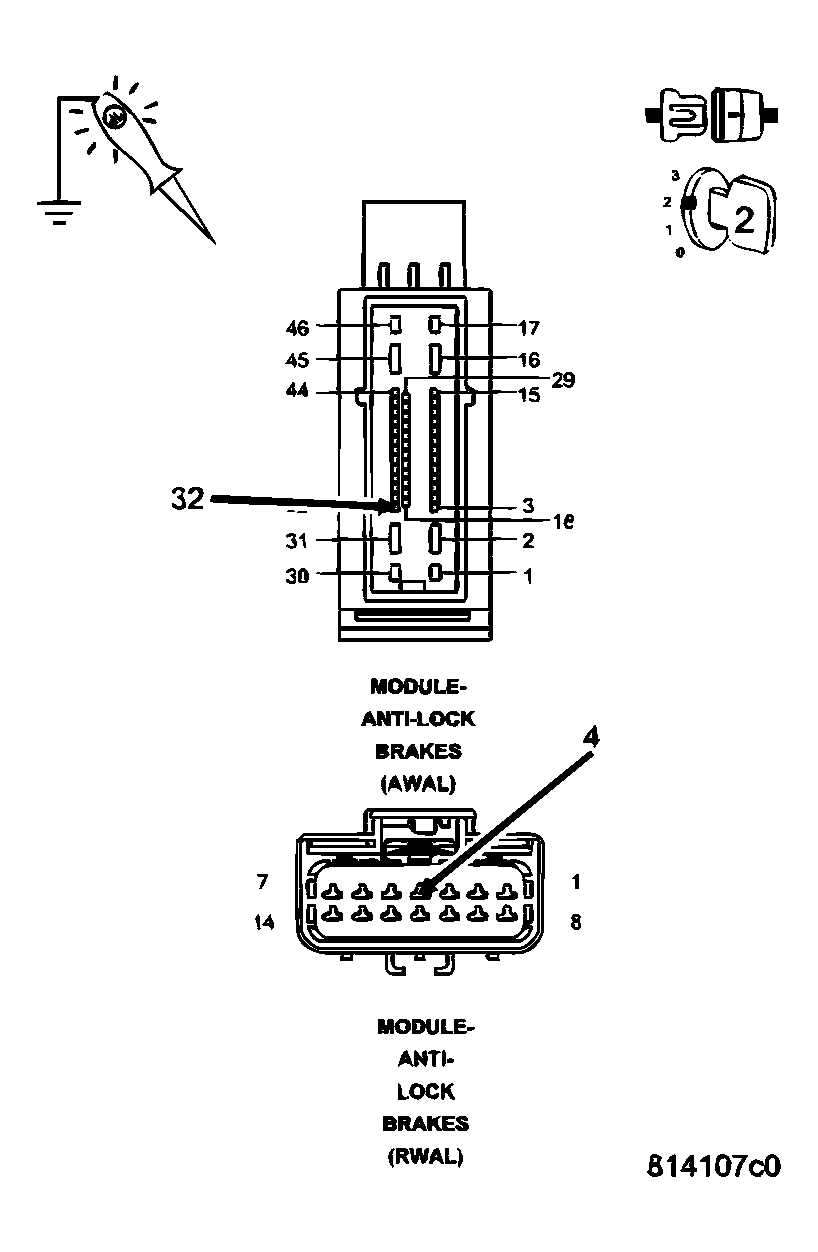
  2. (A107) (A111) FUSED B(+) CIRCUIT OPEN OR SHORTED 
    Fig 1: Checking (A107) And (A111 - Not Equipped On RWAL System) Fused B(+) Circuit
    G04283853Courtesy of MITSUBISHI MOTOR SALES OF AMERICA.
    1. Turn the ignition off.
      NOTE: Check IPM fuses before continuing.
    2. Disconnect the Antilock Brake Module harness connector.
    3. Using a 12-volt test light connected to ground, check each (A107) and (A111 - not equipped on RWAL system) Fused B(+) circuit.

    Q: Does the test light illuminate brightly for each circuit? 

    Yes  :

    • Go To 3

    No  :

    • Repair the Fused B(+) circuit for an open or short.
    • Perform ABS VERIFICATION TEST - VER 1.
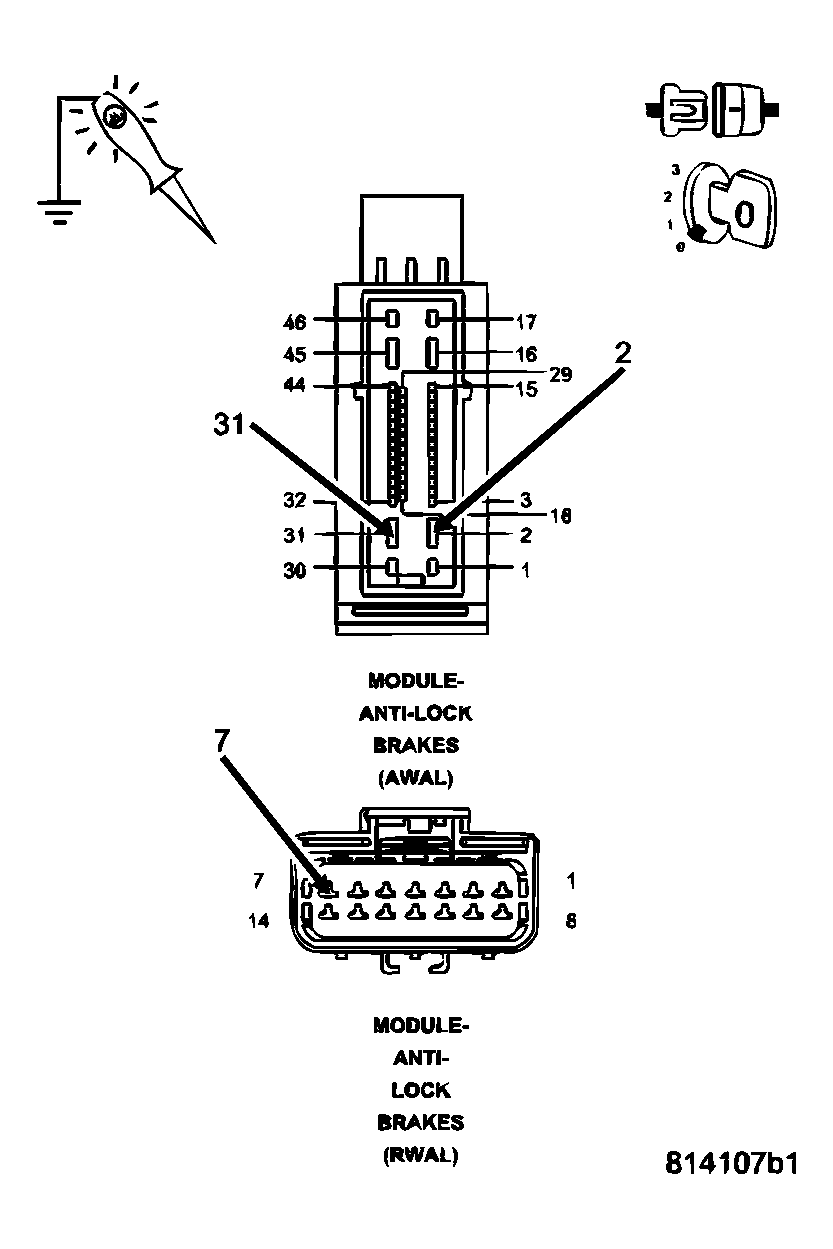
  3. (Z107) (Z923) GROUND CIRCUIT OPEN 
    Fig 2: Checking (Z107) And (Z923 - Not Equipped On RWAL System) Ground Circuit
    G04283854Courtesy of MITSUBISHI MOTOR SALES OF AMERICA.
    1. Using a 12-volt test light connected to 12-volts, check each (Z107) and (Z923 - not equipped on RWAL system) ground circuit.

    Q: Does the test light illuminate brightly for each circuit? 

    Yes  :

    • Go To 4

    No  :

    • Repair the ground circuit for an open.
    • Perform ABS VERIFICATION TEST - VER 1.
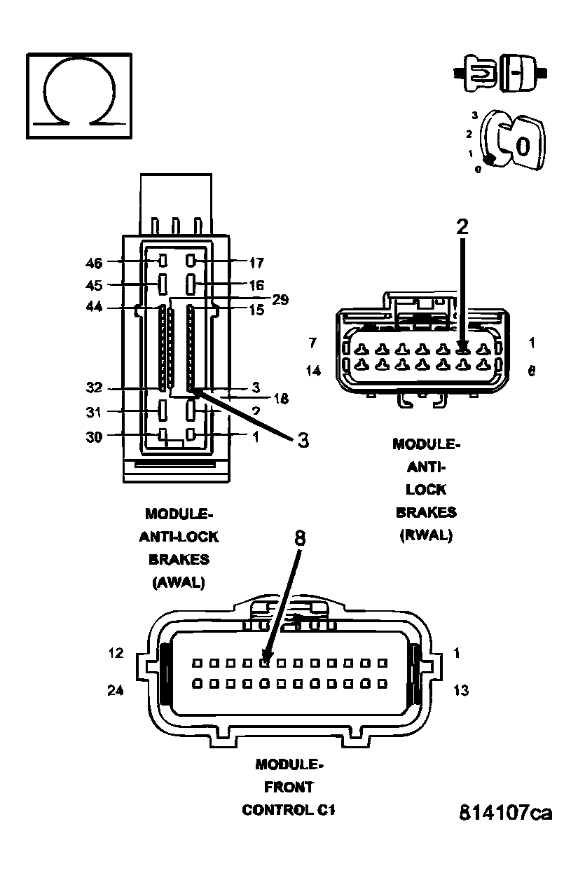
  4. (F500) FUSED RUN RELAY OUTPUT CIRCUIT OPEN OR SHORTED 
    Fig 3: Checking (F500) Fused Run Relay Output Circuit
    G04283855Courtesy of MITSUBISHI MOTOR SALES OF AMERICA.
    1. Turn the ignition on.
      NOTE: Check IPM fuses before continuing.
    2. Using a 12-volt test light connected to ground, check the (F500) Fused Run Relay Output circuit.

    Q: Does the test light illuminate brightly? 

    Yes  :

    • Go To 5

    No  :

    • Repair the (F500) Fused Run Relay Output circuit for an open or short.
    • Perform ABS VERIFICATION TEST - VER 1.
  5. (D65) CAN C BUS (+) CIRCUIT OPEN 
    Fig 4: Measuring Resistance Of (D65) CAN C BUS (+) Circuit Between FCM Connector And Antilock Brake Module Connector
    G04283856Courtesy of MITSUBISHI MOTOR SALES OF AMERICA.
    1. Turn the ignition off.
    2. Disconnect the FCM C1 harness connector.
    3. Measure the resistance of the (D65) CAN C Bus (+) circuit between the FCM connector and the Antilock Brake Module connector.

    Q: Is resistance below 5.0 ohms? 

    Yes  :

    • Go To 6

    No  :

    • Repair the (D65) CAN C Bus (+) circuit for an open.
    • Perform ABS VERIFICATION TEST - VER 1.
  6. (D64) CAN C BUS (-) CIRCUIT OPEN 
    Fig 5: Measuring Resistance Of (D64) CAN C BUS (-) Circuit Between FCM Connector And Antilock Brake Module Connector
    G04283857Courtesy of MITSUBISHI MOTOR SALES OF AMERICA.
    1. Measure the resistance of the (D64) CAN C Bus (-) circuit between the FCM connector and the Antilock Brake Module connector.

    Q: Is resistance below 5.0 ohms? 

    Yes  :

    • Replace the Antilock Brake Module in accordance with the service information.
    • Perform ABS VERIFICATION TEST - VER 1.

    No  :

    • Repair the (D64) CAN C Bus (-) circuit for an open.
    • Perform ABS VERIFICATION TEST - VER 1.