LEMON Manuals: Even more car manuals for everyone: 1960-2025
Home >> Mitsubishi >> 2007 >> Eclipse GT, Standard >> Repair and Diagnosis (Single Page) >> Transmission >> Manual Trans >> M/T Overhaul (F6MBA) >> Input Shaft >> Disassembly And Assembly >> Assembly Service Points
April 5, 2026: LEMON Manuals is launched! Read the announcement.

Assembly Service Points

  1. Using special tools MD998812, MD998814 and MD998823, install the 4th drive gear.
  2. Install the spacer to input shaft.
    Fig 1: Installing 4th Drive Gear & Spacer To Input Shaft
    G04230423Courtesy of MITSUBISHI MOTOR SALES OF AMERICA.
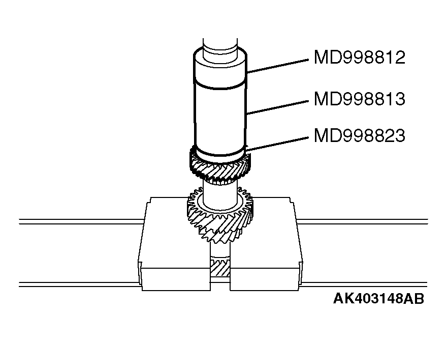
  3. Using special tools MD998812, MD998813 and MD998823, install the 3rd drive gear.
    Fig 2: Installing 3rd Drive Gear
    G04230424Courtesy of MITSUBISHI MOTOR SALES OF AMERICA.
  4. Using special tools MD998812, MD998813 and MD998823, install the 6th drive gear.
    CAUTION: Never push the sealing area at the press fit.
    Fig 3: Installing 6th Drive Gear
    G04230425Courtesy of MITSUBISHI MOTOR SALES OF AMERICA.
  5. Check the installation direction of the radial ball bearing.
    Fig 4: Checking Installation Direction Of The Radial Ball Bearing
    G04230426Courtesy of MITSUBISHI MOTOR SALES OF AMERICA.
  6. Using special tools MD998812, MD998813 and MD998823, install the radial ball bearing.
    Fig 5: Installing Radial Ball Bearing
    G04230427Courtesy of MITSUBISHI MOTOR SALES OF AMERICA.
  7. Select a shaft snap ring that allows distance of the thrust crevice of radial ball bearing to fall within the standard value range.

    Standard value: 0-0.1 mm (0-0.0039 inch) 

    Fig 6: Installing Shaft Snap Ring
    G04230428Courtesy of MITSUBISHI MOTOR SALES OF AMERICA.
  8. Check the installation direction of the cylindrical roller bearing.
    Fig 7: Identifying Installation Direction Of Cylindrical Roller Bearing
    G04230429Courtesy of MITSUBISHI MOTOR SALES OF AMERICA.
  9. Using special tools MD998812, MD998813 and MD998818, install the cylindrical roller bearing.
    Fig 8: Installing Cylindrical Roller Bearing
    G04230430Courtesy of MITSUBISHI MOTOR SALES OF AMERICA.