LEMON Manuals: Even more car manuals for everyone: 1960-2025
Home >> Mitsubishi >> 2007 >> Outlander ES >> Repair and Diagnosis >> Steering >> Steering Column >> Power Steering Gear Box And Linkage >> Disassembly And Assembly >> Assembly Service Point >> A << Band Installation
April 5, 2026: LEMON Manuals is launched! Read the announcement.

A << Band Installation

  1. Turn the adjusting bolt for the boot band clipping tool (Special tool: MB991561) to adjust the opening dimension (W) to the standard value.

    Standard value (W): 2.9 mm (0.11 inch) 

    When opening dimension is more than 2.9 mm (0.11 inch) 

    Tighten the adjusting bolt. 

    When opening dimension is less than 2.9 mm (0.11 inch) 

    Loosen the adjusting bolt. 

    Fig 1: Turning Adjusting Bolt For Boot Band Clipping Tool
    G04872175Courtesy of MITSUBISHI MOTOR SALES OF AMERICA.
    NOTE:
    • The adjusting bolt changes W approximately 0.7 mm for each rotation.
    • Do not rotate the adjusting bolt more than one rotation.
    CAUTION:
    • Secure the gear housing, and crimp the crimping part of the band firmly with the tip of the special tool.
    • Crimp the boot band securely until the special tool contacts the stopper.
  2. Use the special tool to crimp the boot band.
    Fig 2: Crimping Boot Band
    G04872176Courtesy of MITSUBISHI MOTOR SALES OF AMERICA.
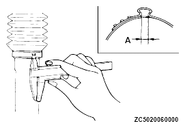
  3. Check that the crimping width of the boot band (A) is within the range of the standard value.
    Fig 3: Checking Crimping Width Of Boot Band
    G04872177Courtesy of MITSUBISHI MOTOR SALES OF AMERICA.

    Standard value (A): 2.4 - 2.8 mm (0.09 - 0.11 inch) 

    When the crimping width is greater than 2.8 mm (0.11 inch) 

    Readjust the value W described in Step   1  to the following formula, and perform the operation in Step   2  again. 

    W=5.5-A (Example: When A is 2.9, W is 2.6.) 

    When the crimping width is less than 2.4 mm (0.09 inch) 

    Remove the boot band, readjust the value W described in Step   1  to the following formula, and perform the Steps 2 and 3 using a new boot band. W=5.5-A (Example: When A is 2.3, W is 3.2.)