LEMON Manuals: Even more car manuals for everyone: 1960-2025
Home >> Mitsubishi >> 2007 >> Raider DuroCross >> Repair and Diagnosis >> Engine Performance >> Engine Control Systems >> Electronic Control Modules >> Diagnosis And Testing >> *Both Can C Diagnostic (+) And Can C Diagnostic (-) Circuits Open >> Diagnostic Test
April 5, 2026: LEMON Manuals is launched! Read the announcement.

Diagnostic Test

  1. CHECK THE STATUS OF THE ERROR MESSAGE 
    NOTE: Ensure the vehicle being tested is a CAN BUS VEHICLE. If not, false error messages may be displayed.
    NOTE: Ensure the scan tool is updated to the latest software.
    1. With the scan tool, record the error message.
    2. Disconnect the scan tool from the DLC
    3. Cycle the ignition from on to off 3 times.
    4. Turn the ignition on.
    5. Reconnect the scan tool.

    Q: Does the scan tool display this same error message? 

    Yes : 

    • Go To 2

    No : 

    • The conditions that caused this error message to set are not present at this time. Using the wiring diagram/schematic as a guide, inspect the wiring and connectors.
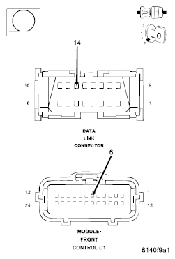
  2. (D52) CAN C DIAGNOSTIC (+) CIRCUIT OPEN 
    Fig 1: Checking CAN C Diagnostic (+) Circuit Open
    G04853359Courtesy of MITSUBISHI MOTOR SALES OF AMERICA.
    1. Turn the ignition off.
    2. Disconnect the Front Control Module C1 harness connector.
    3. Disconnect the scan tool from the DLC.
      NOTE: Check the connectors at both the DLC and the FCM.
    4. Measure the resistance of the (D52) CAN C Diagnostic (+) circuit between the FCM connector and the DLC.

    Q: Is the resistance below 5.0 ohms? 

    Yes : 

    • Go To 3

    No : 

    • Repair the (D52) CAN C Diagnostic (+) circuit for an open.
    • Perform BODY VERIFICATION TEST - VER 1 . (Refer to ELECTRONIC CONTROL MODULES/MODULE - FRONT CONTROL/DIAGNOSIS AND TESTING).
  3. (D51) CAN C DIAGNOSTIC (-) CIRCUIT OPEN 
    Fig 2: Checking CAN C Diagnostic (-) Circuit Open
    G04853362Courtesy of MITSUBISHI MOTOR SALES OF AMERICA.
    1. Measure the resistance of the (D51) CAN C Diagnostic (-) circuit between the FCM connector and the DLC.

    Q: Is the resistance below 5.0 ohms? 

    Yes : 

    • Inspect the wiring and connectors for damage or shorted circuits. If OK, replace the Front Control Module in accordance with the service information.
    • Perform BODY VERIFICATION TEST - VER 1 . (Refer to ELECTRONIC CONTROL MODULES/MODULE - FRONT CONTROL/DIAGNOSIS AND TESTING).

    No : 

    • Repair the (D51) CAN C Diagnostic (-) circuit for an open.
    • Perform BODY VERIFICATION TEST - VER 1 . (Refer to ELECTRONIC CONTROL MODULES/MODULE - FRONT CONTROL/DIAGNOSIS AND TESTING).