LEMON Manuals: Even more car manuals for everyone: 1960-2025
Home >> Mitsubishi >> 2007 >> Raider DuroCross >> Repair and Diagnosis >> Engine Performance >> Engine Control Systems >> Electronic Control Modules >> Diagnosis And Testing >> *No Response From Abs (Antilock Brake Module) >> Diagnostic Test
April 5, 2026: LEMON Manuals is launched! Read the announcement.

Diagnostic Test

  1. TEST FOR INTERMITTENT CONDITION 
    1. Turn the ignition on.
      NOTE: Ensure the IOD fuse is installed and battery voltage is between 10.0 and 16.0 volts.
    2. With the scan tool, select System select.
    NOTE: If an ECU is grayed out, it is not communicating, indicating that the module is not active on the Bus network.
    NOTE: Check the FCM for any active CAN C hardware DTCs, perform DTC before proceeding.

    Q: Is the ECU grayed out? 

    Yes : 

    • Go To 2

    No : 

    • The no response condition is not present at this time. Using the wiring diagram/schematic as a guide, inspect the wiring for chafed, pierced, pinched, and partially broken wires and the wiring harness connectors for broken, bent, pushed out, and corroded terminals.
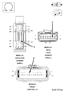
  2. (A107) (A111) FUSED B (+) CIRCUIT OPEN OR SHORTED 
    Fig 1: Checking Fused B (+) Circuit Open Or Shorted
    G04853364Courtesy of MITSUBISHI MOTOR SALES OF AMERICA.
    1. Turn the ignition off.
      NOTE: Check IPM fuses before continuing.
    2. Disconnect the Antilock Brake Module harness connector.
    3. Using a 12-volt test light connected to ground, check each (A107) and (A111 - not equipped on RWAL system) Fused B (+) circuit.

    Q: Does the test light illuminate brightly for each circuit? 

    Yes : 

    • Go To 3

    No : 

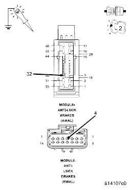
  3. (Z107) (Z923) GROUND CIRCUIT OPEN 
    Fig 2: Checking Ground Circuit Open
    G04853365Courtesy of MITSUBISHI MOTOR SALES OF AMERICA.
    1. Using a 12-volt test light connected to 12-volts, check each (Z107) and (Z923 - not equipped on RWAL system) ground circuit.

    Q: Does the test light illuminate brightly for each circuit? 

    Yes : 

    • Go To 4

    No : 

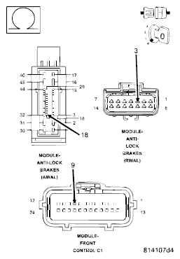
  4. (F500) FUSED RUN RELAY OUTPUT CIRCUIT OPEN OR SHORTED 
    Fig 3: Checking Fused Run Relay Output Circuit Open Or Shorted
    G04853366Courtesy of MITSUBISHI MOTOR SALES OF AMERICA.
    1. Turn the ignition on.
      NOTE: Check IPM fuses before continuing.
    2. Using a 12-volt test light connected to ground, check the (F500) Fused Run Relay Output circuit.

    Q: Does the test light illuminate brightly? 

    Yes : 

    • Go To 5

    No : 

  5. (D65) CAN C BUS (+) CIRCUIT OPEN 
    Fig 4: Checking CAN C Bus (+) Circuit Open
    G04853367Courtesy of MITSUBISHI MOTOR SALES OF AMERICA.
    1. Turn the ignition off.
    2. Disconnect the FCM C1 harness connector.
    3. Measure the resistance of the (D65) CAN C Bus (+) circuit between the FCM connector and the Antilock Brake Module connector.

    Q: Is resistance below 5.0 ohms? 

    Yes : 

    • Go To 6

    No : 

  6. (D64) CAN C BUS (-) CIRCUIT OPEN 
    Fig 5: Checking CAN C Bus (-) Circuit Open
    G04853368Courtesy of MITSUBISHI MOTOR SALES OF AMERICA.
    1. Measure the resistance of the (D64) CAN C Bus (-) circuit between the FCM connector and the Antilock Brake Module connector.

    Q: Is resistance below 5.0 ohms? 

    Yes : 

    No :