LEMON Manuals: Even more car manuals for everyone: 1960-2025
Home >> Mitsubishi >> 2007 >> Raider DuroCross >> Repair and Diagnosis >> Engine Performance >> Engine Control Systems >> Electronic Control Modules >> Module - Anti-Lock Brakes >> Installation
April 5, 2026: LEMON Manuals is launched! Read the announcement.

Module - Anti-Lock Brakes: Installation

NOTE: If the ABM needs to be replaced, the rear axle type and tire revolutions per mile must be programed into the new ABM. For axle type, refer to appropriate REAR AXLE article. For tire revolutions per mile (Refer to WHEEL AND TIRE/TIRES/SPECIFICATIONS/TIRE REVOLUTIONS PER MILE ). To program the ABM refer to the Appropriate Diagnostic Service Information.
Fig 1: Identifying Pump Electrical Connector And HCU
G04853419Courtesy of MITSUBISHI MOTOR SALES OF AMERICA.
  1. Position the module (1) on the HCU (2).
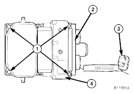
    Fig 2: Identifying Module Mounting Screws, HCU And Pump Electrical Connector
    G04853418Courtesy of MITSUBISHI MOTOR SALES OF AMERICA.
  2. Install the mounting screws (1) and tighten to 6 N.m (53 in. lbs).
  3. Install the pump electrical connector (3) to the module (4).
  4. Install the HCU to the vehicle (Refer to ANTI-LOCK BRAKING SYSTEM/ABS SERVICE INFORMATION/HCU (HYDRAULIC CONTROL UNIT)/INSTALLATION ).