LEMON Manuals: Even more car manuals for everyone: 1960-2025
Home >> Mitsubishi >> 2007 >> Raider SE >> Repair and Diagnosis (Single Page) >> Engine Performance >> System >> Engine Electrical Diagnostics (2 Of 5) >> DTC P0141-O2 Sensor 1/2 Heater Performance >> Diagnostic Test
April 5, 2026: LEMON Manuals is launched! Read the announcement.

Diagnostic Test

  1. O2 SENSOR HEATER OPERATION 
    1. Turn the ignition off.
      NOTE: Wait a minimum of 8 minutes to allow the O2 Sensor to cool down before continuing the test. Allow the O2 Sensor voltage to stabilize between 4.6 and 5.0 volts.
    2. Ignition on, engine not running.
    3. With a scan tool, actuate the O2 Heater Test.
    4. With the scan tool, monitor 1/2 O2 Sensor voltage for at least 2 minutes.

    Q: Does the voltage stay above 4.5 volts? 

    Yes : 

    • Go To 2

    No : 

  2. O2 SENSOR HEATER ELEMENT 
    1. Turn the ignition off.
      NOTE: Allow the O2 sensor to cool down to room temperature.
    2. Disconnect the O2 Sensor harness connector.
    3. Measure the resistance of the O2 Heater Element across the O2 Sensor connector between the O2 Heater Control terminal and the Heater ground terminal.
      NOTE: O2 Heater Element resistance values should be measured at 70°F (21.1°C). The resistance value will vary with different temperature values.

    Q: Is the resistance of the O2 Sensor Heater Element between 2.0 and 30.0 ohms? 

    Yes : 

    • Go To 3

    No : 

  3. (K299) O2 1/2 HEATER CONTROL CIRCUIT OPEN 
    Fig 1: Checking O2 1/2 Heater Control Circuit Open
    G04853751Courtesy of MITSUBISHI MOTOR SALES OF AMERICA.
    1. Disconnect the C3 PCM harness connector.
      CAUTION: Do not probe the PCM harness connectors. Probing the PCM harness connectors will damage the PCM terminals resulting in poor terminal to pin connection. Install Miller Special Tool #8815 to perform diagnosis.
    2. Measure the resistance of the (K299) O2 1/2 Heater Control circuit from the O2 harness connector to the appropriate terminal of special tool #8815.

    Q: Is the resistance below 0.5 of an ohm? 

    Yes : 

    • Go To 4

    No : 

  4. (Z42) O2 1/2 HEATER GROUND CIRCUIT OPEN 
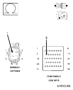
    Fig 2: Identifying O2 Sensor Connector Terminals
    G04282656Courtesy of MITSUBISHI MOTOR SALES OF AMERICA.
    1. Measure the resistance between ground and the (Z42) O2 1/2 Heater ground circuit in the O2 Sensor harness connector.

    Q: Is the resistance below 0.5 of an ohm? 

    Yes : 

    • Go To 5

    No : 

  5. PCM 
    NOTE: Before continuing, check the PCM harness connector terminals for corrosion, damage, or terminal push out. Repair as necessary.
    1. Using the schematics as a guide, inspect the wire harness and connectors. Pay particular attention to all Power and Ground circuits.

    Q: Were there any problems found? 

    Yes : 

    No :