LEMON Manuals: Even more car manuals for everyone: 1960-2025
Home >> Mitsubishi >> 2007 >> Raider SE >> Repair and Diagnosis >> Body & Frame >> Windows >> Power Systems >> Power Locks - Electrical Diagnostics >> *Passenger Door Lock/Unlock Switch Input Stuck Lock >> Notes
April 5, 2026: LEMON Manuals is launched! Read the announcement.

*Passenger Door Lock/Unlock Switch Input Stuck Lock: Notes

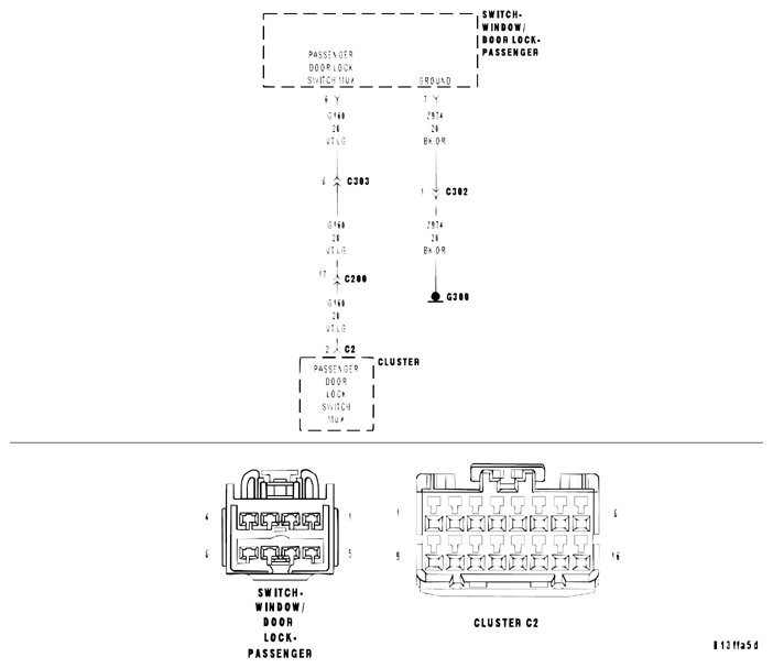
Fig 1: Passenger Door Lock/Unlock Switch Circuit Diagram
G04859198Courtesy of MITSUBISHI MOTOR SALES OF AMERICA.

For a complete wiring diagram  , refer to appropriate SYSTEM WIRING DIAGRAMS article.

Possible Causes
(G160) PASSENGER DOOR LOCK SWITCH MUX CIRCUIT PARTIAL SHORT TO GROUND 
DOOR LOCK SWITCH STUCK 
INSTRUMENT CLUSTER 


Fig 1: Passenger Door Lock/Unlock Switch Circuit Diagram
G04859201Courtesy of MITSUBISHI MOTOR SALES OF AMERICA.

For a complete wiring diagram  , refer to appropriate SYSTEM WIRING DIAGRAMS article.

Possible Causes
(G160) PASSENGER DOOR LOCK SWITCH MUX CIRCUIT PARTIAL SHORT TO GROUND 
DOOR LOCK SWITCH STUCK 
INSTRUMENT CLUSTER