LEMON Manuals: Even more car manuals for everyone: 1960-2025
Home >> Mitsubishi >> 2007 >> Raider SE >> Repair and Diagnosis >> Engine Performance >> Engine Control Systems >> Electronic Control Modules >> Diagnosis And Testing >> *No Response From HVAC (A/C Heater Control) >> Diagnostic Test
April 5, 2026: LEMON Manuals is launched! Read the announcement.

Diagnostic Test

  1. TEST FOR INTERMITTENT CONDITION 
    1. Turn the ignition on.
      NOTE: Ensure the IOD fuse is installed and battery voltage is between 10.0 and 16.0 volts.
    2. With the scan tool, select System select.
      NOTE: If an ECU is grayed out, it is not communicating, indicating that the module is not active on the Bus network.

    Q: Is the ECU grayed out? 

    Yes : 

    • Go To 2

    No : 

    • The no response condition is not present at this time. Using the wiring diagram/schematic as a guide, inspect the wiring for chafed, pierced, pinched, and partially broken wires and the wiring harness connectors for broken, bent, pushed out, and corroded terminals.
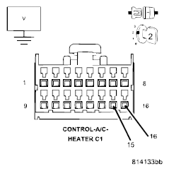
  2. (F504) FUSED IGNITION SWITCH OUTPUT CIRCUIT OPEN OR SHORTED 
    Fig 1: Checking Fused Ignition Switch Output Circuit Open Or Shorted
    G04853389Courtesy of MITSUBISHI MOTOR SALES OF AMERICA.
    1. Turn the ignition off.
      NOTE: Check IPM fuses before continuing.
    2. Disconnect the A/C Heater Control C1 harness connector.
    3. Turn the ignition on.
    4. Using a 12-volt test light connected to ground, check the (F504) Fused Ignition Switch Output circuit.

    Q: Does the test light illuminate brightly? 

    Yes : 

    • Go To 3

    No : 

    • Repair the (F504) Fused Ignition Switch Output circuit for an open or short.
    • Perform BODY VERIFICATION TEST - VER 1 . (Refer to ELECTRONIC CONTROL MODULES/MODULE - FRONT CONTROL/DIAGNOSIS AND TESTING).
  3. (Z24) GROUND CIRCUIT OPEN 
    Fig 2: Checking Ground Circuit Open
    G04853390Courtesy of MITSUBISHI MOTOR SALES OF AMERICA.
    1. Turn the ignition off.
    2. Using a 12-volt test light connected to 12-volts, check the (Z24) ground circuit.

    Q: Does the test light illuminate brightly? 

    Yes : 

    • Go To 4

    No : 

    • Repair the (Z24) ground circuit for an open.
    • Perform BODY VERIFICATION TEST - VER 1 . (Refer to ELECTRONIC CONTROL MODULES/MODULE - FRONT CONTROL/DIAGNOSIS AND TESTING).
  4. (D55) AND (D54) CAN B BUS CIRCUITS OPEN 
    Fig 3: Checking CAN B Bus Circuits Open
    G04853391Courtesy of MITSUBISHI MOTOR SALES OF AMERICA.
    NOTE: One open circuit will not cause this condition.
    1. Measure the voltage between the (D54) CAN B Bus (-) circuit and ground.
    2. Measure the voltage between the (D55) CAN B Bus (+) circuit and ground.

    Q: Is there any voltage present on either circuit? 

    Yes : 

    • Replace the A/C Heater Control in accordance with the service information.
    • Perform BODY VERIFICATION TEST - VER 1 . (Refer to ELECTRONIC CONTROL MODULES/MODULE - FRONT CONTROL/DIAGNOSIS AND TESTING).

    No : 

    • Repair the (D55) and (D54) CAN B Bus circuits for an open. Inspect the connector for damage.
    • Perform BODY VERIFICATION TEST - VER 1 . (Refer to ELECTRONIC CONTROL MODULES/MODULE - FRONT CONTROL/DIAGNOSIS AND TESTING).