LEMON Manuals: Even more car manuals for everyone: 1960-2025
Home >> Mitsubishi >> 2007 >> Raider SE >> Repair and Diagnosis >> Engine Performance >> Engine Control Systems >> Electronic Control Modules >> Diagnosis And Testing >> *No Response From SDAR (Satellite Receiver) >> Diagnostic Test
April 5, 2026: LEMON Manuals is launched! Read the announcement.

Diagnostic Test

  1. TEST FOR INTERMITTENT CONDITION 
    1. Turn the ignition on.
      NOTE: Ensure the IOD fuse is installed and battery voltage is between 10.0 and 16.0 volts.
    2. With the scan tool, select System select.
      NOTE: If an ECU is grayed out, it is not communicating, indicating that the module is not active on the Bus network.

    Q: Is the ECU grayed out? 

    Yes : 

    • Go To 2

    No : 

    • The no response condition is not present at this time. Using the wiring diagram/schematic as a guide, inspect the wiring for chafed, pierced, pinched, and partially broken wires and the wiring harness connectors for broken, bent, pushed out, and corroded terminals.
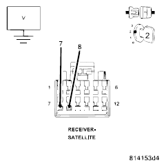
  2. (A920) FUSED B (+) CIRCUIT OPEN OR SHORTED 
    Fig 1: Checking Fused B (+) Circuit Open Or Shorted
    G04853408Courtesy of MITSUBISHI MOTOR SALES OF AMERICA.
    1. Turn the ignition off.
      NOTE: Check IPM fuses before continuing.
    2. Disconnect the Satellite Receiver harness connector.
    3. Using a 12-volt test light connected to ground, check the (A920) Fused B (+) circuit.

    Q: Does the test light illuminate brightly? 

    Yes : 

    • Go To 3

    No : 

    • Repair the (A920) Fused B (+) circuit for an open or short.
    • Perform BODY VERIFICATION TEST - VER 1 . (Refer to ELECTRONIC CONTROL MODULES/MODULE - FRONT CONTROL/DIAGNOSIS AND TESTING).
  3. (Z960) GROUND CIRCUIT OPEN 
    Fig 2: Checking Ground Circuit Open
    G04853409Courtesy of MITSUBISHI MOTOR SALES OF AMERICA.
    1. Using a 12-volt test light connected to 12-volts, check the (Z960) ground circuit.

    Q: Does the test light illuminate brightly? 

    Yes : 

    • Go To 4

    No : 

    • Repair the (Z960) ground circuit for an open.
    • Perform BODY VERIFICATION TEST - VER 1 . (Refer to ELECTRONIC CONTROL MODULES/MODULE - FRONT CONTROL/DIAGNOSIS AND TESTING).
  4. (D55) AND (D54) CAN B BUS CIRCUITS OPEN 
    Fig 3: Checking CAN B Bus Circuits Open
    G04853410Courtesy of MITSUBISHI MOTOR SALES OF AMERICA.
    NOTE: One open circuit will not cause this condition.
    1. Measure the voltage between the (D54) CAN B Bus (-) circuit and ground.
    2. Measure the voltage between the (D55) CAN B Bus (+) circuit and ground.

    Q: Is there any voltage present on either circuit? 

    Yes : 

    • Replace the Satellite Receiver in accordance with the service information.
    • Perform BODY VERIFICATION TEST - VER 1 . (Refer to ELECTRONIC CONTROL MODULES/MODULE - FRONT CONTROL/DIAGNOSIS AND TESTING).

    No : 

    • Repair the (D55) and (D54) CAN B Bus circuits for an open. Inspect the connector for damage.
    • Perform BODY VERIFICATION TEST - VER 1 . (Refer to ELECTRONIC CONTROL MODULES/MODULE - FRONT CONTROL/DIAGNOSIS AND TESTING).