LEMON Manuals: Even more car manuals for everyone: 1960-2025
Home >> Mitsubishi >> 2009 >> Raider 2WD V6-3.7L >> Repair and Diagnosis >> Relays and Modules >> Relays and Modules - Brakes and Traction Control >> Electronic Brake Control Module >> Service and Repair
April 5, 2026: LEMON Manuals is launched! Read the announcement.

Electronic Brake Control Module: Service and Repair

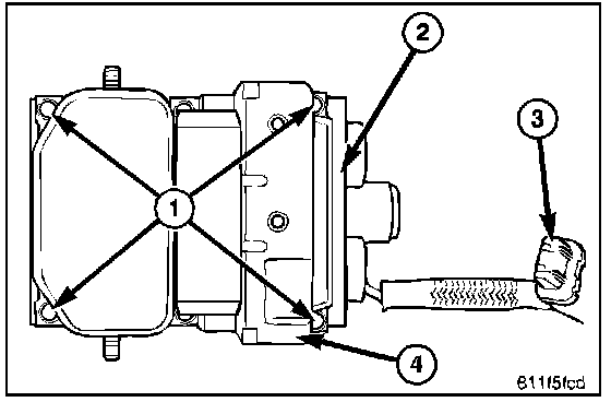
MODULE - ANTI-LOCK BRAKES

REMOVAL

NOTE: If the ABM needs to be replaced, the rear axle type and tire revolutions per mile must be programed into the new ABM. For tire revolutions per mile,refer to Wheel and Tire Specifications. To program the ABM refer to the Appropriate Diagnostic Information.




1. Disconnect the pump electrical connector (3) from the HCU (2).
2. Remove the module mounting screws (1).




3. Remove the module (1) from the HCU (2).

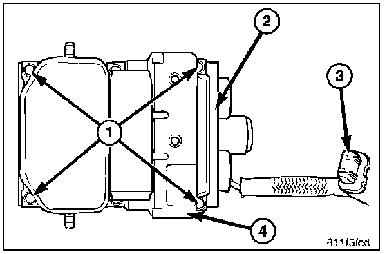
INSTALLATION

NOTE: If the ABM needs to be replaced, the rear axle type and tire revolutions per mile must be programed into the new ABM. For tire revolutions per mile refer to Wheel and Tire Specifications. To program the ABM refer to the Appropriate Diagnostic Information.




1. Position the module (1) on the HCU (2).




2. Install the mounting screws (1) and tighten to 6 N.m (53 in. lbs).
3. Install the pump electrical connector (3) to the module (4).