LEMON Manuals: Even more car manuals for everyone: 1960-2025
Home >> Mitsubishi >> 2010 >> Lancer ES, Standard >> Repair and Diagnosis (Single Page) >> Transmission >> Manual Trans >> Manual Transaxle Overhaul -- Lancer >> Transaxle >> Disassembly And Assembly >> Adjustment Before Assembly >> Output Shaft Assembly Bearing Preload Adjustment
April 5, 2026: LEMON Manuals is launched! Read the announcement.

Output Shaft Assembly Bearing Preload Adjustment

  1. Set the output shaft assembly to the clutch housing case assembly.
  2. Push and fit the tapered roller bearing outer race by hand.
  3. To fit the tapered roller bearing outer race, rotate the output shaft assembly by hand.
    Fig 1: Identifying Tapered Roller Bearing Outer Race
    G06672100Courtesy of MITSUBISHI MOTOR SALES OF AMERICA.
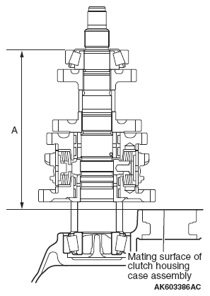
  4. Put the clutch housing case assembly on the surface table and measure the dimension "A" which is from the mating surface of the clutch housing case assembly to the end surface of the bearing outer race, with a height gauge.
    Fig 2: Identifying Dimension Between Mating Surface Of Clutch Housing Case Assembly And End Surface Of Bearing Outer Race
    G06672101Courtesy of MITSUBISHI MOTOR SALES OF AMERICA.
  5. Put the straight edge on the mating surface of the transaxle case assembly and measure the dimension "B" with a vernier caliper.
  6. Select the shim whose dimension is the difference between "B" and "A."
  7. Install the output shaft assembly and differential assembly to the clutch housing case assembly. Tighten the transaxle case bolts to the specified torque.

    Tightening torque: 29.0 ± 5.8 N.m (21 ± 3 ft-lb) 

    Fig 3: Identifying Transaxle Case Assembly Mating Surface Dimension
    G06672102Courtesy of MITSUBISHI MOTOR SALES OF AMERICA.
  8. Place the selected shim, then install the output shaft assembly.
  9. Install the rear bearing retainer to specified torque.

    Tightening torque: 42.0 ± 8.4 N.m (31 ± 5 ft-lb) 

  10. Install the 5th gear mounting lock nut to measure rotational starting torque.
    Fig 4: Identifying 5th Gear Mounting Lock Nut
    G06672103Courtesy of MITSUBISHI MOTOR SALES OF AMERICA.
  11. Measure the rotational starting torque of output shaft. When it is not within the standard range, reselect the shim.

    Standard value: 0.8 - 1.6 N.m (7.08 - 14.16 in-lb) 

    Fig 5: Measuring Rotational Starting Torque Of Output Shaft
    G06672104Courtesy of MITSUBISHI MOTOR SALES OF AMERICA.