LEMON Manuals: Even more car manuals for everyone: 1960-2025
Home >> Mitsubishi >> 2010 >> Lancer Evolution GSR >> Repair and Diagnosis (Single Page) >> Accessories & Equipment >> Communication Devices >> Controller Area Network (Can) - Lancer Evolution >> Explanation About The Scan Tool (M.U.T.-III) Can Bus Diagnostics >> Can Bus Line Diagnostic Flow
April 5, 2026: LEMON Manuals is launched! Read the announcement.

Can Bus Line Diagnostic Flow

Fig 1: CAN Bus Line Diagnostic Flow Diagram
G05906902Courtesy of MITSUBISHI MOTOR SALES OF AMERICA.
  1. Scan tool CAN bus diagnostics

    Scan tool MB991958 diagnoses CAN bus lines in accordance with the following strategy.

    NOTE: After you determine whether the CAN-C lines are in good condition, then determine whether the CAN-B lines are in good condition. Then confirm each judgment result on the scan tool screen.
    1. Check that the ETACS-ECU sets a diagnostic trouble code.

      You can narrow down the points to be diagnosed by confirming an ETACS-ECU diagnostic trouble code.

    2. Checking the communication condition of ECUs

      Scan tool MB991958 narrows down troubles in circuit by itself. Its strategies are as follows.

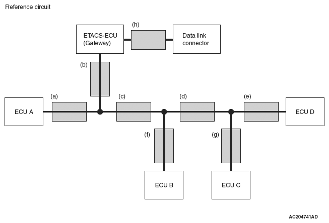
      Reference circuit

      Fig 2: ETACS-ECU And Data Link Connector - Communication Diagram
      G05385725Courtesy of MITSUBISHI MOTOR SALES OF AMERICA.
      POSSIBLE TROUBLE SPOT REFERENCE

      ECU which cannot communicate with the scan tool Possible trouble spot Logic for narrowing down trouble spot
      ETACS-ECU and all ECUs CAN bus line (h) and power supply system to ETACS-ECU The ETACS-ECU and the other ECUs use the CAN bus line (h) when they communicate with scan tool MB991958. Since none of the ETACS-ECU and the other ECUs can communicate with scan tool MB991958, CAN bus line (h) or the power supply circuit to the ETACS-ECU may be faulty.
      G05385726Courtesy of MITSUBISHI MOTOR SALES OF AMERICA.
      ECU A CAN bus line (a) and power supply system to ECU A ECU A communicates with the scan tool MB991958 via CAN bus lines (a) and (b). Scan tool MB991958 judges that CAN bus line (b) is normal, because it can communicate with other ECUs. Possible trouble may be present in CAN bus line (a) or the power supply system to ECU A.
      G05385727Courtesy of MITSUBISHI MOTOR SALES OF AMERICA.
      ECU C CAN bus line (g) and power supply system to ECU C The ECU C communicates with scan tool MB991958 via CAN bus lines (b), (c), (d) and (g). Scan tool MB991958 judges that CAN bus lines (b), (c) and (d) are normal, because it can communicate with ECUs B and D. Possible trouble may be present in CAN bus line (g) or the power supply system to ECU C.
      G05385728Courtesy of MITSUBISHI MOTOR SALES OF AMERICA.
      ECU C and ECU D Trouble in CAN bus line (d) ECUs C and D communicate with scan tool MB991958 via CAN bus lines (b), (c), (d), (e) and (g). Scan tool MB991958 judges that CAN bus lines (b) and (c) are normal, because it can communicate with ECU B. Possible trouble may be present in CAN bus line (d), (e) or (g) or the power supply system to ECU C and ECU D. CAN bus line (d) is shared by ECUs C and D when they communicate with scan tool MB991958, so CAN bus line (d) is suspected as ultimate cause. CAN bus line (g) or (e) and power supply systems to ECU C or D are also suspected as second cause.
      G05385729Courtesy of MITSUBISHI MOTOR SALES OF AMERICA.
      ECU B and ECU D CAN bus line (e) or (f) or power supply system to ECU B or D ECUs B and D communicate with scan tool MB991958 via CAN bus lines (b), (c), (d), (e) and (f). Scan tool MB991958 judges that CAN bus lines (b), (c) and (d) are normal, because it can communicate with ECU C. Possible trouble may be present in CAN bus line (f) or (e) or the power supply system to ECU B or ECU D.
      G05385730Courtesy of MITSUBISHI MOTOR SALES OF AMERICA.
      All ECU (except ETACS-ECU) CAN bus line (b) The other ECUs except the ETACS-ECU use CAN bus lines (b) and (h) when they communicate with scan tool MB991958. It must be assumed that CAN bus line (b) is defective since the ETACS-ECU can communicate with scan tool MB991958.
      G05385731Courtesy of MITSUBISHI MOTOR SALES OF AMERICA.
  2. Pinpoint possible trouble spot according to diagnostic trouble code

    If diagnostic trouble code related to CAN communication is set as past trouble, isolate opens as described below.

    NOTE: If you pinpoint trouble spot according to diagnostic trouble code, you should use time-out diagnostic trouble code. Diagnostic trouble code related to failure information is set when the data to be set contains an error, so CAN bus line itself is probably normal.
    NOTE: Time-out diagnostic trouble codes are stored in each ECU memory individually. Therefore, it is possible that these diagnostic trouble codes have not been set simultaneously. If the trouble spot cannot be found when you diagnose by judging from multiple diagnostic trouble codes, check the communication lines between each ECU.
    POSSIBLE TROUBLE SPOT REFERENCE

    Diagnostic trouble code to be set Possible trouble spot Logic for narrowing down trouble spot
    Time-out diagnostic trouble code associated with ECU D is stored in ECU A, ECU B and ECU C. Trouble in CAN bus line (e) and power supply system to ECU D When time-out diagnostic trouble code associated with ECU D is stored in ECU A, B and C, or time-out diagnostic trouble code associated with ECUs A, B and C is stored in ECU D, or "bus off" diagnostic trouble code is stored in ECU D, CAN bus line (e) is suspected. When diagnostic trouble code is not stored in ECU D, the power supply to ECU D is suspected.
    G05385732Courtesy of MITSUBISHI MOTOR SALES OF AMERICA.
    Time-out diagnostic trouble code associated with ECUs A, B and C is stored in ECU D.
    "Bus off" diagnostic trouble code is stored in ECU D.
    Time-out diagnostic trouble code associated with ECU A is stored in ECUs B, C and D. Trouble in CAN bus line (a) or (c) and power supply system to ECU A. When time-out diagnostic trouble code associated with ECU A is stored in ECUs B, C and D, or time-out diagnostic trouble code associated with ECUs B, C and D is stored in ECU A, or "bus off" diagnostic trouble code is stored in ECU A, CAN bus line (a) or (c) is suspected. When diagnostic trouble code is not stored in ECU A, the power supply to ECU A is suspected.
    G05385733Courtesy of MITSUBISHI MOTOR SALES OF AMERICA.
    Time-out diagnostic trouble code associated with ECUs B, C and D is stored in ECU A.
    "Bus off" diagnostic trouble code is stored in ECU A.
    Time-out diagnostic trouble codes associated with ECUs C and D are stored in ECU A and ECU B. Trouble in CAN bus line (d) If time-out diagnostic trouble codes associated with ECUs C and D are stored in ECUs A and B, or time-out codes associated with ECUs A and B are stored in ECUs C and D, CAN bus line (d) is suspected. CAN bus line (g) or (e) and power supply systems to ECU C or D are also suspected as second cause.
    G05906912Courtesy of MITSUBISHI MOTOR SALES OF AMERICA.
    Time-out diagnostic trouble codes associated with ECUs A and B are stored in ECU C and ECU D.
    Time-out diagnostic trouble codes associated with ECUs A, B, C and D are stored in ETACS-ECU. Trouble in CAN bus line (b) It must be assumed that a fault was present in CAN bus line (b) when the ETACS-ECU has set a time-out diagnostic trouble code for ECU A, B, C or D.
    G05385731Courtesy of MITSUBISHI MOTOR SALES OF AMERICA.
    Time-out diagnostic trouble codes associated with ETACS-ECU is stored in ECU A, B, C and ECU D.