LEMON Manuals: Even more car manuals for everyone: 1960-2025
Home >> Mitsubishi >> 2010 >> Lancer Evolution GSR >> Repair and Diagnosis >> External Pages >> Different variant/trim >> Section 17 (Wireless Control Module (WCM) - Lancer) >> On-Vehicle Service >> Id Codes Registration Procedure >> Registration Using Scan Tool MB991958 (M.U.T.-III Sub Assembly) >> Notes
April 5, 2026: LEMON Manuals is launched! Read the announcement.

Registration Using Scan Tool MB991958 (M.U.T.-III Sub Assembly): Notes

WARNING: This page is about a different variant/trim than selected.

Required Special Tools: 

The ID codes necessary for the engine immobilizer system, the keyless entry system and the TPMS can be registered using the scan tool MB991958 (M.U.T.-III sub assembly). KOS and keyless operation key are indicated as F.A.S.T and F.A.S.T.-key respectively in the scan tool MB991958 (M.U.T.-III sub assembly) screen.

CAUTION: If the ignition key with transmitter is added or replaced, register the key (key ID), and then register the keyless ID again.
CAUTION: Do not register the ignition key registered for other vehicles.

SUPPLY UNIT LIST FOR INDIVIDUAL KEY 

INDIVIDUAL KEY AND SUPPLY UNIT LIST

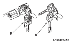
Ignition key (without transmitter) Ignition key (with transmitter)
G06666187Courtesy of MITSUBISHI MOTOR SALES OF AMERICA.
G06666188Courtesy of MITSUBISHI MOTOR SALES OF AMERICA.

KEY SUPPLY UNIT LIST FOR OTHER THAN INDIVIDUAL KEY 

KEY SUPPLY UNIT LIST

Full service key set <Vehicles with keyless entry system> Full service key set <Vehicles without keyless entry system> Handle lock service key set (A:Without transmitter, B:With transmitter)
G06666189Courtesy of MITSUBISHI MOTOR SALES OF AMERICA.
G06666190Courtesy of MITSUBISHI MOTOR SALES OF AMERICA.
G06666191Courtesy of MITSUBISHI MOTOR SALES OF AMERICA.
KEY SUPPLY UNIT LIST

Door service key set (LH), Door service key set (RH) <Vehicles without keyless entry system>
NOTE: Key (It can only be used for locking and unlocking, and it cannot start the engine.)
Trunk lid service key set <Vehicles without keyless entry system>
NOTE: Key (It can only be used for locking and unlocking, and it cannot start the engine.)
G06666192Courtesy of MITSUBISHI MOTOR SALES OF AMERICA.
G06666193Courtesy of MITSUBISHI MOTOR SALES OF AMERICA.
NOTE:
  • When re-registering the key (key ID and keyless ID), all the keys (key ID and keyless ID) registered before must be re-registered because all of them will be erased.
  • After registering the keys, make sure that the engine is started normally with all of the keys registered.

Screen flow of scan tool MB991958 (M.U.T.-III sub assembly)

Fig 1: Wireless Control Module - Diagnosis Flow Chart (1 Of 2)
G06666194Courtesy of MITSUBISHI MOTOR SALES OF AMERICA.
Fig 2: Wireless Control Module - Diagnosis Flow Chart (2 Of 2)
G06666195Courtesy of MITSUBISHI MOTOR SALES OF AMERICA.
CAUTION: To prevent damage to scan tool MB991958, always turn the ignition switch to the "LOCK" (OFF) position before connecting or disconnecting scan tool MB991958.

Connect the scan tool to the 16-pin data link connector as follows.

NOTE: For details on how to use the scan tool, refer to the "M.U.T.-III User's Manual."
  1. Start the scan tool MB991958 system on the personal computer and turn the ignition switch to the "ON" position.
    Fig 3: Connecting Special Tool MB991910 To Data Link Connector
    G06666196Courtesy of MITSUBISHI MOTOR SALES OF AMERICA.
  2. Select "F.A.S.T./IMMO/Keyless/TPMS" button from the "System Select" screen. Then, select the applicable option code item and push the OK button.
  3. Select "Special Function" on the next screen.
    Fig 4: Screen Display - Select "F.A.S.T./IMMO/Keyless/TPMS" Button
    G06666197Courtesy of MITSUBISHI MOTOR SALES OF AMERICA.
  4. Select the button of the operation to be performed from the "Special Function" screen.
    • "Tire Pressure Sensor ID Registration": When the TPMS transmitter is replaced and/or the WCM is replaced.
    • "Tire Pressure Sensor Check": When the tire pressure sensor data is checked.
    • "Tire Pressure Sensor ID Check": When the tire pressure sensor ID is checked.
    • "Key Registration": When the ignition key is replaced or added as a single unit and/or the WCM replaced.
    • "Key Registration (Barcode No.)": When the ignition key is replaced by the full service key set. The handle lock service key set is replaced by the piece.
    • "Keyless ID Reg.": When the ignition key is replaced or added as a single unit and the immobile and keyless key assembly.
    • "ENG Key Code Reg.": It doesn't use it.
    • "ENG Key Code & VIN Reg.": When the engine control module is replaced.
    • "Additional key registration": When the ignition key is added as a single unit.
      Fig 5: Screen Display - Special Function
      G06666198Courtesy of MITSUBISHI MOTOR SALES OF AMERICA.
      NOTE: For "ENG Key Code & VIN Reg," refer to PRECAUTIONS BEFORE SERVICE .
  5. After operation check, turn the ignition switch to the "LOCK" (OFF) position.
  6. Remove the scan tool MB991958.