LEMON Manuals: Even more car manuals for everyone: 1960-2025
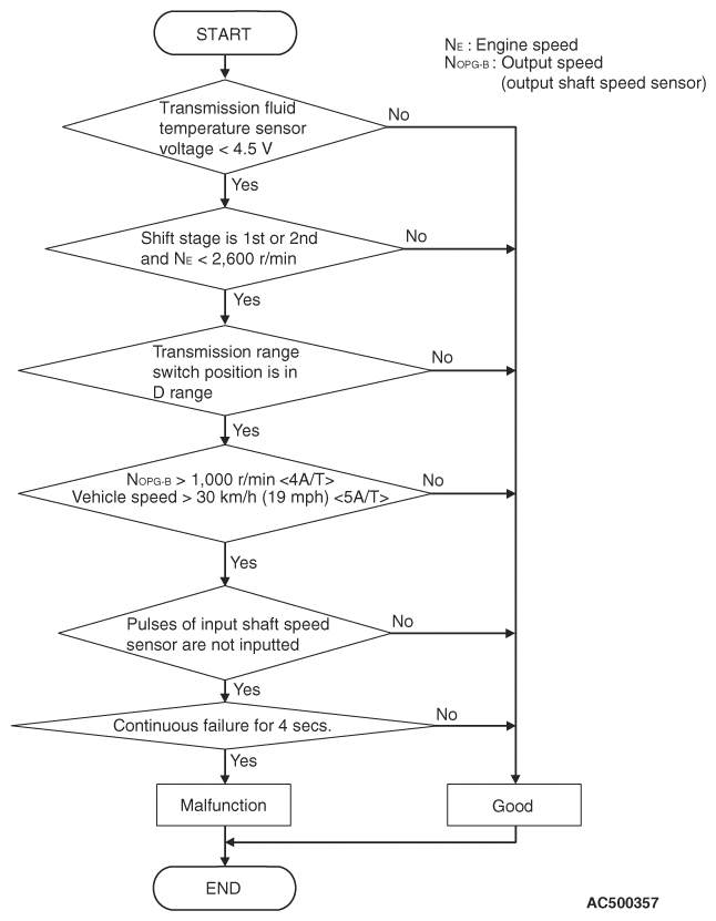
Home >> Mitsubishi >> 2011 >> Eclipse GS, Automatic >> Repair and Diagnosis >> Transmission >> Automatic Trans >> Automatic Transaxle System >> Automatic Transaxle Diagnosis >> Diagnostic Trouble Code Procedures >> DTC P1766 (P0715): Input Shaft Speed Sensor System (Short Circuit/Open Circuit) >> LOGIC FLOW CHARTS (Monitor Sequence)
April 5, 2026: LEMON Manuals is launched! Read the announcement.

LOGIC FLOW CHARTS (Monitor Sequence)

Fig 1: Logic Flow Charts (Monitor Sequence)
G06685030Courtesy of MITSUBISHI MOTOR SALES OF AMERICA.