LEMON Manuals: Even more car manuals for everyone: 1960-2025
Home >> Mitsubishi >> 2011 >> Eclipse GS, Automatic >> Repair and Diagnosis >> Transmission >> Automatic Trans >> Automatic Transaxle System >> Automatic Transaxle Diagnosis >> Diagnostic Trouble Code Procedures >> DTC P1773 (P0753): Low-Reverse Solenoid Valve >> LOGIC FLOW CHARTS (Monitor Sequence)
April 5, 2026: LEMON Manuals is launched! Read the announcement.

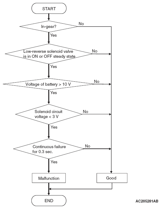
LOGIC FLOW CHARTS (Monitor Sequence)

Fig 1: Logic Flow Charts (Monitor Sequence)
G05102287Courtesy of MITSUBISHI MOTOR SALES OF AMERICA.