LEMON Manuals: Even more car manuals for everyone: 1960-2025
Home >> Mitsubishi >> 2011 >> Eclipse GS, Standard >> Repair and Diagnosis >> External Pages >> Different variant/trim >> Section 3 (Automatic Transaxle System) >> Automatic Transaxle Diagnosis >> Diagnostic Trouble Code Procedures >> DTC P1776 (P0768): Overdrive Solenoid Valve System >> LOGIC FLOW CHARTS (Monitor Sequence)
April 5, 2026: LEMON Manuals is launched! Read the announcement.

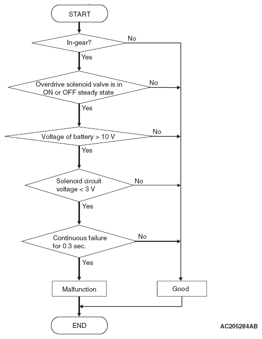
LOGIC FLOW CHARTS (Monitor Sequence)

WARNING: This page is about a different variant/trim than selected.
Fig 1: Logic Flow Charts (Monitor Sequence)
G05102359Courtesy of MITSUBISHI MOTOR SALES OF AMERICA.