LEMON Manuals: Even more car manuals for everyone: 1960-2025
Home >> Mitsubishi >> 2011 >> Eclipse GT >> Repair and Diagnosis (Single Page) >> Drivelines & Axles >> Wheel Hubs >> Front Axle >> Driveshaft Assembly >> Disassembly And Assembly <2.4L Engine> >> Assembly Service Points >> >>A<< Dynamic Damper <LH/RH>/Damper Band <RH>/TJ Boot Installation
April 5, 2026: LEMON Manuals is launched! Read the announcement.

>>A<< Dynamic Damper <LH/RH>/Damper Band <RH>/TJ Boot Installation

CAUTION: There should be no grease adhered to the rubber part of the dynamic damper.
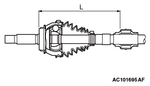
  1. Install the dynamic damper in the position (L) shown in the illustration.

    L: 260 ± 3 mm (10.2 ± 0.12 inches) <LH> 

    L: 406 ± 3 mm (16.0 ± 0.12 inches) <RH> 

  2. Secure the damper bands.
  3. Wrap plastic tape around the shaft spline, and then install the TJ boot band (small) and TJ boot.
    Fig 1: Identifying Dynamic Damper Dimension
    G06248771Courtesy of MITSUBISHI MOTOR SALES OF AMERICA.