LEMON Manuals: Even more car manuals for everyone: 1960-2025
Home >> Mitsubishi >> 2011 >> Lancer DE, Automatic CVT >> Repair and Diagnosis >> Transmission >> Transmission Control Systems >> Continuously Variable Transaxle On-Vehicle Service - Except Lancer Evolution >> Diagnosis >> Diagnostic Trouble Code Procedures >> DTC P0741: Abnormality in Lock-up Function >> LOGIC FLOW CHARTS (Monitor Sequence)
April 5, 2026: LEMON Manuals is launched! Read the announcement.

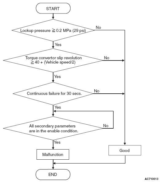
LOGIC FLOW CHARTS (Monitor Sequence)

Fig 1: Logic Flow Chart (Monitor Sequence)
G05431304Courtesy of MITSUBISHI MOTOR SALES OF AMERICA.