LEMON Manuals: Even more car manuals for everyone: 1960-2025
Home >> Mitsubishi >> 2012 >> Lancer ES, 4D Hatchback >> Repair and Diagnosis >> External Pages >> Different variant/trim >> Section 36 (Local Interconnect Network (Lin) - Lancer Evolution) >> Troubleshooting >> Diagnostic Trouble Code Procedures >> DTC U0215: P/W SW (DR) LIN Timeout >> Notes
April 5, 2026: LEMON Manuals is launched! Read the announcement.

DTC U0215: P/W SW (DR) LIN Timeout: Notes

WARNING: This page is about a different variant/trim than selected.
CAUTION: Before replacing the ECU, ensure that the communication circuit is normal.
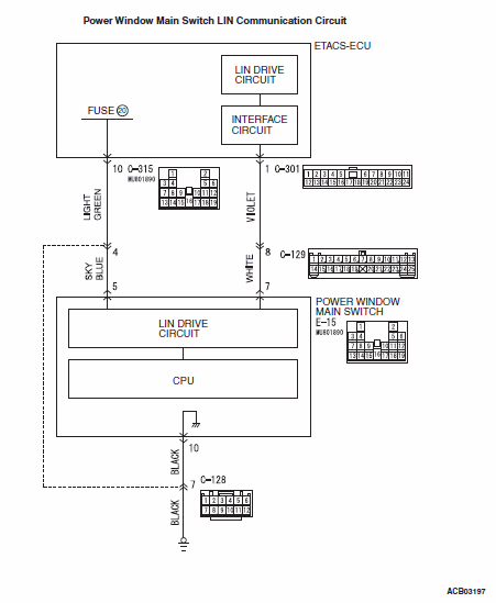
Fig 1: Power Window Main Switch LIN Circuit Diagram
G00528494Courtesy of MITSUBISHI MOTOR SALES OF AMERICA.
Fig 2: Locating Power Window Main Switch Connectors
G00528495Courtesy of MITSUBISHI MOTOR SALES OF AMERICA.