LEMON Manuals: Even more car manuals for everyone: 1960-2025
Home >> Mitsubishi >> 2012 >> Lancer Evolution GSR >> Repair and Diagnosis >> External Pages >> Different variant/trim >> Section 13 (Basic Brake System - Lancer) >> On-Vehicle Service >> Brake Disc Check >> Brake Disc Thickness Check
April 5, 2026: LEMON Manuals is launched! Read the announcement.

Brake Disc Thickness Check

WARNING: This page is about a different variant/trim than selected.
  1. Remove contaminants or corrosion from the brake disc surface.
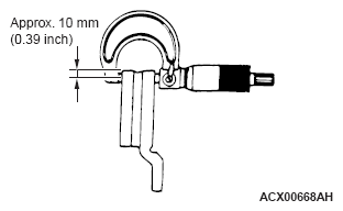
  2. Use a micrometer to measure the brake disc thickness at minimum eight points which are 10 mm (0.39 inch) inward from its circumference.

    Standard value: 

    26.0 mm (1.02 inches) < Front (Except RALLIART) > 

    24.0 mm (0.94 inch) < Front (RALLIART) > 

    10.0 mm (0.39 inch) < Rear > 

    Limit: 

    24.4 mm (0.96 inch) < Front (Except RALLIART) > 

    22.4 mm (0.88 inch) < Front (RALLIART) > 

    8.4 mm (0.33 inch) < Rear > 

    Fig 1: Measuring Brake Disc Thickness Using Micrometer
    G07028273Courtesy of MITSUBISHI MOTOR SALES OF AMERICA.
  3. If the brake disc thickness is worn beyond the limit value at more than one point, replace the brake disc and check its run-out.